Список узлов

C2 375/400

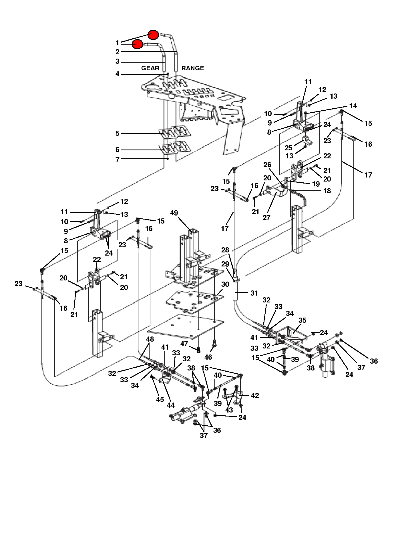
C2 375/400 - Правая консоль - управление механической трансмиссией

Приводы C2.05.000
Кабина в сборе/Наклейки и внутренняя отделка C2.09.000
Кабина в сборе - Окна и двери 8CAB11
Дверь кабины в сборе 8CAB12
Кабина в сборе - Стеклоочиститель в сборе 8CAB13
Интерьер кабины - Звукоизоляция 8CAB14
Интерьер кабины - Задние нижние компоненты электрооборудования 8CAB15
Крыша кабины - Верхние органы управления 8CRA12a
Крыша кабины - Громкоговорители в сборе 8CRA13
Наклейки, начиная с 305100 8DCL13
Наклейки, начиная с 305120 8DCL14
Автоматическое управление температурой 8HAC12
Передняя консоль управления 8MOP11
Передняя консоль и облицовка рулевой колонки 8MOP12
Передняя консоль - Ножной акселератор 8MOP13
Правая консоль - электроуправление гидрооборудованием SB33 8OPC06
Правая консоль - опции механической/автоматической трансмиссиии 8OPC10
Правая консоль - управление механической трансмиссией 8OPC11a
Правая консоль - управление механической трансмиссией 8OPC11c
Правая консоль - ручное управление гидрооборудованием 8OPC13
Сиденье в сборе/Опции и установка 8STA11
Приспособления и аксессуары C2.10.000

Поиск по деталям узла Детали узла

Сроки доставки и цены будут отображаться после авторизации

Цены и корзина будут доступны после авторизации

Поз. Код Чертежный номер Кол-во позиций Начало, дата Окончание, дата Наименование
1 9706938 101406696 9706938
Номер позиции: 1
Кол-во позиций: 2
Начало, дата: -
Окончание, дата: -
101406696
2 РЫЧАГ ПЕРЕКЛЮЧЕНИЯ (КРАСНЫЙ)
Корзина будет доступна
после авторизации
2 86033064 101572168 86033064
Номер позиции: 2
Кол-во позиций: 1
Начало, дата: -
Окончание, дата: -
101572168
1 РЫЧАГ - ПЕРЕКЛЮЧАТЕЛЬ В СБОРЕ, ННР L4WD
Корзина будет доступна
после авторизации
3 86033063 101572167 86033063
Номер позиции: 3
Кол-во позиций: 1
Начало, дата: -
Окончание, дата: -
101572167
1 РЫЧАГ - ПЕРЕКЛЮЧЕНИЕ ПЕРЕДАЧ В СБОРЕ, ННР L4WD
Корзина будет доступна
после авторизации
4 00084360 101572205 00084360
Номер позиции: 4
Кол-во позиций: 4
Начало, дата: -
Окончание, дата: -
101572205
4 ВИНТ - ШЕСТИГРАННИК, РАЗРЕЗНОЙ, №10Х3,8, ТИП АВ
Корзина будет доступна
после авторизации
5 86039401 101572207 86039401
Номер позиции: 5
Кол-во позиций: 1
Начало, дата: -
Окончание, дата: -
101572207
1
Для выбора подходящей к вашей технике детали введите в поиск код продукта или свяжитесь с дилером
НАПРАВЛЯЮЩАЯ ШТАНГА, РЫЧАГ ПЕРЕКЛЮЧЕНИЯ ПЕРЕДАЧ (ЧЕРН ПОЛИ.)
Корзина будет доступна
после авторизации
5 86018620 102331953 86018620
Номер позиции: 5
Кол-во позиций: 1
Начало, дата: -
Окончание, дата: -
102331953
1
Для выбора подходящей к вашей технике детали введите в поиск код продукта или свяжитесь с дилером
Накладка переключателя передач
Корзина будет доступна
после авторизации
6 86038503 101572209 86038503
Номер позиции: 6
Кол-во позиций: 1
Начало, дата: -
Окончание, дата: -
101572209
1
Для выбора подходящей к вашей технике детали введите в поиск код продукта или свяжитесь с дилером
ПЛАСТИНА - ШЕСТЕРНЯ, ПЕРЕКЛЮЧАТЕЛЬ (ЧЕРНАЯ)
Корзина будет доступна
после авторизации
6 86018627 102335857 86018627
Номер позиции: 6
Кол-во позиций: 1
Начало, дата: -
Окончание, дата: -
102335857
1
Для выбора подходящей к вашей технике детали введите в поиск код продукта или свяжитесь с дилером
Накладка переключателя передач
Корзина будет доступна
после авторизации
7 09804276 101572210 09804276
Номер позиции: 7
Кол-во позиций: 4
Начало, дата: -
Окончание, дата: -
101572210
4 Гайка шестигранная фланцевая, M6 Cl-8 Pl
Корзина будет доступна
после авторизации
8 86017944 102331952 86017944
Номер позиции: 8
Кол-во позиций: 2
Начало, дата: -
Окончание, дата: -
102331952
2 Крестовина подшипника
Корзина будет доступна
после авторизации
9 9671714 102331573 9671714
Номер позиции: 9
Кол-во позиций: 2
Начало, дата: -
Окончание, дата: -
102331573
2 Болт шестигранный
Корзина будет доступна
после авторизации
10 86025725 101572212 86025725
Номер позиции: 10
Кол-во позиций: 2
Начало, дата: -
Окончание, дата: -
101572212
2 КОЛПАЧКОВЫЙ ВИНТ- ШЕСТИГРАННИК, M5 x 40 8.8p
Корзина будет доступна
после авторизации
11 86017936 101572213 86017936
Номер позиции: 11
Кол-во позиций: 2
Начало, дата: -
Окончание, дата: -
101572213
2 УЗЕЛ - ЛИТЬЕ, ВЕРХНЕЕ КРЕПЛЕНИЕ ТРАНСМИССИИ
Корзина будет доступна
после авторизации
12 86511996 101572214 86511996
Номер позиции: 12
Кол-во позиций: 2
Начало, дата: -
Окончание, дата: -
101572214
2 КОНТРГАЙКА - НЕЙЛОН М5 КЛАСС-8 Пл
Корзина будет доступна
после авторизации
13 09804277 101571831 09804277
Номер позиции: 13
Кол-во позиций: 3
Начало, дата: -
Окончание, дата: -
101571831
3 ШЕСТИГРАННАЯ ГАЙКА, ФЛАНЦЕВАЯ, M8 КЛАСС-8 Пл
Корзина будет доступна
после авторизации
14 00120061 101572215 00120061
Номер позиции: 14
Кол-во позиций: 1
Начало, дата: -
Окончание, дата: -
101572215
1 КОЛПАЧКОВЫЙ ВИНТ- ШЕСТИГРАННИК M8 x 60мм Cl-8.8 Пл
Корзина будет доступна
после авторизации
15 86020205 102331988 86020205
Номер позиции: 15
Кол-во позиций: 8
Начало, дата: -
Окончание, дата: -
102331988
8 Шарнир сферический 5/16
Корзина будет доступна
после авторизации
16 86019053 101572217 86019053
Номер позиции: 16
Кол-во позиций: 4
Начало, дата: -
Окончание, дата: -
101572217
4 U-образный болт, 0.25x25.40x14.22x16.0
Корзина будет доступна
после авторизации
17 86032533 101572218 86032533
Номер позиции: 17
Кол-во позиций: 2
Начало, дата: -
Окончание, дата: -
101572218
2 КАБЕЛЬ - ПЕРЕКЛЮЧЕНИЕ ДИАПАЗОНОВ, 5/16-24 Unf-2A, ДЛИНА-2100ММ
Корзина будет доступна
после авторизации
19 86035778 100902866 86035778
Номер позиции: 19
Кол-во позиций: 1
Начало, дата: -
Окончание, дата: -
100902866
1 ПЛАСТИНА - УСИЛЕНИЕ, ТОЛЩИНА 0,075", НИЖНИЙ ШАРНИР ПЕРЕКЛЮЧЕНИЯ
Корзина будет доступна
после авторизации
20 9790555 102331725 9790555
Номер позиции: 20
Кол-во позиций: 8
Начало, дата: -
Окончание, дата: -
102331725
8 Шайба 0,469X0,750X0,095" HDN
Корзина будет доступна
после авторизации
21 86505834 101572219 86505834
Номер позиции: 21
Кол-во позиций: 8
Начало, дата: -
Окончание, дата: -
101572219
8 КОЛПАЧКОВЫЙ ВИНТ- ШЕСТИГРАННИК, 0.44 x 1.25G Gr8 Пл
Корзина будет доступна
после авторизации
22 86017935 102331955 86017935
Номер позиции: 22
Кол-во позиций: 2
Начало, дата: -
Окончание, дата: -
102331955
2 Нижняя вилка
Корзина будет доступна
после авторизации
23 09626558 101572221 09626558
Номер позиции: 23
Кол-во позиций: 8
Начало, дата: -
Окончание, дата: -
101572221
8 ШЕСТИГРАННАЯ ГАЙКА,СТОПОРНАЯ, ФЛАНЦЕВАЯ 0.25 Gr-5
Корзина будет доступна
после авторизации
24 86531356 102331945 86531356
Номер позиции: 24
Кол-во позиций: 8
Начало, дата: -
Окончание, дата: -
102331945
8 Гайка стопорная стальная
Корзина будет доступна
после авторизации
25 86035764 101572224 86035764
Номер позиции: 25
Кол-во позиций: 1
Начало, дата: -
Окончание, дата: -
101572224
1
Для выбора подходящей к вашей технике детали введите в поиск код продукта или свяжитесь с дилером
Муфта с раздвижными колодками тормозного переключателя (обработанная сталь)
Корзина будет доступна
после авторизации
25 86029302 102332038 86029302
Номер позиции: 25
Кол-во позиций: 1
Начало, дата: -
Окончание, дата: -
102332038
1
Для выбора подходящей к вашей технике детали введите в поиск код продукта или свяжитесь с дилером
Кронштейн
Корзина будет доступна
после авторизации
26 00087310 101572226 00087310
Номер позиции: 26
Кол-во позиций: 1
Начало, дата: -
Окончание, дата: -
101572226
1 ШЕСТИГРАННАЯ КОНТРГАЙКА, 0.56Unf Gr-2 Пл
Корзина будет доступна
после авторизации
27 86035765 100902882 86035765
Номер позиции: 27
Кол-во позиций: 1
Начало, дата: -
Окончание, дата: -
100902882
1 КРОНШТЕЙН - ПЕРЕКЛЮЧАТЕЛЬ ТРОСА СЦЕПЛЕНИЯ (СТАЛЬНОЕ ПОКРЫТИЕ)
Корзина будет доступна
после авторизации
28 86012470 102332033 86012470
Номер позиции: 28
Кол-во позиций: 1
Начало, дата: -
Окончание, дата: -
102332033
1 Шланг изолирующий 44.0LG
Корзина будет доступна
после авторизации
29 00002747 101571202 00002747
Номер позиции: 29
Кол-во позиций: 0
Начало, дата: -
Окончание, дата: -
101571202
0 Стяжка нейлоновая, L-144
Корзина будет доступна
после авторизации
30 86017942 102331957 86017942
Номер позиции: 30
Кол-во позиций: 1
Начало, дата: -
Окончание, дата: -
102331957
1 Пластина
Корзина будет доступна
после авторизации
31 09707360 101572131 09707360
Номер позиции: 31
Кол-во позиций: 1
Начало, дата: -
Окончание, дата: -
101572131
1 РУКАВ - ЗАЩИТА, НЕЙЛОН, ШИРИНА 92ММ, ДЛИНА 700ММ
Корзина будет доступна
после авторизации
33 86012106 100899376 86012106
Номер позиции: 33
Кол-во позиций: 8
Начало, дата: -
Окончание, дата: -
100899376
8 ШАЙБА - СТАЛЬ, ТОЛЩИНА 3ММ
Корзина будет доступна
после авторизации
34 86528128 102332041 86528128
Номер позиции: 34
Кол-во позиций: 4
Начало, дата: -
Окончание, дата: -
102332041
4 Кольцо уплотняющее
Корзина будет доступна
после авторизации
36 86020409 102332036 86020409
Номер позиции: 36
Кол-во позиций: 4
Начало, дата: -
Окончание, дата: -
102332036
4 Гайка стопорная
Корзина будет доступна
после авторизации
37 9672981 102332031 9672981
Номер позиции: 37
Кол-во позиций: 4
Начало, дата: -
Окончание, дата: -
102332031
4 Шайба
Корзина будет доступна
после авторизации
38 86018875 102332035 86018875
Номер позиции: 38
Кол-во позиций: 4
Начало, дата: -
Окончание, дата: -
102332035
4 Шарнир соединительный
Корзина будет доступна
после авторизации
39 86018138 101572233 86018138
Номер позиции: 39
Кол-во позиций: 2
Начало, дата: -
Окончание, дата: -
101572233
2 ТЯГА - РЕЗЬБОВАЯ, МЕХАНИЗМ ПЕРЕКЛЮЧЕНИЯ, ТРАНСМИССИЯ
Корзина будет доступна
после авторизации
40 00087307 101572234 00087307
Номер позиции: 40
Кол-во позиций: 4
Начало, дата: -
Окончание, дата: -
101572234
4 ШЕСТИГРАННАЯ КОНТРГАЙКА 5/16 Пл
Корзина будет доступна
после авторизации
41 86017980 102332034 86017980
Номер позиции: 41
Кол-во позиций: 4
Начало, дата: -
Окончание, дата: -
102332034
4 Прокладка компрессора
Корзина будет доступна
после авторизации
42 86029299 100895876 86029299
Номер позиции: 42
Кол-во позиций: 1
Начало, дата: -
Окончание, дата: -
100895876
1 КРОНШТЕЙН - ШТЫРЬ, КОНСОЛЬ ПЕРЕКЛЮЧАТЕЛЯ (КРАСНАЯ)
Корзина будет доступна
после авторизации
43 09804268 101572236 09804268
Номер позиции: 43
Кол-во позиций: 2
Начало, дата: -
Окончание, дата: -
101572236
2 Винт с шестигранной головкой и фланцем, M12 x 40мм Cl-8.8 Пл
Корзина будет доступна
после авторизации
44 86035805 100902861 86035805
Номер позиции: 44
Кол-во позиций: 1
Начало, дата: -
Окончание, дата: -
100902861
1 КРОНШТЕЙН - КРЕПЛЕНИЕ, СВАРНАЯ КОНСТРУКЦИЯ ТРОС РЫЧАГА ПЕРЕКЛЮЧЕНИЯ ПЕРЕДАЧ (КРАСНЫЙ)
Корзина будет доступна
после авторизации
45 09706685 101572237 09706685
Номер позиции: 45
Кол-во позиций: 2
Начало, дата: -
Окончание, дата: -
101572237
2 ШЕСТИГРАННАЯ ГАЙКА КЛАСС8 M12 x 1.75
Корзина будет доступна
после авторизации
46 9804262 102331219 9804262
Номер позиции: 46
Кол-во позиций: 4
Начало, дата: -
Окончание, дата: -
102331219
4 Винт с шестигранной головкой и фланцем - M10 x 1,5 x 30 мм, Cl-8.8 Pl
Корзина будет доступна
после авторизации
47 00412356 101572238 00412356
Номер позиции: 47
Кол-во позиций: 2
Начало, дата: -
Окончание, дата: -
101572238
2 КОЛПАЧКОВЫЙ ВИНТ- ФЛАНЦЕВЫЙ ШЕСТИГРАННИК M6 x 20мм
Корзина будет доступна
после авторизации
49 86032370 101572239 86032370
Номер позиции: 49
Кол-во позиций: 1
Начало, дата: -
Окончание, дата: -
101572239
1 КРОНШТЕЙН - КРЕПЛЕНИЕ, СВАРНАЯ КОНСТРУКЦИЯ РЫЧАЖНЫЙ МЕХАНИЗМ ПЕРЕКЛЮЧЕНИЯ ПЕРЕДАЧ (ЧЕРНЫЙ)
Корзина будет доступна
после авторизации
Запрос на смену дилера
Сообщение для дилера
Заявка на ремонт