Список узлов

RSM 161

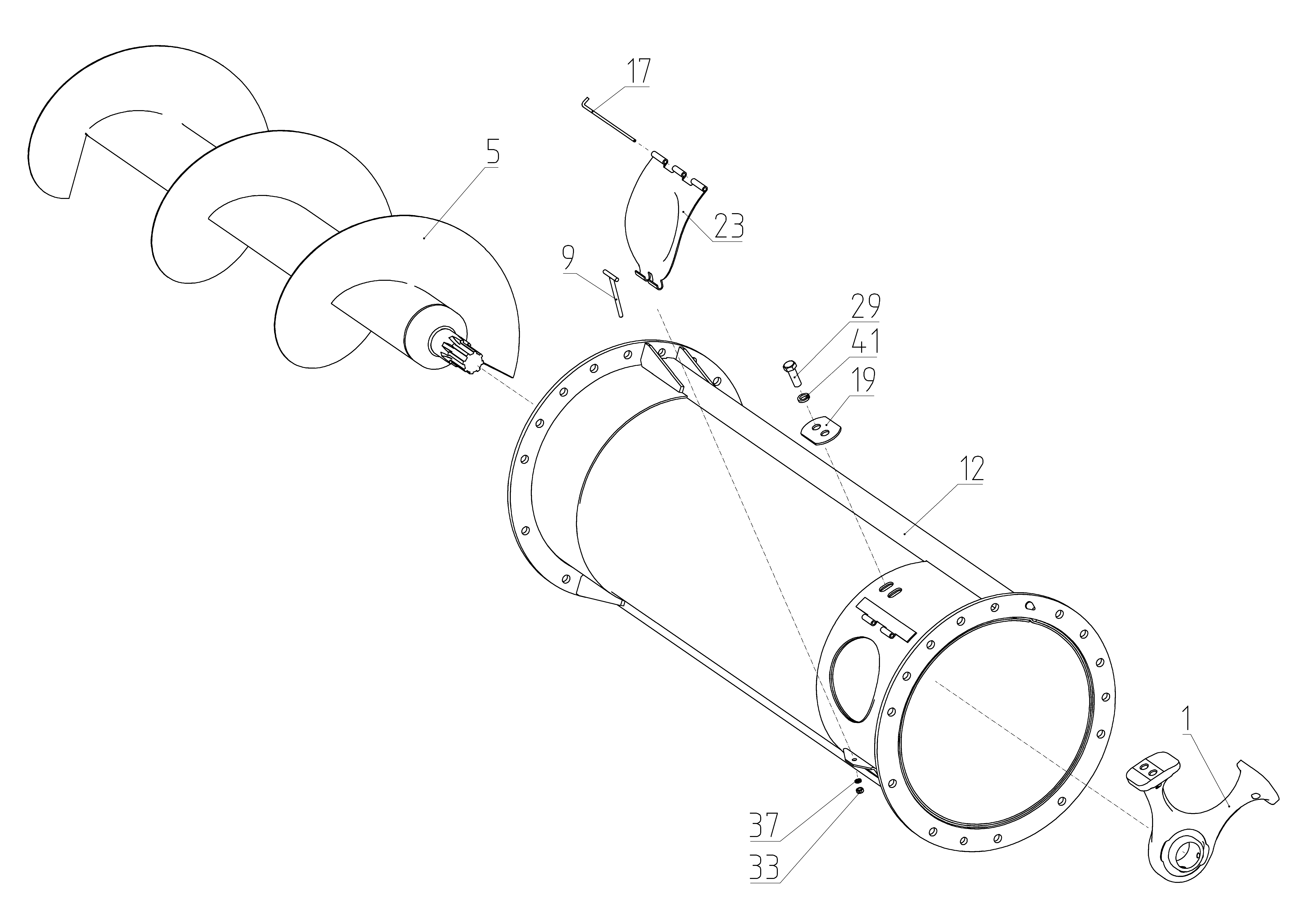
RSM 161 - Шнек

Мост задний 161.02.00.000Ф
Камера наклонная 161.03.00.000Ф
Мост передний 161.04.00.000Ф
Установка моторная 161.05.00.000Ф
Место рабочее 161.06.00.000Ф
Площадка 161.07.00.000Ф
Гидрооборудование 161.09.00.000Ф
Электрооборудование 161.10.00.000Ф
Очистка 161.11.00.000Ф
Измельчитель-разбрасыватель 161.14.00.000Ф
Блок молотильный 161.15.00.000Ф
Каркас 161.30.00.000Ф
Бункер 161.45.00.000Ф
Устройства транспортирующие 161.50.00.000Ф
Приводы устройства транспортирующего 161.50.05.000Ф
Капоты 161.56.00.000Ф
Дополнительное оборудование 161.77.00.000Ф

Поиск по деталям узла Детали узла

Сроки доставки и цены будут отображаться после авторизации

Цены и корзина будут доступны после авторизации

Поз. Код Чертежный номер Кол-во позиций Начало, дата Окончание, дата Наименование
1 181.55.01.220 101816683 181.55.01.220
Номер позиции: 1
Кол-во позиций: 1
Начало, дата: 01.02.2014
Окончание, дата: -
101816683
1 01.02.2014 Опора
5 181.55.02.010 101808159 181.55.02.010
Номер позиции: 5
Кол-во позиций: 1
Начало, дата: 01.02.2014
Окончание, дата: -
101808159
1 01.02.2014 Шнек
Корзина будет доступна
после авторизации
9 44-2-22-1-1-1 100026581 44-2-22-1-1-1
Номер позиции: 9
Кол-во позиций: 1
Начало, дата: 01.02.2014
Окончание, дата: -
100026581
1 01.02.2014 Тяга
Корзина будет доступна
после авторизации
12 145.48.01.110 100635285 145.48.01.110
Номер позиции: 12
Кол-во позиций: 1
Начало, дата: 01.02.2014
Окончание, дата: -
100635285
1 01.02.2014 Кожух
Корзина будет доступна
после авторизации
17 65-60530 100037374 65-60530
Номер позиции: 17
Кол-во позиций: 1
Начало, дата: 01.02.2014
Окончание, дата: -
100037374
1 01.02.2014 Ось петли
Корзина будет доступна
после авторизации
19 145.48.01.416 100635515 145.48.01.416
Номер позиции: 19
Кол-во позиций: 2
Начало, дата: 01.02.2014
Окончание, дата: -
100635515
2 01.02.2014 Накладка
Корзина будет доступна
после авторизации
23 145.48.01.417 100634842 145.48.01.417
Номер позиции: 23
Кол-во позиций: 1
Начало, дата: 01.02.2014
Окончание, дата: -
100634842
1 01.02.2014 Крышка
Корзина будет доступна
после авторизации
29 М12-6gx35.88.35.019 100094162 М12-6gx35.88.35.019
Номер позиции: 29
Кол-во позиций: 4
Начало, дата: 01.02.2014
Окончание, дата: -
100094162
4 01.02.2014
Для выбора подходящей к вашей технике детали введите в поиск код продукта или свяжитесь с дилером
Болт ГОСТ 7798-70
Корзина будет доступна
после авторизации
29 М12x35-8.8-zinc plated DIN 933 101701659 М12x35-8.8-zinc plated DIN 933
Номер позиции: 29
Кол-во позиций: 4
Начало, дата: 01.02.2014
Окончание, дата: -
101701659
4 01.02.2014
Для выбора подходящей к вашей технике детали введите в поиск код продукта или свяжитесь с дилером
Болт с шестигранной головкой
Корзина будет доступна
после авторизации
33 М6-6Н.6.019 100007661 М6-6Н.6.019
Номер позиции: 33
Кол-во позиций: 1
Начало, дата: 01.02.2014
Окончание, дата: -
100007661
1 01.02.2014
Для выбора подходящей к вашей технике детали введите в поиск код продукта или свяжитесь с дилером
Гайка ГОСТ 5915-70
Корзина будет доступна
после авторизации
33 M6-8-zinc plated DIN 934 101701161 M6-8-zinc plated DIN 934
Номер позиции: 33
Кол-во позиций: 2
Начало, дата: 01.02.2014
Окончание, дата: -
101701161
2 01.02.2014
Для выбора подходящей к вашей технике детали введите в поиск код продукта или свяжитесь с дилером
Гайка шестигранная
Корзина будет доступна
после авторизации
37 6Т 65Г 019 100141374 6Т 65Г 019
Номер позиции: 37
Кол-во позиций: 1
Начало, дата: 01.02.2014
Окончание, дата: -
100141374
1 01.02.2014 Шайба ГОСТ 6402-70
Корзина будет доступна
после авторизации
41 12Т 65Г 019 100008165 12Т 65Г 019
Номер позиции: 41
Кол-во позиций: 4
Начало, дата: 01.02.2014
Окончание, дата: -
100008165
4 01.02.2014 Шайба ГОСТ 6402-70
Корзина будет доступна
после авторизации
Запрос на смену дилера
Сообщение для дилера
Заявка на ремонт