Список узлов

RSM 161

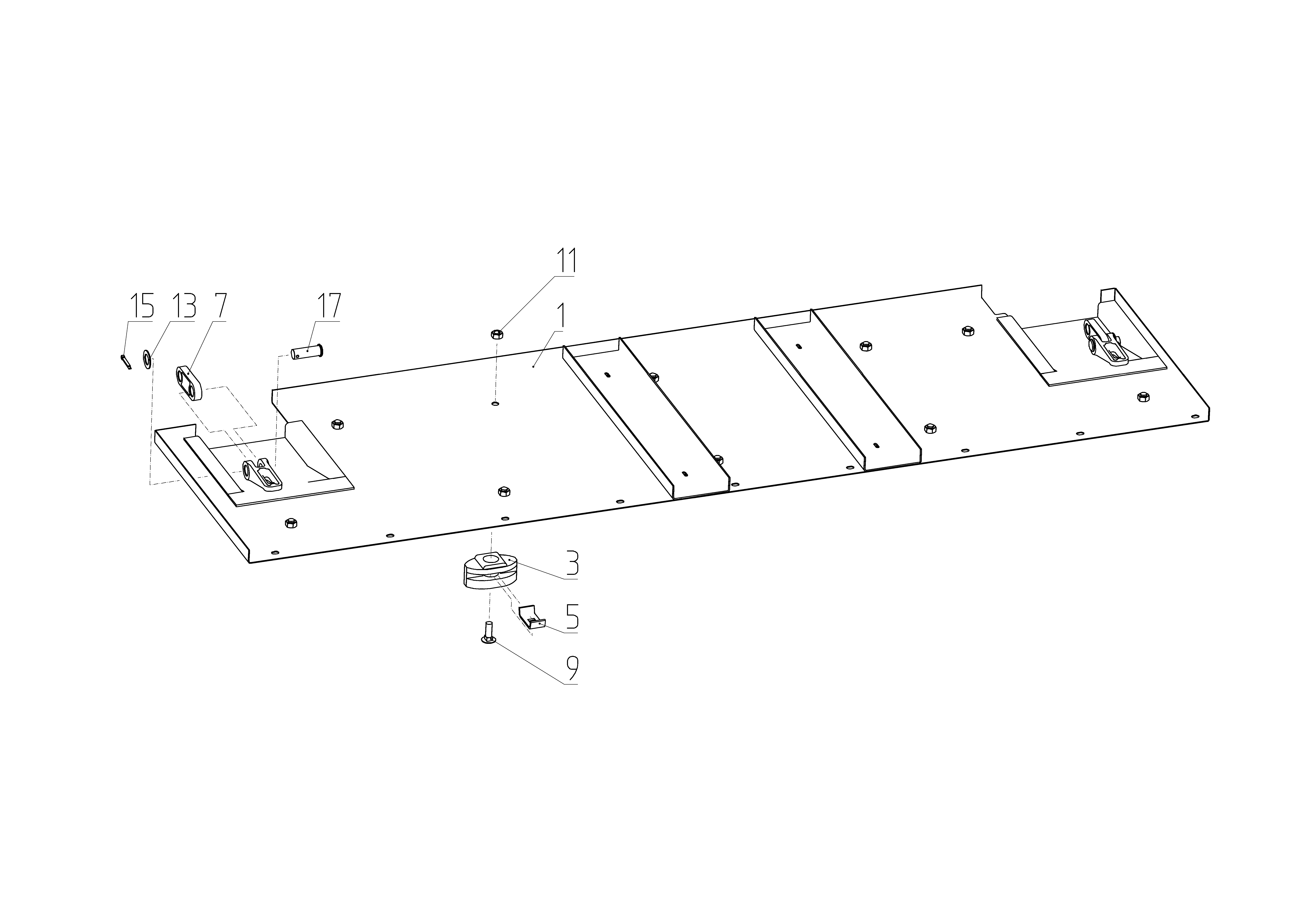
RSM 161 - Дно

Мост задний 161.02.00.000Ф
Камера наклонная 161.03.00.000Ф
Мост передний 161.04.00.000Ф
Установка моторная 161.05.00.000Ф
Место рабочее 161.06.00.000Ф
Площадка 161.07.00.000Ф
Гидрооборудование 161.09.00.000Ф
Электрооборудование 161.10.00.000Ф
Очистка 161.11.00.000Ф
Измельчитель-разбрасыватель 161.14.00.000Ф
Блок молотильный 161.15.00.000Ф
Каркас 161.30.00.000Ф
Бункер 161.45.00.000Ф
Основание 161.45.01.000Ф
Строение верхнее 161.45.02.000Ф
Устройства транспортирующие 161.50.00.000Ф
Капоты 161.56.00.000Ф
Дополнительное оборудование 161.77.00.000Ф

Поиск по деталям узла Детали узла

Сроки доставки и цены будут отображаться после авторизации

Цены и корзина будут доступны после авторизации

Поз. Код Чертежный номер Кол-во позиций Начало, дата Окончание, дата Наименование
1 161.46.04.060 101585172 161.46.04.060
Номер позиции: 1
Кол-во позиций: 1
Начало, дата: 01.07.2014
Окончание, дата: -
101585172
1 01.07.2014 Дно
Корзина будет доступна
после авторизации
3 РСМ-10.01.45.007А 100044081 РСМ-10.01.45.007А
Номер позиции: 3
Кол-во позиций: 10
Начало, дата: 01.07.2014
Окончание, дата: -
100044081
10 01.07.2014 Опора
Корзина будет доступна
после авторизации
5 РСМ-10.01.45.506А 100024879 РСМ-10.01.45.506А
Номер позиции: 5
Кол-во позиций: 10
Начало, дата: 01.07.2014
Окончание, дата: -
100024879
10 01.07.2014 Скоба
Корзина будет доступна
после авторизации
7 54-30168 100044082 54-30168
Номер позиции: 7
Кол-во позиций: 2
Начало, дата: 01.07.2014
Окончание, дата: -
100044082
2 01.07.2014 Рычаг
Корзина будет доступна
после авторизации
9 М10х30.46.019 100169205 М10х30.46.019
Номер позиции: 9
Кол-во позиций: 10
Начало, дата: 01.07.2014
Окончание, дата: -
100169205
10 01.07.2014 Болт ГОСТ 7802-81
Корзина будет доступна
после авторизации
11 М10-6Н.6.019 100007663 М10-6Н.6.019
Номер позиции: 11
Кол-во позиций: 10
Начало, дата: 01.07.2014
Окончание, дата: -
100007663
10 01.07.2014
Для выбора подходящей к вашей технике детали введите в поиск код продукта или свяжитесь с дилером
Гайка ГОСТ 5915-70
Корзина будет доступна
после авторизации
11 M10-8-zinc plated DIN 934 101701171 M10-8-zinc plated DIN 934
Номер позиции: 11
Кол-во позиций: 10
Начало, дата: 01.07.2014
Окончание, дата: -
101701171
10 01.07.2014
Для выбора подходящей к вашей технике детали введите в поиск код продукта или свяжитесь с дилером
Гайка шестигранная
Корзина будет доступна
после авторизации
11 M10-6-zinc plated 101701172 M10-6-zinc plated
Номер позиции: 11
Кол-во позиций: 10
Начало, дата: 01.07.2014
Окончание, дата: -
101701172
10 01.07.2014
Для выбора подходящей к вашей технике детали введите в поиск код продукта или свяжитесь с дилером
Гайка шестигранная DIN 934
Корзина будет доступна
после авторизации
13 C.16х1,4.01.019 100094560 C.16х1,4.01.019
Номер позиции: 13
Кол-во позиций: 2
Начало, дата: 01.07.2014
Окончание, дата: -
100094560
2 01.07.2014
Для выбора подходящей к вашей технике детали введите в поиск код продукта или свяжитесь с дилером
Шайба ГОСТ 11371-78
Корзина будет доступна
после авторизации
13 16x22x1,4-zinc plated 101812042 16x22x1,4-zinc plated
Номер позиции: 13
Кол-во позиций: 2
Начало, дата: 01.07.2014
Окончание, дата: -
101812042
2 01.07.2014
Для выбора подходящей к вашей технике детали введите в поиск код продукта или свяжитесь с дилером
Шайба пригоночная DIN 988
Корзина будет доступна
после авторизации
15 4x25.019 100095780 4x25.019
Номер позиции: 15
Кол-во позиций: 2
Начало, дата: 01.07.2014
Окончание, дата: -
100095780
2 01.07.2014
Для выбора подходящей к вашей технике детали введите в поиск код продукта или свяжитесь с дилером
Шплинт ГОСТ 397-79
Корзина будет доступна
после авторизации
15 4x25-St-zinc plated 101701152 4x25-St-zinc plated
Номер позиции: 15
Кол-во позиций: 2
Начало, дата: 01.07.2014
Окончание, дата: -
101701152
2 01.07.2014
Для выбора подходящей к вашей технике детали введите в поиск код продукта или свяжитесь с дилером
Шплинт DIN 94
Корзина будет доступна
после авторизации
17 6-16 b12x45.35.Ц9.хр 100130488 6-16 b12x45.35.Ц9.хр
Номер позиции: 17
Кол-во позиций: 2
Начало, дата: 01.07.2014
Окончание, дата: -
100130488
2 01.07.2014 Ось ГОСТ 9650-80
Корзина будет доступна
после авторизации
Запрос на смену дилера
Сообщение для дилера
Заявка на ремонт