RSM 161
Список узлов
RSM 161
RSM 161 - Устройство домолачивающее
Мост задний
161.02.00.000Ф
Балка моста
161.02.03.000Ф
Тяга рулевая
161.02.02.450
Мост управляемый ведущий
ROST005
Мост управляемый ведущий
ROST009
Мост в сборе регулируемый
ROST014
Мост в сборе регулируемый
ROST014
Опора
161.02.02.250
Тяга
161.02.02.270
Тяга
161.02.02.270
Тяга
161.02.02.270
Тяга
161.02.02.270
Тяга
161.02.02.270-01
Тяга
161.02.02.270-01
Тяга
161.02.02.270-01
Кулак поворотный
A120003D2N6
Кулак поворотный
161.02.02.810-01
Кулак поворотный
A120003S2N6
Колесо ведомое
161.02.04.000Ф
Колесо управляемое
161.02.02.020
Колесо управляемое
161.02.02.020
Колесо управляемое
161.02.02.020
Колесо управляемое
161.02.02.030
Колесо управляемое
161.02.02.030
Колесо управляемое
161.02.02.030
Колесо управляемое
161.02.02.030
Колесо управляемое
161.02.02.050
Колесо управляемое
161.02.02.460
Колесо управляемое
181.02.02.750
Колесо управляемое
161.02.02.020-01
Колесо управляемое
161.02.02.020-01
Колесо управляемое
161.02.02.020-01
Колесо управляемое
161.02.02.030-01
Колесо управляемое
161.02.02.030-01
Колесо управляемое
161.02.02.030-01
Колесо управляемое
161.02.02.030-01
Колесо управляемое
161.02.02.050-01
Колесо управляемое
161.02.02.460-01
Колесо управляемое
181.02.02.750-01
Камера наклонная
161.03.00.000Ф
Корпус
161.03.01.000Ф
Панель
161.03.00.200
Панель
161.03.00.200A
Проставка
161.03.02.500А
Проставка
161.03.02.500Б
Проставка
161.03.02.500В
Проставка
161.03.02.500Г
Рамка
161.03.02.000
Рамка
161.03.02.000А
Рамка
161.03.02.000Б
Колесо
161.03.00.150
Тяга
161.03.00.590
Тяга
161.03.00.590А
Опора
Н.027.01.060
Щит
161.03.03.000
Щит
161.03.03.000А
Датчик ELOBAU
424A17A090B01
Транспортер цепной
161.03.02.000Ф
Ролик
161.03.00.350A
Ролик
161.03.00.350Б
Опора
161.03.00.180
Вал
161.03.00.050
Опора
161.03.60.270
Опора
161.03.60.280
Транспортер цепной 7-480-1560-228/304-5600-39 ТУ 4790-012-98474340-2009
АХЦ б161.03.04.000
Транспортер цепной
АХЦ Б161.03.04.100
Транспортер цепной ТУ 28.22.17-012-98474340-2018
АХЦ б161.03.04.400
Транспортер цепной ТУ 28.22.17-012-98474340-2018
АХЦ б161.03.04.500
Транспортер цепной ТУ 28.22.17-012-98474340-2018
АХЦ Б161.03.34.500
Транспортер цепной ТУ 28.22.17-012-98474340-2018
АХЦ Б161.03.34.800
Приводы наклонной камеры
161.03.15.000Ф
Установка привода наклонной камеры
161.29.03.050
Цепь
161.03.00.680
Цепь
161.29.03.700
Мост передний
161.04.00.000Ф
Мостокомплект
161.04.01.000Ф
Мостокомплект
161-9-00-000-3
Тормоз левый "KNOTT"
107059.02
Тормоз правый "KNOTT"
107059.01
Коробка передач
161-9-01-000-3
Суппорт тормозной стояночный дисковый
106589.02
Мостокомплект
161-9-00-000-3
Тормоз левый "KNOTT"
107059.02
Тормоз правый "KNOTT"
107059.01
Коробка передач
161-9-01-000-3
Суппорт тормозной стояночный дисковый
106589.02
Мостокомплект
161-9-00-000-3
Тормоз левый "KNOTT"
107059.02
Тормоз правый "KNOTT"
107059.01
Коробка передач
161-9-01-000-3
Суппорт тормозной стояночный дисковый
106589.02
Балка
161.04.02.000Ф
Колесо ведущее
161.04.03.000Ф
Колесо ведущее
161.02.01.050
Колесо ведущее
161.02.01.050
Колесо ведущее
161.02.01.050
Колесо ведущее
161.02.01.050
Колесо ведущее
161.02.04.080
Колесо ведущее
161.02.04.080
Колесо ведущее
161.02.04.080
Колесо ведущее
161.02.04.080
Колесо ведущее
161.02.06.080
Колесо ведущее
161.02.06.080
Колесо ведущее
161.02.06.090
Колесо ведущее
161.02.06.090
Колесо ведущее
161.02.06.090
Колесо ведущее
161.02.01.050-01
Колесо ведущее
161.02.01.050-01
Колесо ведущее
161.02.01.050-01
Колесо ведущее
161.02.01.050-01
Колесо ведущее
161.02.04.080-01
Колесо ведущее
161.02.04.080-01
Колесо ведущее
161.02.04.080-01
Колесо ведущее
161.02.04.080-01
Колесо ведущее
161.02.06.080-01
Колесо ведущее
161.02.06.080-01
Колесо ведущее
161.02.06.090-01
Колесо ведущее
161.02.06.090-01
Колесо ведущее
161.02.06.090-01
Система тормозная рабочая
161.04.04.000Ф
Коммуникации моста ведущего
161.63.13.000
Коммуникации моста ведущего
161.63.13.000
Коммуникации моста ведущего
161.63.13.000
Коммуникации моста ведущего
161.63.20.000
Коммуникации тормозные
161.63.04.000
Коммуникации тормозные
161.63.04.000
Коммуникации тормозные
161.63.04.000
Коммуникации тормозные
161.63.04.000-01
Коммуникации тормозные
161.63.18.000
Коммуникации тормозные
161.63.19.000
Коммуникации тормозные
161.63.19.000A
Установка моторная
161.05.00.000Ф
Система питания топливом
161.05.01.000Ф
Система охлаждения
161.05.03.000-01Ф
Система охлаждения
161.05.03.000Ф
Шланг
161.05.07.980
Система отвода отработавших газов
161.05.04.000Ф
Установка выхлопной системы
161.05.07.800
Установка выхлопной системы
161.05.07.800
Установка выхлопной системы
161.05.07.800
Установка выхлопной системы
161.05.07.800
Установка выхлопной системы
161.05.07.800
Установка выхлопной системы
161.05.07.800
Установка выхлопной системы
161.05.37.800
Установка выхлопной системы
161.05.77.800
Установка системы нейтрализации выхлопных газов
161.05.47.800
Установка системы нейтрализации выхлопных газов
161.05.47.800
Установка системы нейтрализации выхлопных газов
161.05.47.800
Установка системы нейтрализации выхлопных газов
161.05.47.800
Установка системы нейтрализации выхлопных газов
161.05.47.800
Рама подмоторная
161.05.05.000-01Ф
Подмоторная рама
161.05.05.000Ф
Пневмосистема
161.05.06.000Ф
Система слива масла
161.05.08.000-02Ф
ДВИГАТЕЛЬ
L9 RSM-L9-S0-415
ДВИГАТЕЛЬ
L9 RSM-L9-S5-430
Двигатель
QSL8.9 RSM-QSL-360 (SO60934)
Двигатель
QSL8.9 RSM-QSL-360-R1 (SO60934)
Двигатель
QSL8.9 RSM-QSL-360-R2 (SO60934)
Двигатель
QSL8.9 RSM-QSL-360-R3(SO60934)
Двигатель
QSL8.9 RSM-QSL-360-R4 (SO60934)
ДВИГАТЕЛЬ
QSL8.9 RSMQSL360ZCKR2(SO81002)
ДВИГАТЕЛЬ
QSL8.9-RSMQSL360ZCKR3(SO81002)
Двигатель
QSL9 Tier4F RSM-QSL-T4F-350
ДВИГАТЕЛЬ
QSL9 TIER4F RSM-QSL-T4F-350-R1
Место рабочее
161.06.00.000Ф
Каркас
161.06.05.000Ф
Кабина
МРУ-2.01.500
Кабина
МРУ-2.11.000-01
Установка опор
МРУ-2.00.150
Установка опор
МРУ-2.00.160
Установка опор
МРУ-2.00.190
Установка аппликаций
МРУ-2.00.650-02
Установка аппликаций
МРУ-2.00.650-02
Кронштейн зеркала
МРУ-2.03.200
Установка аппликаций
МРУ-2.00.650-03
Сиденье с пультом управления
161.06.08.000Ф
Панель
МРУ-2.00.210
Панель
МРУ-2.00.210
Панель
МРУ-2.00.210-01
Пульт
МРУ-2.01.300-01
Рукоятка
101.26.12.050
Рукоятка
101.26.12.050
Сиденье с пультом управления
МРУ-2.00.120
Панель
МРУ-2.00.130
Панель
МРУ-2.00.230
Пульт управления
МРУ-2.18.000
Датчик ELOBAU
424A17A090B01
Многофункциональная рукоятка управления
Z098
Коммуникации электрические подлокотника
МРУ-2.56.600
Каркас
МРУ-2.18.050
Коммуникации электрические подлокотника
МРУ-2.56.600
Шарнир
101.06.16.050
Датчик ELOBAU
424A17A090B01
Многофункциональная рукоятка управления
Z098
Многофункциональная рукоятка управления
Z098
Сиденье оператора AGROMACT
P950-P215/EAV150
Сиденье с пультом управления
МРУ-2.00.120
Панель
МРУ-2.00.130
Панель
МРУ-2.00.230
Пульт управления
МРУ-2.18.000
Датчик ELOBAU
424A17A090B01
Многофункциональная рукоятка управления
Z098
Коммуникации электрические подлокотника
МРУ-2.56.600
Каркас
МРУ-2.18.050
Коммуникации электрические подлокотника
МРУ-2.56.600
Шарнир
101.06.16.050
Датчик ELOBAU
424A17A090B01
Многофункциональная рукоятка управления
Z098
Многофункциональная рукоятка управления
Z098
Сиденье оператора AGROMACT
P950-P215/EAV150
Сиденье с пультом управления
МРУ-2.00.120
Панель
МРУ-2.00.130
Панель
МРУ-2.00.230
Пульт управления
МРУ-2.18.000
Датчик ELOBAU
424A17A090B01
Многофункциональная рукоятка управления
Z098
Коммуникации электрические подлокотника
МРУ-2.56.600
Каркас
МРУ-2.18.050
Коммуникации электрические подлокотника
МРУ-2.56.600
Шарнир
101.06.16.050
Датчик ELOBAU
424A17A090B01
Многофункциональная рукоятка управления
Z098
Многофункциональная рукоятка управления
Z098
Сиденье оператора AGROMACT
P950-P215/EAV150
Пульт управления
МРУ-2.18.000
Датчик ELOBAU
424A17A090B01
Многофункциональная рукоятка управления
Z098
Коммуникации электрические подлокотника
МРУ-2.56.600
Каркас
МРУ-2.18.050
Коммуникации электрические подлокотника
МРУ-2.56.600
Шарнир
101.06.16.050
Датчик ELOBAU
424A17A090B01
Многофункциональная рукоятка управления
Z098
Многофункциональная рукоятка управления
Z098
Облицовка кабины внутренняя
161.06.18.000Ф
Система климата
161.06.28.000Ф
Установка климатической системы
161.76.00.000
Предочиститель
161.76.00.370
Климатическая система ТУ-4591-012-75166250-2014
Август-23БС-РСМ-161
КЛИМ.СИСТ.ТУ45910
АВГУСТ-23БС-РСМ-161-01
Климатическая система ТУ-4591-012-75166250-2014
АВГУСТ 23БС-РСМ-161-04
Установка климатической системы
161.76.00.000-01
Предочиститель
161.76.00.370
Климатическая система ТУ-4591-012-75166250-2014
АВГУСТ 23БС-РСМ-161-04
КЛИМ.СИСТ.ТУ45910
АВГУСТ-23БС-РСМ-161-01
Установка климатической системы
161.76.03.000-02
Патрубок
МРУ-2.00.280
Патрубок
МРУ-2.00.280-01
Площадка
161.07.00.000Ф
Рамка бампера
161.07.05.090
Рамка бампера
161.07.05.100
Рамка бампера
161.07.05.100
Рамка бампера
161.07.05.100
Рамка бампера
161.07.05.100
Установка балки
161.07.05.110
Установка балки
161.07.05.110
Установка балки
161.07.05.110
Установка балки
161.07.05.110
Установка балки
161.07.07.120
Установка бампера
161.07.05.050
Установка ограждений
161.07.05.200
Установка ограждений
161.07.05.200
Установка ограждений
161.07.05.200
Установка ограждений
161.07.05.200
Установка площадок
161.07.05.400
Установка площадок
161.07.05.400
Установка площадок
161.07.05.400
Установка площадок
161.07.05.400
Установка площадок
161.07.07.020
Установка таблички паспортной
161.00.22.050
Установка таблички паспортной
161.00.22.050
Установка таблички паспортной
161.00.22.050
Установка таблички паспортной
161.00.22.050
Установка таблички паспортной
161.00.22.050
Установка таблички паспортной
161.00.22.050-01
Установка таблички паспортной
161.00.22.050-01
Установка таблички паспортной
161.00.22.050-01
Установка таблички паспортной
161.00.22.050-01
Установка таблички паспортной
161.00.22.050-01
Установка таблички паспортной
161.00.22.050-01
Установка таблички паспортной
161.00.22.050-03
Установка таблички паспортной
161.00.22.050-04
Гидрооборудование
161.09.00.000Ф
Гидросистема основная
161.09.01.000-01Ф
Тандем насосов
161.09.55.520А_Hengli
Тандем насосов
161.09.55.520А
Гидроцилиндр
142.09.23.030
Гидроцилиндр
161.09.03.090
Гидроцилиндр
161.09.31.230
Гидрооборудование крыши блока сепарирующего
161.09.33.400А
Гидросистема основная
161.09.01.000Ф
Гидрооборудование камеры наклонной
154.09.03.700
Гидрооборудование привода вентилятора
161.09.12.000
Гидрооборудование привода вентилятора
161.09.12.000
Гидрооборудование привода вентилятора
161.09.12.000
Гидрооборудование привода вентилятора
161.09.12.000
Гидроцилиндр
142.09.23.030
Гидроцилиндр
161.09.30.230
Гидроцилиндр
161.09.30.230-01
Гидроцилиндр
161.09.30.230А
Гидроцилиндр
161.09.31.230
Гидроцилиндр
161.09.03.090
Клапан
101.09.01.810
Полумуфта
1.99.800
Полумуфта
081.27.09.880
Полумуфта
161.09.30.790
Полумуфта
161.09.30.790
Тандем насосов
161.09.05.200
Тандем насосов
161.09.05.200
Тандем насосов
161.09.05.200А
Тандем насосов
161.09.05.290
Тандем насосов
161.09.55.520А
Тандем насосов
161.09.55.920
Тандем насосов
161.09.05.200-01
Система ГСТ
161.09.02.000-01Ф
Система ГСТ
161.09.02.000Ф
Система рулевого управления
161.09.04.000-01Ф
Система рулевого управления
161.09.04.000Ф
Гидрооборудование моста управляемых колес
161.09.11.200
Гидрооборудование моста управляемых колес
161.09.11.200
Гидрооборудование моста управляемых колес
161.09.11.200
Гидрооборудование моста управляемых колес
161.09.11.200
Гидрооборудование моста управляемых колес
161.09.11.200
Гидрооборудование моста управляемых колес
161.09.11.400
Гидрооборудование рабочего места
161.09.06.000
Гидрооборудование рабочего места
161.09.06.000A
Гидрооборудование рабочего места
161.09.06.000A
Гидрооборудование рабочего места
161.09.06.000A
Гидрооборудование рабочего места
161.09.06.500
Гидрооборудование рабочего места
161.09.06.900
Гидроцилиндр
161.02.02.340Б
Гидроцилиндр
161.02.02.340Б-01
Гидросистема привода очистки воздухозаборника
161.09.08.000Ф
Гидрооборудование половоразбрасывателя
161.09.09.000Ф
Гидромотор
152.09.14.010
Гидромотор
152.09.14.010
Гидромотор
161.09.14.010-01
Гидромотор
161.09.14.010
Гидромотор
161.09.14.010
Полумуфта
161.09.30.070
Полумуфта
161.09.30.070
Полумуфта
161.09.30.140
Полумуфта
161.09.30.140
Электрооборудование
161.10.00.000Ф
Электрооборудование
161.10.01.000А
Коммуникации электрические установки моторной
161.10.05.000А
Коммуникации электрические шасси
161.10.11.000А
Коммуникации электрические наклонной камеры
161.10.13.000А
Коммуникации электрические измельчителя-разбрасывателя
161.10.14.000А
Установка аккумуляторных батарей
161.10.22.000А
Установка аккумуляторных батарей
161.10.22.000Б
Коммуникации электрические бункера
161.10.46.000
Электрооборудование
161.10.01.000А
Коммуникации электрические установки моторной
161.10.05.000А
Коммуникации электрические шасси
161.10.11.000А
Коммуникации электрические наклонной камеры
161.10.13.000А
Коммуникации электрические измельчителя-разбрасывателя
161.10.14.000А
Установка аккумуляторных батарей
161.10.22.000А
Установка аккумуляторных батарей
161.10.22.000Б
Коммуникации электрические бункера
161.10.46.000
Электрооборудование
161.10.01.000А
Коммуникации электрические установки моторной
161.10.05.000А
Коммуникации электрические шасси
161.10.11.000А
Коммуникации электрические наклонной камеры
161.10.13.000А
Коммуникации электрические измельчителя-разбрасывателя
161.10.14.000А
Установка аккумуляторных батарей
161.10.22.000А
Установка аккумуляторных батарей
161.10.22.000Б
Коммуникации электрические бункера
161.10.46.000
Электрооборудование
161.10.01.000А-01
Коммуникации электрические установки моторной
161.10.05.000А
Коммуникации электрические шасси
161.10.11.000А-01
Коммуникации электрические наклонной камеры
161.10.13.000А
Коммуникации электрические измельчителя-разбрасывателя
161.10.14.000А
Установка аккумуляторных батарей
161.10.22.000А
Установка аккумуляторных батарей
161.10.22.000Б
Коммуникации электрические бункера
161.10.46.000
Электрооборудование
161.10.01.000А-02
Коммуникации электрические установки моторной
161.10.05.000А
Коммуникации электрические шасси
161.10.11.000А-02
Коммуникации электрические наклонной камеры
161.10.13.000А
Коммуникации электрические измельчителя-разбрасывателя
161.10.14.000А
Установка аккумуляторных батарей
161.10.22.000А
Коммуникации электрические бункера
161.10.46.000
Электрооборудование
161.10.01.000А-02
Коммуникации электрические установки моторной
161.10.05.000А
Коммуникации электрические шасси
161.10.11.000А-02
Коммуникации электрические наклонной камеры
161.10.13.000А
Коммуникации электрические измельчителя-разбрасывателя
161.10.14.000А
Установка аккумуляторных батарей
161.10.22.000А
Коммуникации электрические бункера
161.10.46.000
Электрооборудование
161.10.01.000А-03
Коммуникации электрические установки моторной
161.10.05.000А
Коммуникации электрические шасси
161.10.11.000А-03
Коммуникации электрические наклонной камеры
161.10.13.000А
Коммуникации электрические измельчителя-разбрасывателя
161.10.14.000А
Установка аккумуляторных батарей
161.10.22.000А
Коммуникации электрические бункера
161.10.46.000
Электрооборудование
161.10.01.000А-03
Коммуникации электрические установки моторной
161.10.05.000А
Коммуникации электрические шасси
161.10.11.000А-03
Коммуникации электрические наклонной камеры
161.10.13.000А
Коммуникации электрические измельчителя-разбрасывателя
161.10.14.000А
Установка аккумуляторных батарей
161.10.22.000А
Коммуникации электрические бункера
161.10.46.000
Электрооборудование
161.10.04.000
Коммуникации электрические установки моторной
161.10.05.000А
Коммуникации электрические установки моторной
161.10.05.000А
Коммуникации электрические наклонной камеры
161.10.13.000А
Коммуникации электрические измельчителя-разбрасывателя
161.10.14.100
Установка аккумуляторных батарей
161.10.22.000Б
Коммуникации электрические шасси
161.10.24.000
Коммуникации электрические шасси
161.10.24.000А
Коммуникации электрические бункера
161.10.46.000
Коммуникации электрические установки моторной
161.10.69.000
Электрооборудование
161.10.04.000
Коммуникации электрические установки моторной
161.10.05.000А
Коммуникации электрические установки моторной
161.10.05.000А
Коммуникации электрические наклонной камеры
161.10.13.000А
Коммуникации электрические измельчителя-разбрасывателя
161.10.14.100
Установка аккумуляторных батарей
161.10.22.000Б
Коммуникации электрические шасси
161.10.24.000
Коммуникации электрические шасси
161.10.24.000А
Коммуникации электрические бункера
161.10.46.000
Коммуникации электрические установки моторной
161.10.69.000
Электрооборудование
161.10.04.000
Коммуникации электрические установки моторной
161.10.05.000А
Коммуникации электрические установки моторной
161.10.05.000А
Коммуникации электрические наклонной камеры
161.10.13.000А
Коммуникации электрические измельчителя-разбрасывателя
161.10.14.100
Установка аккумуляторных батарей
161.10.22.000Б
Коммуникации электрические шасси
161.10.24.000
Коммуникации электрические шасси
161.10.24.000А
Коммуникации электрические бункера
161.10.46.000
Коммуникации электрические установки моторной
161.10.69.000
Электрооборудование
161.10.04.000
Коммуникации электрические установки моторной
161.10.05.000А
Коммуникации электрические установки моторной
161.10.05.000А
Коммуникации электрические наклонной камеры
161.10.13.000А
Коммуникации электрические измельчителя-разбрасывателя
161.10.14.100
Установка аккумуляторных батарей
161.10.22.000Б
Коммуникации электрические шасси
161.10.24.000
Коммуникации электрические шасси
161.10.24.000А
Коммуникации электрические бункера
161.10.46.000
Коммуникации электрические установки моторной
161.10.69.000
Электрооборудование
161.10.04.000
Коммуникации электрические установки моторной
161.10.05.000А
Коммуникации электрические установки моторной
161.10.05.000А
Коммуникации электрические наклонной камеры
161.10.13.000А
Коммуникации электрические измельчителя-разбрасывателя
161.10.14.100
Установка аккумуляторных батарей
161.10.22.000Б
Коммуникации электрические шасси
161.10.24.000
Коммуникации электрические шасси
161.10.24.000А
Коммуникации электрические бункера
161.10.46.000
Коммуникации электрические установки моторной
161.10.69.000
Электрооборудование
161.10.04.000
Коммуникации электрические установки моторной
161.10.05.000А
Коммуникации электрические установки моторной
161.10.05.000А
Коммуникации электрические наклонной камеры
161.10.13.000А
Коммуникации электрические измельчителя-разбрасывателя
161.10.14.100
Установка аккумуляторных батарей
161.10.22.000Б
Коммуникации электрические шасси
161.10.24.000
Коммуникации электрические шасси
161.10.24.000А
Коммуникации электрические бункера
161.10.46.000
Коммуникации электрические установки моторной
161.10.69.000
Электрооборудование
161.10.04.000-01
Коммуникации электрические установки моторной
161.10.05.000А
Коммуникации электрические наклонной камеры
161.10.13.000А
Коммуникации электрические измельчителя-разбрасывателя
161.10.14.100
Установка аккумуляторных батарей
161.10.22.000Б
Коммуникации электрические шасси
161.10.24.000-01
Коммуникации электрические шасси
161.10.24.000А-01
Коммуникации электрические бункера
161.10.46.000
Электрооборудование
161.10.04.000-01
Коммуникации электрические установки моторной
161.10.05.000А
Коммуникации электрические наклонной камеры
161.10.13.000А
Коммуникации электрические измельчителя-разбрасывателя
161.10.14.100
Установка аккумуляторных батарей
161.10.22.000Б
Коммуникации электрические шасси
161.10.24.000-01
Коммуникации электрические шасси
161.10.24.000А-01
Коммуникации электрические бункера
161.10.46.000
Электрооборудование
161.10.04.000-02
Коммуникации электрические наклонной камеры
161.10.13.000А
Коммуникации электрические измельчителя-разбрасывателя
161.10.14.100
Установка аккумуляторных батарей
161.10.22.000Б
Коммуникации электрические шасси
161.10.24.000А
Коммуникации электрические бункера
161.10.46.000
Коммуникации электрические установки моторной
161.10.69.000
Коммуникации электрические наклонной камеры
161.10.13.000А
Коммуникации электрические измельчителя-разбрасывателя
161.10.14.100
Установка аккумуляторных батарей
161.10.22.000Б
Коммуникации электрические шасси
161.10.24.000
Коммуникации электрические шасси
161.10.24.000А
Коммуникации электрические бункера
161.10.46.000
Коммуникации электрические установки моторной
161.10.69.000
Электрооборудование
161.10.04.000-02
Коммуникации электрические наклонной камеры
161.10.13.000А
Коммуникации электрические измельчителя-разбрасывателя
161.10.14.100
Установка аккумуляторных батарей
161.10.22.000Б
Коммуникации электрические шасси
161.10.24.000А
Коммуникации электрические бункера
161.10.46.000
Коммуникации электрические установки моторной
161.10.69.000
Коммуникации электрические наклонной камеры
161.10.13.000А
Коммуникации электрические измельчителя-разбрасывателя
161.10.14.100
Установка аккумуляторных батарей
161.10.22.000Б
Коммуникации электрические шасси
161.10.24.000
Коммуникации электрические шасси
161.10.24.000А
Коммуникации электрические бункера
161.10.46.000
Коммуникации электрические установки моторной
161.10.69.000
Электрооборудование
161.10.04.000-02
Коммуникации электрические наклонной камеры
161.10.13.000А
Коммуникации электрические измельчителя-разбрасывателя
161.10.14.100
Установка аккумуляторных батарей
161.10.22.000Б
Коммуникации электрические шасси
161.10.24.000А
Коммуникации электрические бункера
161.10.46.000
Коммуникации электрические установки моторной
161.10.69.000
Коммуникации электрические наклонной камеры
161.10.13.000А
Коммуникации электрические измельчителя-разбрасывателя
161.10.14.100
Установка аккумуляторных батарей
161.10.22.000Б
Коммуникации электрические шасси
161.10.24.000
Коммуникации электрические шасси
161.10.24.000А
Коммуникации электрические бункера
161.10.46.000
Коммуникации электрические установки моторной
161.10.69.000
Электрооборудование
161.10.04.300
Коммуникации электрические наклонной камеры
161.10.13.000А
Коммуникации электрические измельчителя-разбрасывателя
161.10.14.300
Установка аккумуляторных батарей
161.10.22.000Б
Коммуникации электрические шасси
161.10.24.300
Коммуникации электрические бункера
161.10.46.000
Коммуникации электрические установки моторной
161.10.67.000
Электрооборудование
161.10.04.300-01
Коммуникации электрические наклонной камеры
161.10.13.000А
Коммуникации электрические измельчителя-разбрасывателя
161.10.14.300
Установка аккумуляторных батарей
161.10.22.000Б
Коммуникации электрические шасси
161.10.24.300
Коммуникации электрические бункера
161.10.46.000
Коммуникации электрические установки моторной
161.10.67.000
Электрооборудование
161.10.04.300-02
Коммуникации электрические наклонной камеры
161.10.13.000А
Коммуникации электрические измельчителя-разбрасывателя
161.10.14.300
Установка аккумуляторных батарей
161.10.22.000Б
Коммуникации электрические шасси
161.10.24.300-01
Коммуникации электрические бункера
161.10.46.000
Коммуникации электрические установки моторной
161.10.67.000
Электрооборудование
161.10.04.300-04
Коммуникации электрические наклонной камеры
161.10.13.000А
Коммуникации электрические измельчителя-разбрасывателя
161.10.14.300
Установка аккумуляторных батарей
161.10.22.000Б
Коммуникации электрические шасси
161.10.24.300-02
Коммуникации электрические бункера
161.10.46.000
Коммуникации электрические установки моторной
161.10.06.000
Установка жгутов на капотах
161.10.18.000
Установка электрооборудования
МРУ-2.54.000
Установка электрооборудования
МРУ-2.54.000
Очистка
161.11.00.000Ф
Решето верхнее
161.11.01.000Ф
Привод очистки
161.11.03.000Ф
Втулка
161.11.01.200
Втулка
161.11.01.440
Втулка
161.11.01.110
Втулка
161.11.01.370
Втулка
161.11.01.080
Втулка
161.11.01.320
Опора
161.11.01.070
Опора
161.11.01.380
Рычаг
161.11.01.130
Рычаг
161.11.01.360
Рычаг
161.11.01.090
Рычаг
161.11.01.330
Рычаг
161.11.01.100
Рычаг
161.11.01.340
Рычаг
161.11.01.100-01
Рычаг
161.11.01.340-01
Маятник
161.01.01.090
Маятник
161.01.01.090A
Рычаг маятника
161.11.01.050
Ступица
161.11.01.220
Ступица
161.11.01.220-01
Тяга
161.11.01.120
Тяга
161.11.01.250
Тяга
161.11.01.120-01
Тяга
161.11.01.250-01
Решето нижнее
161.11.04.000Ф
Блок шнеков
161.11.05.000Ф
Вентилятор
161.11.07.000Ф
Измельчитель-разбрасыватель
161.14.00.000Ф
Капот
161.14.01.000Ф
Рукоятка
161.14.00.360
Сузитель
161.14.00.250
Сузитель
161.14.00.250
Сузитель
161.14.00.250-01
Сузитель
161.14.00.250-01
Фиксатор
161.14.03.130-01
Щиток
161.14.00.130
Установка упора крышки
161.14.00.800
Установка упора крышки
161.14.00.800
Установка упора крышки
161.14.00.800
Датчик
152.30.04.100
Датчик
161.14.25.100
Сузитель
161.14.25.150
Сузитель
161.14.25.150-01
Установка полос сузителей
161.14.00.560
Блок измельчителя
161.14.02.000Ф
Блок молотильный
161.15.00.000Ф
Вариатор барабана
161.15.10.000Ф
Каркас
161.30.00.000Ф
Панель правая
161.30.03.000Ф
Соломотряс
161.30.06.000Ф
Устройство домолачивающее
161.30.07.000Ф
Установка устройства домолачивающего
161.50.00.050
Установка устройства домолачивающего
161.50.00.050
Установка устройства домолачивающего
161.50.00.050
Бункер
161.45.00.000Ф
Основание
161.45.01.000Ф
Основание
161.46.01.000
Основание
161.46.01.000А
Основание
161.46.01.000Б
Основание
161.46.01.000В
Основание
161.46.01.000Д
Строение верхнее
161.45.02.000Ф
Дно
161.46.04.040
Кронштейн
161.57.05.440
Лестница
181.46.08.250
Опора
181.46.03.310
Панель
161.46.11.020
Секция
161.46.11.010
Тяга
161.46.08.200
Электромеханизм
161.46.00.400
Устройства транспортирующие
161.50.00.000Ф
Установка выгрузного шнека
161.44.03.010
Установка элеватора зернового
161.50.00.040
Капоты
161.56.00.000Ф
Капоты (правая сторона)
161.56.57.000Ф
Капоты (верхняя часть)
161.56.58.000Ф
Комлекты
161.62.00.000Ф
Комплект запасных частей гидрооборудования
161.00.20.300
Комплект запасных частей измельчителя-разбрасывателя
161.14.06.000
Комплект запасных частей электрооборудования
161.10.15.000
Комплект принадлежностей пневмосистемы
145.01.00.550
Фаркоп
161.01.03.000
Автоматическая централизованная система смазки. Комплект составных частей.
161.00.78.000
Комплект адаптации для АЦСС РСМ-161
161.00.78.100
Отделка
161.01.22.000
Отделка
161.01.22.000-01
Отделка
161.01.22.000-03
Отделка
161.01.22.000-04
Дополнительное оборудование
161.77.00.000Ф
Система дистанционного мониторинга
161.10.54.000
Система оценки возврата на домолот
161.10.50.000
Установка прицепа
161.01.10.000
Система оценки влажности зерна
161.10.54.400
Установка полос сузителей
161.14.00.560
Ножи измельчителя
161.14.02.500
Система автовождения
161.10.53.100
Установка элементов транспортировки
161.01.11.000
Дополнительное оборудование для работы с остистыми культурами
161.15.00.100
Доработка
161.81.00.000Ф
Кулак поворотный
161.02.02.810-01
Трубка
161.03.00.940
Рамка
161.03.02.000А
Щиток
161.05.07.440
Щиток
161.05.07.710
Система автовождения
161.10.53.100
Опора
161.11.13.340
Подшипник
161.31.05.340
Щит
161.56.01.500
Щит
161.56.01.600
Щит
161.56.01.600-01
Упор
161.56.01.650
Пластина
161.58.30.380
Переходник
161.76.00.710
Шкив коленвала
3943978
Комплект датчика ИЮТЛ.305622.002 ТУ
ДИЗЭ-01
Бак топливный
ЭП687.00.000
Комплект ЗИП ПУ
ЮГИШ.426471.112
Выберите узел для просмотра
Поиск по деталям узла Детали узла
Сроки доставки и цены будут отображаться после авторизации
Цены и корзина будут доступны после авторизации
| Поз. | Код | Чертежный номер | Кол-во позиций | Начало, дата | Окончание, дата | Наименование | |||||
|---|---|---|---|---|---|---|---|---|---|---|---|
| 1 | 161.29.50.260 | 101872076 | 161.29.50.260 |
Номер позиции:
1
Кол-во позиций:
1
Начало, дата:
01.07.2014
Окончание, дата:
15.02.2016
101872076 |
1 | 01.07.2014 | 15.02.2016 |
Для выбора подходящей к вашей технике детали введите в поиск код продукта или свяжитесь с дилером
|
|||
| 1 | 161.29.50.260А | 102078516 | 161.29.50.260А |
Номер позиции:
1
Кол-во позиций:
1
Начало, дата:
01.01.2016
Окончание, дата:
-
102078516 |
1 | 01.01.2016 |
Для выбора подходящей к вашей технике детали введите в поиск код продукта или свяжитесь с дилером
|
||||
| 2 | 161.50.00.050 | 101886400 | 161.50.00.050 |
Номер позиции:
2
Кол-во позиций:
1
Начало, дата:
01.07.2014
Окончание, дата:
29.04.2016
101886400 |
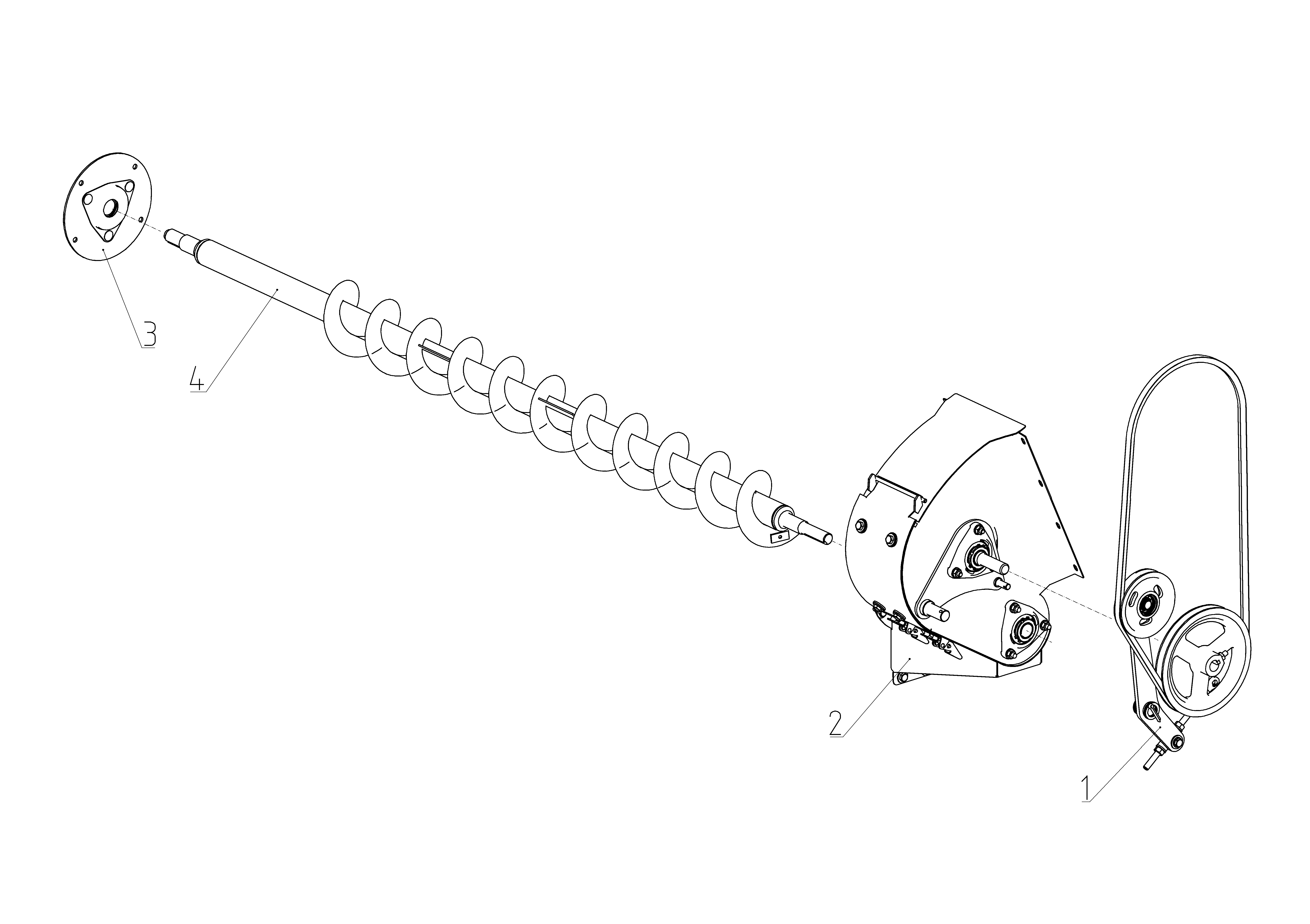
1 | 01.07.2014 | 29.04.2016 | Установка устройства домолачивающего | |||
| 3 | 161.50.08.020 | 101603119 | 161.50.08.020 |
Номер позиции:
3
Кол-во позиций:
1
Начало, дата:
01.07.2014
Окончание, дата:
-
101603119 |
1 | 01.07.2014 | Фланец | ||||
| 4 | 161.50.08.010 | 101547027 | 161.50.08.010 |
Номер позиции:
4
Кол-во позиций:
1
Начало, дата:
01.07.2014
Окончание, дата:
01.04.2022
101547027 |
1 | 01.07.2014 | 01.04.2022 |
Для выбора подходящей к вашей технике детали введите в поиск код продукта или свяжитесь с дилером
|
Корзина будет доступна
после авторизации |
||
| 4 | 161.50.08.110 | 103507894 | 161.50.08.110 |
Номер позиции:
4
Кол-во позиций:
1
Начало, дата:
01.04.2022
Окончание, дата:
-
103507894 |
1 | 01.04.2022 |
Для выбора подходящей к вашей технике детали введите в поиск код продукта или свяжитесь с дилером
|
Корзина будет доступна
после авторизации |
Позиция добавлена в корзину