Список узлов

RSM 161

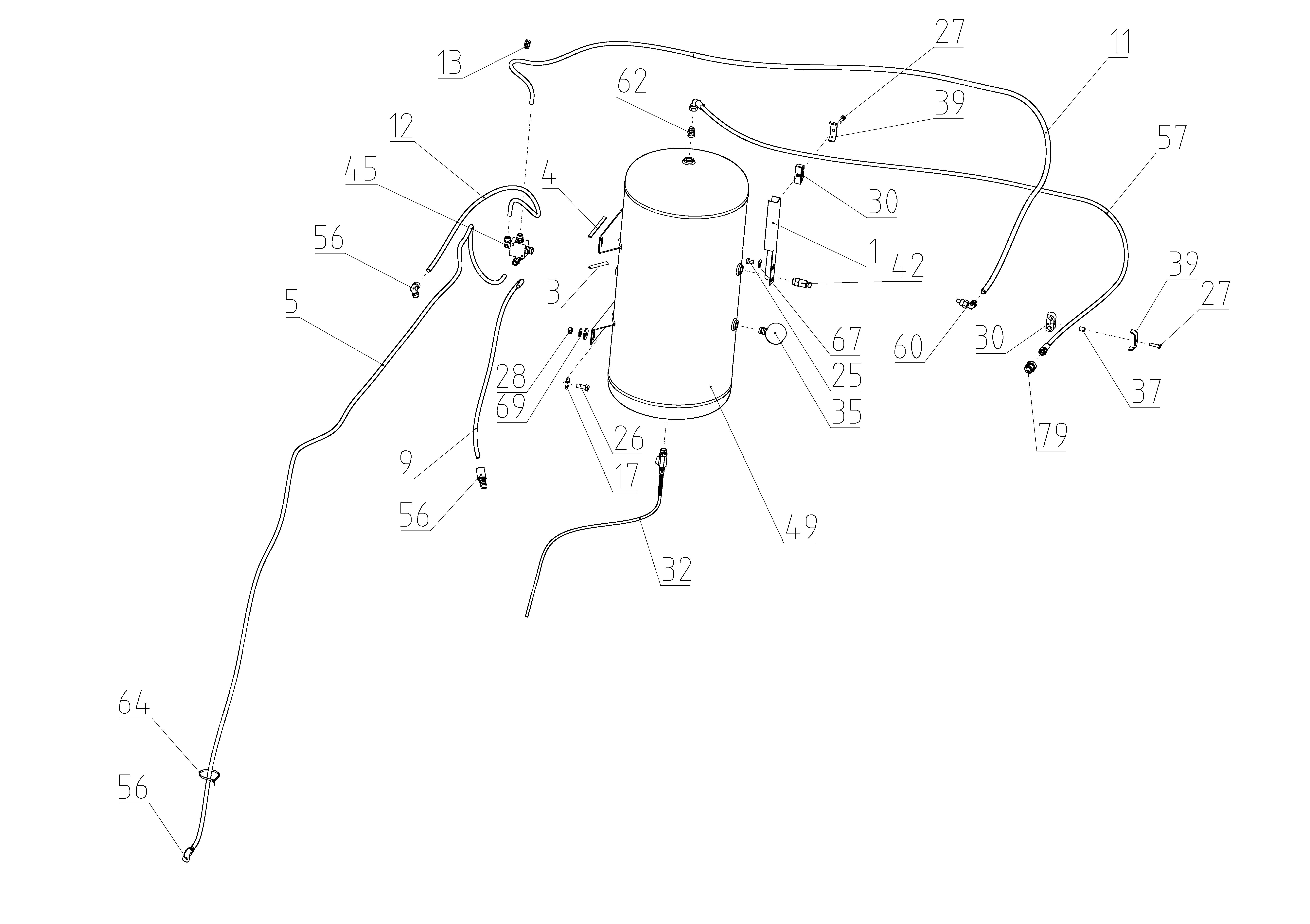
RSM 161 - Пневмосистема

Мост задний 161.02.00.000Ф
Камера наклонная 161.03.00.000Ф
Мост передний 161.04.00.000Ф
Установка моторная 161.05.00.000Ф
Система питания топливом 161.05.01.000Ф
Система охлаждения 161.05.03.000Ф
Система отвода отработавших газов 161.05.04.000Ф
Рама подмоторная 161.05.05.000-01Ф
Подмоторная рама 161.05.05.000Ф
Система слива масла 161.05.08.000-02Ф
ДВИГАТЕЛЬ L9 RSM-L9-S0-415
ДВИГАТЕЛЬ L9 RSM-L9-S5-430
Двигатель QSL8.9 RSM-QSL-360 (SO60934)
Двигатель QSL8.9 RSM-QSL-360-R1 (SO60934)
Двигатель QSL8.9 RSM-QSL-360-R2 (SO60934)
Двигатель QSL8.9 RSM-QSL-360-R3(SO60934)
Двигатель QSL8.9 RSM-QSL-360-R4 (SO60934)
ДВИГАТЕЛЬ QSL8.9 RSMQSL360ZCKR2(SO81002)
ДВИГАТЕЛЬ QSL8.9-RSMQSL360ZCKR3(SO81002)
Двигатель QSL9 Tier4F RSM-QSL-T4F-350
ДВИГАТЕЛЬ QSL9 TIER4F RSM-QSL-T4F-350-R1
Место рабочее 161.06.00.000Ф
Площадка 161.07.00.000Ф
Гидрооборудование 161.09.00.000Ф
Электрооборудование 161.10.00.000Ф
Очистка 161.11.00.000Ф
Измельчитель-разбрасыватель 161.14.00.000Ф
Блок молотильный 161.15.00.000Ф
Каркас 161.30.00.000Ф
Бункер 161.45.00.000Ф
Устройства транспортирующие 161.50.00.000Ф
Капоты 161.56.00.000Ф
Дополнительное оборудование 161.77.00.000Ф

Поиск по деталям узла Детали узла

Сроки доставки и цены будут отображаться после авторизации

Цены и корзина будут доступны после авторизации

Поз. Код Чертежный номер Кол-во позиций Начало, дата Окончание, дата Наименование
1 161.39.00.210 101922724 161.39.00.210
Номер позиции: 1
Кол-во позиций: 1
Начало, дата: 01.07.2014
Окончание, дата: -
101922724
1 01.07.2014 Кронштейн
Корзина будет доступна
после авторизации
3 161.39.00.011 102031972 161.39.00.011
Номер позиции: 3
Кол-во позиций: 1
Начало, дата: 02.11.2015
Окончание, дата: -
102031972
1 02.11.2015 Уплотнение
Корзина будет доступна
после авторизации
4 161.39.00.012 102031969 161.39.00.012
Номер позиции: 4
Кол-во позиций: 2
Начало, дата: 02.11.2015
Окончание, дата: -
102031969
2 02.11.2015 Уплотнение
Корзина будет доступна
после авторизации
5 161.39.00.022 101935109 161.39.00.022
Номер позиции: 5
Кол-во позиций: 1
Начало, дата: 01.07.2014
Окончание, дата: -
101935109
1 01.07.2014 Трубка
Корзина будет доступна
после авторизации
9 161.39.00.025 101935115 161.39.00.025
Номер позиции: 9
Кол-во позиций: 1
Начало, дата: 01.07.2014
Окончание, дата: -
101935115
1 01.07.2014 Трубка
Корзина будет доступна
после авторизации
11 161.39.00.027 101935995 161.39.00.027
Номер позиции: 11
Кол-во позиций: 1
Начало, дата: 01.07.2014
Окончание, дата: -
101935995
1 01.07.2014 Трубка защитная спиральная GS1612 2400мм
Корзина будет доступна
после авторизации
12 161.39.00.035 102030198 161.39.00.035
Номер позиции: 12
Кол-во позиций: 1
Начало, дата: 02.11.2015
Окончание, дата: -
102030198
1 02.11.2015 Трубка
Корзина будет доступна
после авторизации
13 54-00620 100039921 54-00620
Номер позиции: 13
Кол-во позиций: 3
Начало, дата: 02.11.2015
Окончание, дата: -
100039921
3 02.11.2015 Втулка
Корзина будет доступна
после авторизации
17 С 12.01.019 100123212 С 12.01.019
Номер позиции: 17
Кол-во позиций: 8
Начало, дата: 01.07.2014
Окончание, дата: -
100123212
8 01.07.2014
Для выбора подходящей к вашей технике детали введите в поиск код продукта или свяжитесь с дилером
Шайба ГОСТ 6958-78
Корзина будет доступна
после авторизации
17 13-100HV-zinc plated 101702737 13-100HV-zinc plated
Номер позиции: 17
Кол-во позиций: 1
Начало, дата: 01.07.2014
Окончание, дата: -
101702737
1 01.07.2014
Для выбора подходящей к вашей технике детали введите в поиск код продукта или свяжитесь с дилером
Шайба DIN 9021
Корзина будет доступна
после авторизации
25 М10x16-8.8-flZnyc(flZnncL)-480h 101864498 М10x16-8.8-flZnyc(flZnncL)-480h
Номер позиции: 25
Кол-во позиций: 2
Начало, дата: 01.07.2014
Окончание, дата: -
101864498
2 01.07.2014 Болт с шестигранной головкой DIN 933
Корзина будет доступна
после авторизации
26 М12x30-8.8-flZnyc(flZnncL)-480h DIN 933 101863155 М12x30-8.8-flZnyc(flZnncL)-480h DIN 933
Номер позиции: 26
Кол-во позиций: 4
Начало, дата: 01.07.2014
Окончание, дата: -
101863155
4 01.07.2014 Болт с шестигранной головкой
Корзина будет доступна
после авторизации
28 M12-8-flZnyc(flZnncL)-480h 101864036 M12-8-flZnyc(flZnncL)-480h
Номер позиции: 28
Кол-во позиций: 4
Начало, дата: 01.07.2014
Окончание, дата: -
101864036
4 01.07.2014 Гайка шестигранная DIN 934
Корзина будет доступна
после авторизации
30 LBBU 215/12 SA M8-U5/16 101566718 LBBU 215/12 SA M8-U5/16
Номер позиции: 30
Кол-во позиций: 4
Начало, дата: 02.11.2015
Окончание, дата: -
101566718
4 02.11.2015 Корпус зажима
Корзина будет доступна
после авторизации
32 2930 1/4-RU01 101935679 2930 1/4-RU01
Номер позиции: 32
Кол-во позиций: 1
Начало, дата: 01.07.2014
Окончание, дата: -
101935679
1 01.07.2014 Кран слива конденсата
Корзина будет доступна
после авторизации
35 M063-R12M01 101140514 M063-R12M01
Номер позиции: 35
Кол-во позиций: 1
Начало, дата: 01.07.2014
Окончание, дата: 16.05.2016
101140514
1 01.07.2014 16.05.2016
Для выбора подходящей к вашей технике детали введите в поиск код продукта или свяжитесь с дилером
Манометр
Корзина будет доступна
после авторизации
35 М063-R12-RU01 101623247 М063-R12-RU01
Номер позиции: 35
Кол-во позиций: 1
Начало, дата: 01.04.2016
Окончание, дата: -
101623247
1 01.04.2016
Для выбора подходящей к вашей технике детали введите в поиск код продукта или свяжитесь с дилером
Манометр
Корзина будет доступна
после авторизации
37 LBBUHUE2/2DSPM8U5/16W3(1130022887 101460019 LBBUHUE2/2DSPM8U5/16W3(1130022887
Номер позиции: 37
Кол-во позиций: 4
Начало, дата: 02.11.2015
Окончание, дата: -
101460019
4 02.11.2015 Втулка
Корзина будет доступна
после авторизации
39 LBBU-DP2DM8-U5/16W3(1130022189) 101460021 LBBU-DP2DM8-U5/16W3(1130022189)
Номер позиции: 39
Кол-во позиций: 4
Начало, дата: 01.07.2014
Окончание, дата: -
101460021
4 01.07.2014 Накладка
Корзина будет доступна
после авторизации
42 VS-1/2 101140515 VS-1/2
Номер позиции: 42
Кол-во позиций: 1
Начало, дата: 01.07.2014
Окончание, дата: -
101140515
1 01.07.2014 Предохранительный клапан
Корзина будет доступна
после авторизации
45 ASM-0006-RU04 101937833 ASM-0006-RU04
Номер позиции: 45
Кол-во позиций: 1
Начало, дата: 01.07.2014
Окончание, дата: -
101937833
1 01.07.2014 Разветвитель
Корзина будет доступна
после авторизации
49 PB110/10.06.01.000 101099443 PB110/10.06.01.000
Номер позиции: 49
Кол-во позиций: 1
Начало, дата: 01.07.2014
Окончание, дата: -
101099443
1 01.07.2014
Для выбора подходящей к вашей технике детали введите в поиск код продукта или свяжитесь с дилером
Ресивер
Корзина будет доступна
после авторизации
49 Р-5505 101372504 Р-5505
Номер позиции: 49
Кол-во позиций: 1
Начало, дата: 01.07.2014
Окончание, дата: -
101372504
1 01.07.2014
Для выбора подходящей к вашей технике детали введите в поиск код продукта или свяжитесь с дилером
Ресивер
Корзина будет доступна
после авторизации
49 ШКЯМ 629.00.000 102053146 ШКЯМ 629.00.000
Номер позиции: 49
Кол-во позиций: 1
Начало, дата: 01.07.2014
Окончание, дата: -
102053146
1 01.07.2014
Для выбора подходящей к вашей технике детали введите в поиск код продукта или свяжитесь с дилером
Ресивер
Корзина будет доступна
после авторизации
56 5082 1/4МО3 101140516 5082 1/4МО3
Номер позиции: 56
Кол-во позиций: 3
Начало, дата: 01.07.2014
Окончание, дата: -
101140516
3 01.07.2014 Розетка соединительная
57 PTFE38IP-2640-3/8-RU01 102002168 PTFE38IP-2640-3/8-RU01
Номер позиции: 57
Кол-во позиций: 1
Начало, дата: 02.11.2015
Окончание, дата: 15.02.2016
102002168
1 02.11.2015 15.02.2016
Для выбора подходящей к вашей технике детали введите в поиск код продукта или свяжитесь с дилером
Рукав высокого давления
Корзина будет доступна
после авторизации
57 PTFE38IP-2665-3/8-RU01 102165086 PTFE38IP-2665-3/8-RU01
Номер позиции: 57
Кол-во позиций: 1
Начало, дата: 01.01.2016
Окончание, дата: -
102165086
1 01.01.2016
Для выбора подходящей к вашей технике детали введите в поиск код продукта или свяжитесь с дилером
Рукав высокого давления
Корзина будет доступна
после авторизации
60 1500 12/10-3/8 101937834 1500 12/10-3/8
Номер позиции: 60
Кол-во позиций: 1
Начало, дата: 01.07.2014
Окончание, дата: -
101937834
1 01.07.2014 Фитинг с накидной гайкой угловой
Корзина будет доступна
после авторизации
62 S2510 3/8-1/2 102001387 S2510 3/8-1/2
Номер позиции: 62
Кол-во позиций: 1
Начало, дата: 02.11.2015
Окончание, дата: 15.02.2016
102001387
1 02.11.2015 15.02.2016 Фитинг
Корзина будет доступна
после авторизации
64 66-3,5х150 Ч 100698944 66-3,5х150 Ч
Номер позиции: 64
Кол-во позиций: 16
Начало, дата: 01.07.2014
Окончание, дата: 15.02.2016
100698944
16 01.07.2014 15.02.2016
Для выбора подходящей к вашей технике детали введите в поиск код продукта или свяжитесь с дилером
Хомут ТУ Nylon66-070-001607-2006
Корзина будет доступна
после авторизации
64 3,6х200 101880458 3,6х200
Номер позиции: 64
Кол-во позиций: 16
Начало, дата: 01.01.2016
Окончание, дата: -
101880458
16 01.01.2016
Для выбора подходящей к вашей технике детали введите в поиск код продукта или свяжитесь с дилером
Хомут пластиковый
Корзина будет доступна
после авторизации
67 10 WGR 1520 182 101421714 10 WGR 1520 182
Номер позиции: 67
Кол-во позиций: 2
Начало, дата: 01.07.2014
Окончание, дата: -
101421714
2 01.07.2014 Шайба
Корзина будет доступна
после авторизации
69 12 WGR 1518 182 101419261 12 WGR 1518 182
Номер позиции: 69
Кол-во позиций: 4
Начало, дата: 01.07.2014
Окончание, дата: -
101419261
4 01.07.2014 Шайба
Корзина будет доступна
после авторизации
79 2511 М27x2-3/8-RU01 102001343 2511 М27x2-3/8-RU01
Номер позиции: 79
Кол-во позиций: 1
Начало, дата: 02.11.2015
Окончание, дата: -
102001343
1 02.11.2015 Переходник
Корзина будет доступна
после авторизации
Запрос на смену дилера
Сообщение для дилера
Заявка на ремонт