Список узлов

RSM 161

RSM 161 - Балка

Мост задний 161.02.00.000Ф
Камера наклонная 161.03.00.000Ф
Мост передний 161.04.00.000Ф
Мостокомплект 161.04.01.000Ф
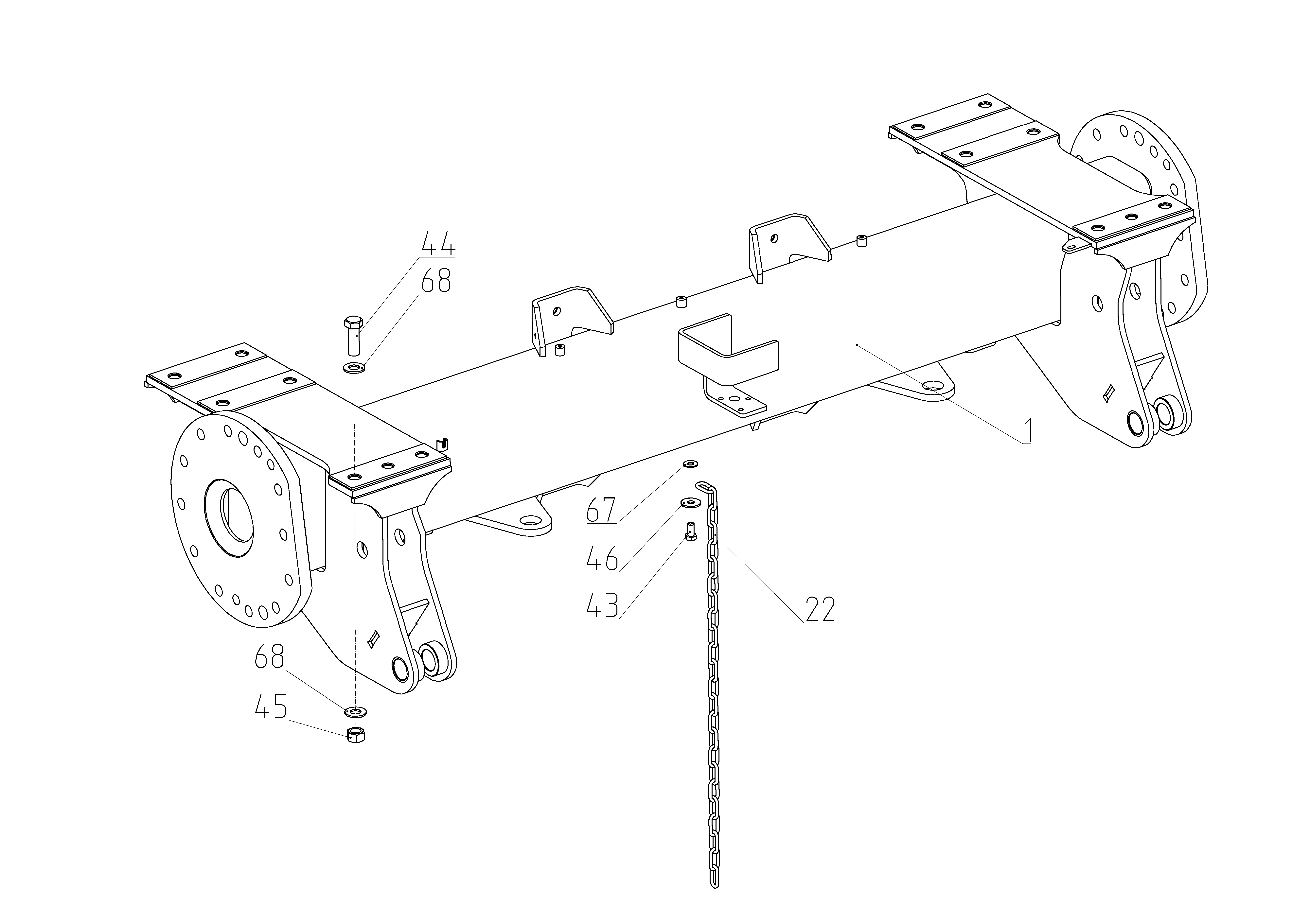
Балка 161.04.02.000Ф
Система тормозная рабочая 161.04.04.000Ф
Установка моторная 161.05.00.000Ф
Место рабочее 161.06.00.000Ф
Площадка 161.07.00.000Ф
Гидрооборудование 161.09.00.000Ф
Электрооборудование 161.10.00.000Ф
Очистка 161.11.00.000Ф
Измельчитель-разбрасыватель 161.14.00.000Ф
Блок молотильный 161.15.00.000Ф
Каркас 161.30.00.000Ф
Бункер 161.45.00.000Ф
Устройства транспортирующие 161.50.00.000Ф
Капоты 161.56.00.000Ф
Дополнительное оборудование 161.77.00.000Ф

Поиск по деталям узла Детали узла

Сроки доставки и цены будут отображаться после авторизации

Цены и корзина будут доступны после авторизации

Поз. Код Чертежный номер Кол-во позиций Начало, дата Окончание, дата Наименование
1 161.02.07.020 101873901 161.02.07.020
Номер позиции: 1
Кол-во позиций: 1
Начало, дата: 01.07.2014
Окончание, дата: 15.02.2016
101873901
1 01.07.2014 15.02.2016
Для выбора подходящей к вашей технике детали введите в поиск код продукта или свяжитесь с дилером
Балка моста
Корзина будет доступна
после авторизации
1 161.02.10.020 102228827 161.02.10.020
Номер позиции: 1
Кол-во позиций: 1
Начало, дата: 01.01.2016
Окончание, дата: -
102228827
1 01.01.2016
Для выбора подходящей к вашей технике детали введите в поиск код продукта или свяжитесь с дилером
Балка
Корзина будет доступна
после авторизации
22 РСМ-10.02.01.603-01 100294897 РСМ-10.02.01.603-01
Номер позиции: 22
Кол-во позиций: 1
Начало, дата: 01.07.2014
Окончание, дата: -
100294897
1 01.07.2014 Цепь
Корзина будет доступна
после авторизации
43 М12-6gx25.88.35.019 101625082 М12-6gx25.88.35.019
Номер позиции: 43
Кол-во позиций: 1
Начало, дата: 01.07.2014
Окончание, дата: -
101625082
1 01.07.2014
Для выбора подходящей к вашей технике детали введите в поиск код продукта или свяжитесь с дилером
Болт ГОСТ 7798-70
Корзина будет доступна
после авторизации
43 М12x25-8.8-zinc plated 101701871 М12x25-8.8-zinc plated
Номер позиции: 43
Кол-во позиций: 1
Начало, дата: 01.07.2014
Окончание, дата: -
101701871
1 01.07.2014
Для выбора подходящей к вашей технике детали введите в поиск код продукта или свяжитесь с дилером
Болт с шестигранной головкой DIN 933
Корзина будет доступна
после авторизации
44 М20x1,5-6gx60.109.40Х.019 101442413 М20x1,5-6gx60.109.40Х.019
Номер позиции: 44
Кол-во позиций: 12
Начало, дата: 01.07.2014
Окончание, дата: -
101442413
12 01.07.2014
Для выбора подходящей к вашей технике детали введите в поиск код продукта или свяжитесь с дилером
Болт ГОСТ 7798-70
Корзина будет доступна
после авторизации
44 DIN 961-M20x1,5x60-10.9-zinc plated 101906532 DIN 961-M20x1,5x60-10.9-zinc plated
Номер позиции: 44
Кол-во позиций: 12
Начало, дата: 01.07.2014
Окончание, дата: -
101906532
12 01.07.2014
Для выбора подходящей к вашей технике детали введите в поиск код продукта или свяжитесь с дилером
Болт с шестигранной головкой
Корзина будет доступна
после авторизации
45 М20x1.5-6H.10.35X.019 100992338 М20x1.5-6H.10.35X.019
Номер позиции: 45
Кол-во позиций: 12
Начало, дата: 15.10.2020
Окончание, дата: -
100992338
12 15.10.2020 Гайка ГОСТ 5915-70
Корзина будет доступна
после авторизации
46 С 12.01.019 100123212 С 12.01.019
Номер позиции: 46
Кол-во позиций: 1
Начало, дата: 01.07.2014
Окончание, дата: -
100123212
1 01.07.2014
Для выбора подходящей к вашей технике детали введите в поиск код продукта или свяжитесь с дилером
Шайба ГОСТ 6958-78
Корзина будет доступна
после авторизации
46 13-100HV-zinc plated 101702737 13-100HV-zinc plated
Номер позиции: 46
Кол-во позиций: 1
Начало, дата: 01.07.2014
Окончание, дата: -
101702737
1 01.07.2014
Для выбора подходящей к вашей технике детали введите в поиск код продукта или свяжитесь с дилером
Шайба DIN 9021
Корзина будет доступна
после авторизации
67 12 WGR 1518 182 101419261 12 WGR 1518 182
Номер позиции: 67
Кол-во позиций: 1
Начало, дата: 01.07.2014
Окончание, дата: -
101419261
1 01.07.2014 Шайба
Корзина будет доступна
после авторизации
68 20 WGR 1518 182 101439375 20 WGR 1518 182
Номер позиции: 68
Кол-во позиций: 24
Начало, дата: 01.07.2014
Окончание, дата: -
101439375
24 01.07.2014 Шайба
Корзина будет доступна
после авторизации
Запрос на смену дилера
Сообщение для дилера
Заявка на ремонт