Список узлов

RSM 161

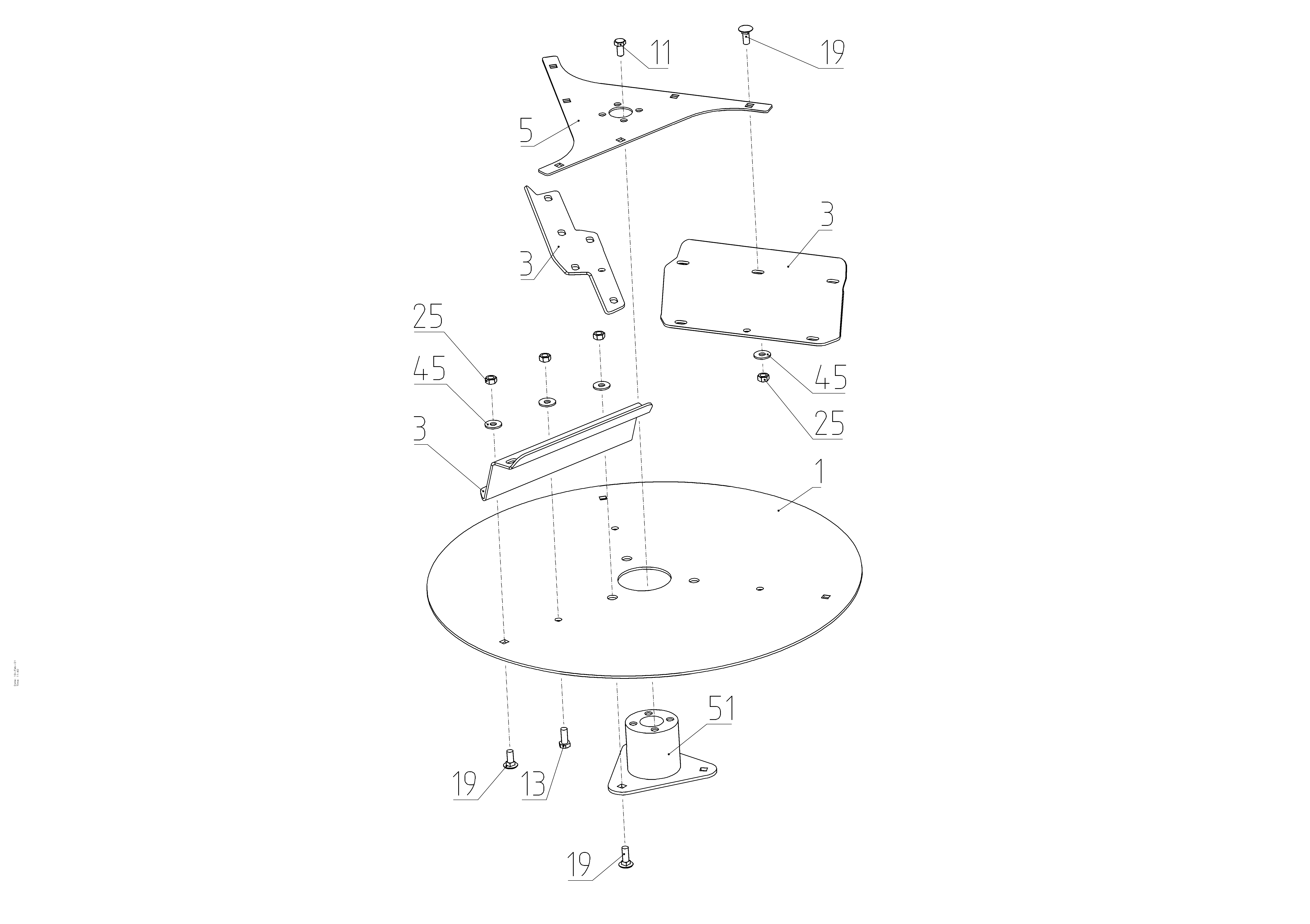
RSM 161 - Диск

Мост задний 161.02.00.000Ф
Камера наклонная 161.03.00.000Ф
Мост передний 161.04.00.000Ф
Установка моторная 161.05.00.000Ф
Место рабочее 161.06.00.000Ф
Площадка 161.07.00.000Ф
Гидрооборудование 161.09.00.000Ф
Электрооборудование 161.10.00.000Ф
Очистка 161.11.00.000Ф
Измельчитель-разбрасыватель 161.14.00.000Ф
Блок молотильный 161.15.00.000Ф
Каркас 161.30.00.000Ф
Бункер 161.45.00.000Ф
Устройства транспортирующие 161.50.00.000Ф
Капоты 161.56.00.000Ф
Дополнительное оборудование 161.77.00.000Ф

Поиск по деталям узла Детали узла

Сроки доставки и цены будут отображаться после авторизации

Цены и корзина будут доступны после авторизации

Поз. Код Чертежный номер Кол-во позиций Начало, дата Окончание, дата Наименование
1 161.14.04.407 101618591 161.14.04.407
Номер позиции: 1
Кол-во позиций: 1
Начало, дата: 01.07.2017
Окончание, дата: -
101618591
1 01.07.2017 Диск
Корзина будет доступна
после авторизации
3 161.14.04.408 101618578 161.14.04.408
Номер позиции: 3
Кол-во позиций: 3
Начало, дата: 01.07.2017
Окончание, дата: -
101618578
3 01.07.2017 Лопасть
Корзина будет доступна
после авторизации
5 161.14.04.409 101618561 161.14.04.409
Номер позиции: 5
Кол-во позиций: 1
Начало, дата: 01.07.2017
Окончание, дата: -
101618561
1 01.07.2017 Накладка
Корзина будет доступна
после авторизации
11 М10-6gx20.88.35.019 100719503 М10-6gx20.88.35.019
Номер позиции: 11
Кол-во позиций: 4
Начало, дата: 01.07.2017
Окончание, дата: -
100719503
4 01.07.2017
Для выбора подходящей к вашей технике детали введите в поиск код продукта или свяжитесь с дилером
Болт ГОСТ 7798-70
Корзина будет доступна
после авторизации
11 М10x20-8.8-zinc plated DIN 933 101701469 М10x20-8.8-zinc plated DIN 933
Номер позиции: 11
Кол-во позиций: 1
Начало, дата: 01.07.2017
Окончание, дата: -
101701469
1 01.07.2017
Для выбора подходящей к вашей технике детали введите в поиск код продукта или свяжитесь с дилером
Болт с шестигранной головкой
Корзина будет доступна
после авторизации
13 М10-6gx25.88.35.019 ГОСТ 7798-70 100118720 М10-6gx25.88.35.019 ГОСТ 7798-70
Номер позиции: 13
Кол-во позиций: 3
Начало, дата: 01.07.2017
Окончание, дата: -
100118720
3 01.07.2017
Для выбора подходящей к вашей технике детали введите в поиск код продукта или свяжитесь с дилером
Болт
Корзина будет доступна
после авторизации
13 М10x25-8.8-zinc plated 101700806 М10x25-8.8-zinc plated
Номер позиции: 13
Кол-во позиций: 1
Начало, дата: 01.07.2017
Окончание, дата: -
101700806
1 01.07.2017
Для выбора подходящей к вашей технике детали введите в поиск код продукта или свяжитесь с дилером
Болт с шестигранной головкой DIN 933
Корзина будет доступна
после авторизации
19 М10х25.46.019 100166019 М10х25.46.019
Номер позиции: 19
Кол-во позиций: 9
Начало, дата: 01.07.2017
Окончание, дата: -
100166019
9 01.07.2017 Болт ГОСТ 7802-81
Корзина будет доступна
после авторизации
25 М10-6Н.6.019 100007663 М10-6Н.6.019
Номер позиции: 25
Кол-во позиций: 15
Начало, дата: 01.07.2017
Окончание, дата: -
100007663
15 01.07.2017
Для выбора подходящей к вашей технике детали введите в поиск код продукта или свяжитесь с дилером
Гайка ГОСТ 5915-70
Корзина будет доступна
после авторизации
25 M10-8-zinc plated DIN 934 101701171 M10-8-zinc plated DIN 934
Номер позиции: 25
Кол-во позиций: 15
Начало, дата: 01.07.2017
Окончание, дата: -
101701171
15 01.07.2017
Для выбора подходящей к вашей технике детали введите в поиск код продукта или свяжитесь с дилером
Гайка шестигранная
Корзина будет доступна
после авторизации
25 M10-6-zinc plated 101701172 M10-6-zinc plated
Номер позиции: 25
Кол-во позиций: 10
Начало, дата: 01.07.2017
Окончание, дата: -
101701172
10 01.07.2017
Для выбора подходящей к вашей технике детали введите в поиск код продукта или свяжитесь с дилером
Гайка шестигранная DIN 934
Корзина будет доступна
после авторизации
45 10 WGR 1520 182 101421714 10 WGR 1520 182
Номер позиции: 45
Кол-во позиций: 15
Начало, дата: 01.07.2017
Окончание, дата: -
101421714
15 01.07.2017 Шайба
Корзина будет доступна
после авторизации
51 152.14.14.060-01 101532787 152.14.14.060-01
Номер позиции: 51
Кол-во позиций: 1
Начало, дата: 01.07.2017
Окончание, дата: -
101532787
1 01.07.2017 Диск
Корзина будет доступна
после авторизации
Запрос на смену дилера
Сообщение для дилера
Заявка на ремонт