Список узлов

RSM 161

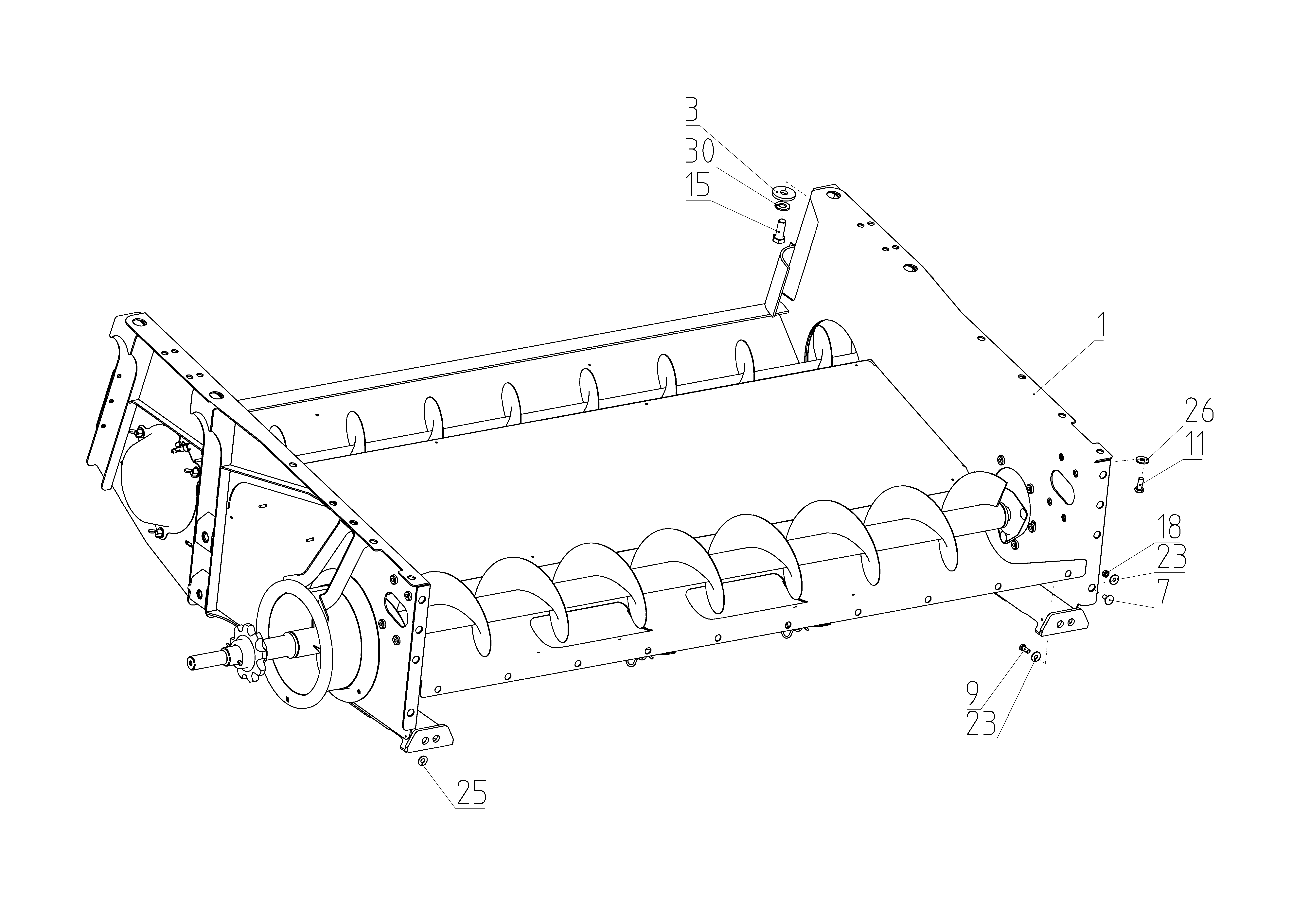
RSM 161 - Установка блока шнеков

Мост задний 161.02.00.000Ф
Камера наклонная 161.03.00.000Ф
Мост передний 161.04.00.000Ф
Установка моторная 161.05.00.000Ф
Место рабочее 161.06.00.000Ф
Площадка 161.07.00.000Ф
Гидрооборудование 161.09.00.000Ф
Электрооборудование 161.10.00.000Ф
Очистка 161.11.00.000Ф
Измельчитель-разбрасыватель 161.14.00.000Ф
Блок молотильный 161.15.00.000Ф
Каркас 161.30.00.000Ф
Бункер 161.45.00.000Ф
Устройства транспортирующие 161.50.00.000Ф
Капоты 161.56.00.000Ф
Дополнительное оборудование 161.77.00.000Ф

Поиск по деталям узла Детали узла

Сроки доставки и цены будут отображаться после авторизации

Цены и корзина будут доступны после авторизации

Поз. Код Чертежный номер Кол-во позиций Начало, дата Окончание, дата Наименование
1 161.11.15.010 102203898 161.11.15.010
Номер позиции: 1
Кол-во позиций: 1
Начало, дата: 01.01.2016
Окончание, дата: -
102203898
1 01.01.2016 Блок шнеков
3 161.29.03.413 102145389 161.29.03.413
Номер позиции: 3
Кол-во позиций: 4
Начало, дата: 01.01.2016
Окончание, дата: -
102145389
4 01.01.2016 Шайба
Корзина будет доступна
после авторизации
7 М8x20-8.8-flZnyc(flZnncL)-480h DIN 603 101894118 М8x20-8.8-flZnyc(flZnncL)-480h DIN 603
Номер позиции: 7
Кол-во позиций: 6
Начало, дата: 14.04.2017
Окончание, дата: 06.06.2019
101894118
6 14.04.2017 06.06.2019 Болт с полукруглой низкой головкой
Корзина будет доступна
после авторизации
9 М8x20-8.8-flZnyc(flZnncL)-480h DIN 933 101863324 М8x20-8.8-flZnyc(flZnncL)-480h DIN 933
Номер позиции: 9
Кол-во позиций: 10
Начало, дата: 01.01.2016
Окончание, дата: 14.04.2017
101863324
10 01.01.2016 14.04.2017 Болт с шестигранной головкой
Корзина будет доступна
после авторизации
11 М10x25-8.8-flZnyc(flZnncL)-480h DIN 933 101863319 М10x25-8.8-flZnyc(flZnncL)-480h DIN 933
Номер позиции: 11
Кол-во позиций: 13
Начало, дата: 01.01.2016
Окончание, дата: -
101863319
13 01.01.2016 Болт с шестигранной головкой
Корзина будет доступна
после авторизации
15 М16x40-8.8-flZnyc(flZnncL)-480h 101863161 М16x40-8.8-flZnyc(flZnncL)-480h
Номер позиции: 15
Кол-во позиций: 4
Начало, дата: 01.01.2016
Окончание, дата: -
101863161
4 01.01.2016 Болт с шестигранной головкой DIN 933
Корзина будет доступна
после авторизации
18 M8-8-flZnyc(flZnncL)-480h DIN 934 101864041 M8-8-flZnyc(flZnncL)-480h DIN 934
Номер позиции: 18
Кол-во позиций: 8
Начало, дата: 01.01.2016
Окончание, дата: 14.04.2017
101864041
8 01.01.2016 14.04.2017 Гайка шестигранная
Корзина будет доступна
после авторизации
23 8 WGR 1520 182 101421713 8 WGR 1520 182
Номер позиции: 23
Кол-во позиций: 18
Начало, дата: 01.01.2016
Окончание, дата: -
101421713
18 01.01.2016 Шайба
Корзина будет доступна
после авторизации
25 10 WGR 1518 182 101421712 10 WGR 1518 182
Номер позиции: 25
Кол-во позиций: 4
Начало, дата: 01.01.2016
Окончание, дата: -
101421712
4 01.01.2016 Шайба
Корзина будет доступна
после авторизации
26 10 WGR 1520 182 101421714 10 WGR 1520 182
Номер позиции: 26
Кол-во позиций: 9
Начало, дата: 01.01.2016
Окончание, дата: -
101421714
9 01.01.2016 Шайба
Корзина будет доступна
после авторизации
30 16 WGR 1518 182 101437281 16 WGR 1518 182
Номер позиции: 30
Кол-во позиций: 4
Начало, дата: 01.01.2016
Окончание, дата: -
101437281
4 01.01.2016 Шайба
Корзина будет доступна
после авторизации
Запрос на смену дилера
Сообщение для дилера
Заявка на ремонт