Список узлов

RSM 161

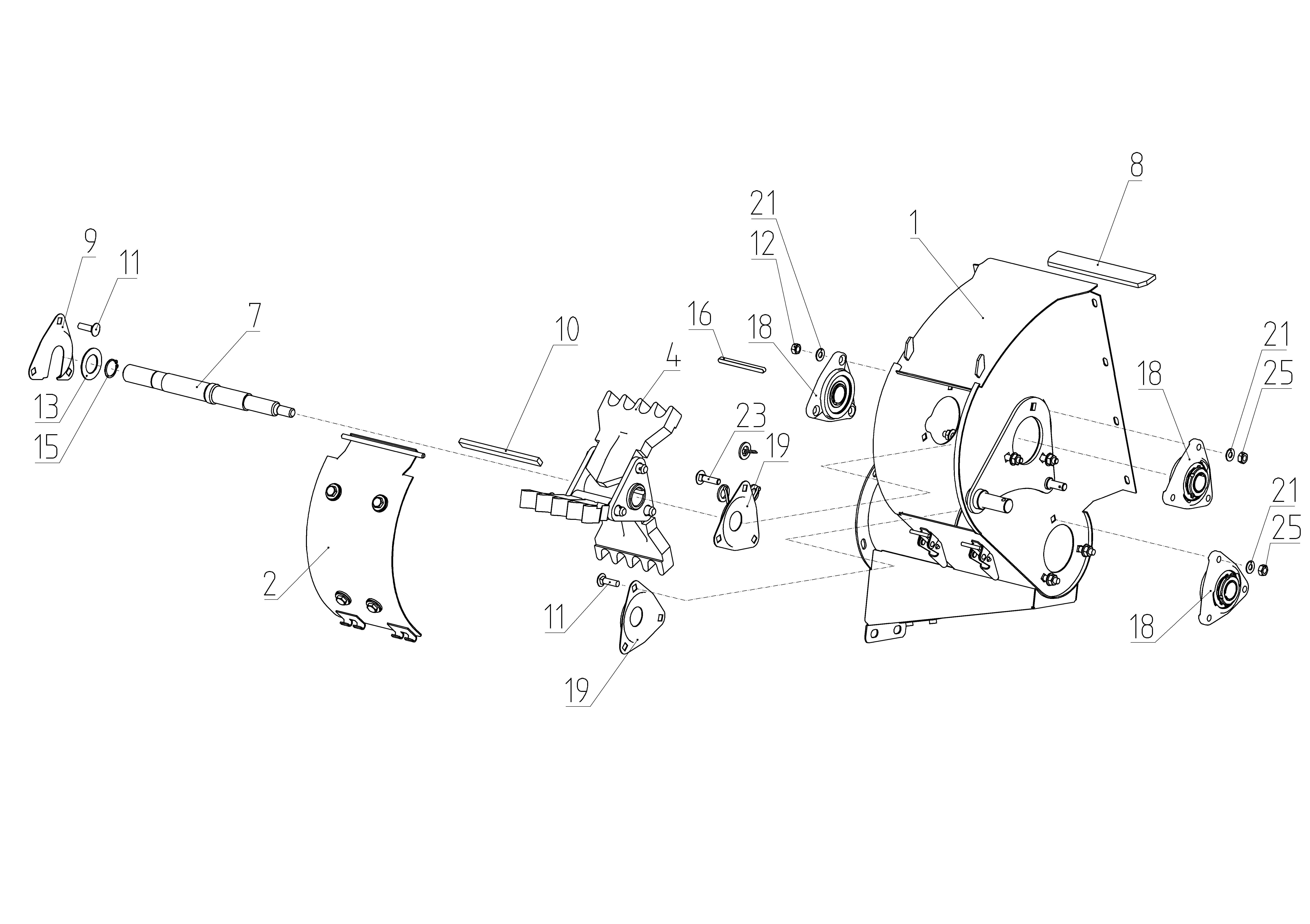
RSM 161 - Устройство домолачивающее

Мост задний 161.02.00.000Ф
Камера наклонная 161.03.00.000Ф
Мост передний 161.04.00.000Ф
Установка моторная 161.05.00.000Ф
Место рабочее 161.06.00.000Ф
Площадка 161.07.00.000Ф
Гидрооборудование 161.09.00.000Ф
Электрооборудование 161.10.00.000Ф
Очистка 161.11.00.000Ф
Измельчитель-разбрасыватель 161.14.00.000Ф
Блок молотильный 161.15.00.000Ф
Каркас 161.30.00.000Ф
Панель правая 161.30.03.000Ф
Устройство домолачивающее 161.30.07.000Ф
Бункер 161.45.00.000Ф
Устройства транспортирующие 161.50.00.000Ф
Капоты 161.56.00.000Ф
Дополнительное оборудование 161.77.00.000Ф

Поиск по деталям узла Детали узла

Сроки доставки и цены будут отображаться после авторизации

Цены и корзина будут доступны после авторизации

Поз. Код Чертежный номер Кол-во позиций Начало, дата Окончание, дата Наименование
1 161.50.07.020 101565778 161.50.07.020
Номер позиции: 1
Кол-во позиций: 1
Начало, дата: 01.01.2016
Окончание, дата: -
101565778
1 01.01.2016 Корпус
Корзина будет доступна
после авторизации
2 161.50.07.050 101564318 161.50.07.050
Номер позиции: 2
Кол-во позиций: 1
Начало, дата: 01.01.2016
Окончание, дата: -
101564318
1 01.01.2016 Крышка
4 181.21.12.120 100711022 181.21.12.120
Номер позиции: 4
Кол-во позиций: 1
Начало, дата: 01.01.2016
Окончание, дата: -
100711022
1 01.01.2016 Ротор
7 161.50.07.601А 102182958 161.50.07.601А
Номер позиции: 7
Кол-во позиций: 1
Начало, дата: 01.01.2016
Окончание, дата: -
102182958
1 01.01.2016 Вал
Корзина будет доступна
после авторизации
8 161.50.07.002 102182963 161.50.07.002
Номер позиции: 8
Кол-во позиций: 1
Начало, дата: 01.01.2016
Окончание, дата: -
102182963
1 01.01.2016 Уплотнение
Корзина будет доступна
после авторизации
9 РСМ-10.01.39.406 100039990 РСМ-10.01.39.406
Номер позиции: 9
Кол-во позиций: 1
Начало, дата: 01.01.2016
Окончание, дата: -
100039990
1 01.01.2016 Крышка Подшипника
Корзина будет доступна
после авторизации
10 181.21.12.001 100833982 181.21.12.001
Номер позиции: 10
Кол-во позиций: 1
Начало, дата: 01.01.2016
Окончание, дата: -
100833982
1 01.01.2016 Уплотнение
Корзина будет доступна
после авторизации
11 М10х35.46.019 100165643 М10х35.46.019
Номер позиции: 11
Кол-во позиций: 6
Начало, дата: 01.01.2016
Окончание, дата: -
100165643
6 01.01.2016 Болт ГОСТ 7802-81
Корзина будет доступна
после авторизации
12 М10-6Н.6.019 100007663 М10-6Н.6.019
Номер позиции: 12
Кол-во позиций: 3
Начало, дата: 01.01.2016
Окончание, дата: -
100007663
3 01.01.2016
Для выбора подходящей к вашей технике детали введите в поиск код продукта или свяжитесь с дилером
Гайка ГОСТ 5915-70
Корзина будет доступна
после авторизации
12 M10-8-zinc plated DIN 934 101701171 M10-8-zinc plated DIN 934
Номер позиции: 12
Кол-во позиций: 3
Начало, дата: 01.01.2016
Окончание, дата: -
101701171
3 01.01.2016
Для выбора подходящей к вашей технике детали введите в поиск код продукта или свяжитесь с дилером
Гайка шестигранная
Корзина будет доступна
после авторизации
12 M10-6-zinc plated 101701172 M10-6-zinc plated
Номер позиции: 12
Кол-во позиций: 10
Начало, дата: 01.01.2016
Окончание, дата: -
101701172
10 01.01.2016
Для выбора подходящей к вашей технике детали введите в поиск код продукта или свяжитесь с дилером
Гайка шестигранная DIN 934
Корзина будет доступна
после авторизации
13 C.30х2.01.019 100108048 C.30х2.01.019
Номер позиции: 13
Кол-во позиций: 1
Начало, дата: 01.01.2016
Окончание, дата: -
100108048
1 01.01.2016 Шайба ГОСТ 11371-78
Корзина будет доступна
после авторизации
15 С30 100015157 С30
Номер позиции: 15
Кол-во позиций: 1
Начало, дата: 01.01.2016
Окончание, дата: -
100015157
1 01.01.2016 Кольцо ГОСТ 13942-86
Корзина будет доступна
после авторизации
16 8x7x100 100172384 8x7x100
Номер позиции: 16
Кол-во позиций: 1
Начало, дата: 01.01.2016
Окончание, дата: -
100172384
1 01.01.2016 Шпонка ГОСТ 23360-78
Корзина будет доступна
после авторизации
18 Н.027.01.040 100059200 Н.027.01.040
Номер позиции: 18
Кол-во позиций: 3
Начало, дата: 01.01.2016
Окончание, дата: -
100059200
3 01.01.2016 Опора
19 Н.166.204 100300035 Н.166.204
Номер позиции: 19
Кол-во позиций: 2
Начало, дата: 01.01.2016
Окончание, дата: -
100300035
2 01.01.2016 Крышка Подшипника
Корзина будет доступна
после авторизации
21 10 WGR 1518 182 101421712 10 WGR 1518 182
Номер позиции: 21
Кол-во позиций: 9
Начало, дата: 01.01.2016
Окончание, дата: -
101421712
9 01.01.2016 Шайба
Корзина будет доступна
после авторизации
23 М10x40-8.8-flZnyc(flZnncL)-480h DIN 603 101887156 М10x40-8.8-flZnyc(flZnncL)-480h DIN 603
Номер позиции: 23
Кол-во позиций: 3
Начало, дата: 01.01.2016
Окончание, дата: -
101887156
3 01.01.2016 Болт с полукруглой низкой головкой
Корзина будет доступна
после авторизации
25 M10-8-flZnyc(flZnncL)-480h 101864035 M10-8-flZnyc(flZnncL)-480h
Номер позиции: 25
Кол-во позиций: 6
Начало, дата: 01.01.2016
Окончание, дата: -
101864035
6 01.01.2016 Гайка шестигранная DIN 934
Корзина будет доступна
после авторизации
Запрос на смену дилера
Сообщение для дилера
Заявка на ремонт