Список узлов

RSM 161

RSM 161 - Пылесос

Мост задний 161.02.00.000Ф
Камера наклонная 161.03.00.000Ф
Мост передний 161.04.00.000Ф
Установка моторная 161.05.00.000Ф
Система питания топливом 161.05.01.000Ф
Система охлаждения 161.05.03.000Ф
Система отвода отработавших газов 161.05.04.000Ф
Рама подмоторная 161.05.05.000-01Ф
Подмоторная рама 161.05.05.000Ф
Система слива масла 161.05.08.000-02Ф
ДВИГАТЕЛЬ L9 RSM-L9-S0-415
ДВИГАТЕЛЬ L9 RSM-L9-S5-430
Двигатель QSL8.9 RSM-QSL-360 (SO60934)
Двигатель QSL8.9 RSM-QSL-360-R1 (SO60934)
Двигатель QSL8.9 RSM-QSL-360-R2 (SO60934)
Двигатель QSL8.9 RSM-QSL-360-R3(SO60934)
Двигатель QSL8.9 RSM-QSL-360-R4 (SO60934)
ДВИГАТЕЛЬ QSL8.9 RSMQSL360ZCKR2(SO81002)
ДВИГАТЕЛЬ QSL8.9-RSMQSL360ZCKR3(SO81002)
Двигатель QSL9 Tier4F RSM-QSL-T4F-350
ДВИГАТЕЛЬ QSL9 TIER4F RSM-QSL-T4F-350-R1
Место рабочее 161.06.00.000Ф
Площадка 161.07.00.000Ф
Гидрооборудование 161.09.00.000Ф
Электрооборудование 161.10.00.000Ф
Очистка 161.11.00.000Ф
Измельчитель-разбрасыватель 161.14.00.000Ф
Блок молотильный 161.15.00.000Ф
Каркас 161.30.00.000Ф
Бункер 161.45.00.000Ф
Устройства транспортирующие 161.50.00.000Ф
Капоты 161.56.00.000Ф
Дополнительное оборудование 161.77.00.000Ф

Поиск по деталям узла Детали узла

Сроки доставки и цены будут отображаться после авторизации

Цены и корзина будут доступны после авторизации

Поз. Код Чертежный номер Кол-во позиций Начало, дата Окончание, дата Наименование
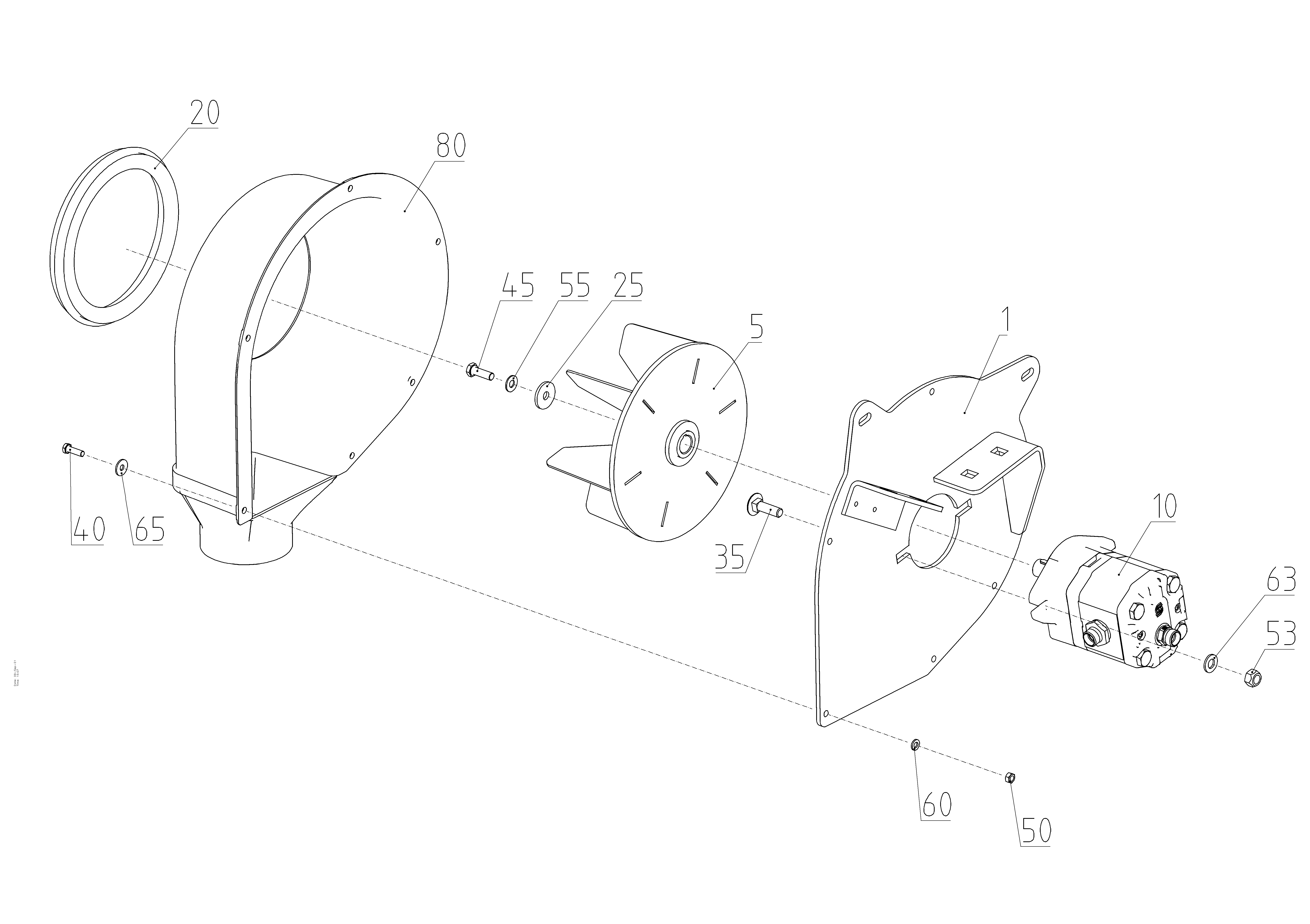
1 161.05.59.360 102808731 161.05.59.360
Номер позиции: 1
Кол-во позиций: 1
Начало, дата: 01.05.2021
Окончание, дата: -
102808731
1 01.05.2021 Опора
Корзина будет доступна
после авторизации
5 161.05.59.580 102844161 161.05.59.580
Номер позиции: 5
Кол-во позиций: 1
Начало, дата: 01.05.2021
Окончание, дата: -
102844161
1 01.05.2021 Ротор
Корзина будет доступна
после авторизации
10 161.09.55.700 102849016 161.09.55.700
Номер позиции: 10
Кол-во позиций: 1
Начало, дата: 01.05.2021
Окончание, дата: -
102849016
1 01.05.2021 Гидромотор
20 101.05.00.009-01 100247663 101.05.00.009-01
Номер позиции: 20
Кол-во позиций: 1
Начало, дата: 01.05.2021
Окончание, дата: -
100247663
1 01.05.2021
Для выбора подходящей к вашей технике детали введите в поиск код продукта или свяжитесь с дилером
Уплотнитель
Корзина будет доступна
после авторизации
20 101.05.00.061-01 101963707 101.05.00.061-01
Номер позиции: 20
Кол-во позиций: 1
Начало, дата: 01.05.2021
Окончание, дата: -
101963707
1 01.05.2021
Для выбора подходящей к вашей технике детали введите в поиск код продукта или свяжитесь с дилером
Уплотнитель
Корзина будет доступна
после авторизации
25 181.05.37.464 101413494 181.05.37.464
Номер позиции: 25
Кол-во позиций: 1
Начало, дата: 01.05.2021
Окончание, дата: -
101413494
1 01.05.2021 Шайба
Корзина будет доступна
после авторизации
35 М10x35-8.8-flZnyc(flZnncL)-480h DIN 603 101951804 М10x35-8.8-flZnyc(flZnncL)-480h DIN 603
Номер позиции: 35
Кол-во позиций: 2
Начало, дата: 01.05.2021
Окончание, дата: -
101951804
2 01.05.2021 Болт с полукруглой низкой головкой
Корзина будет доступна
после авторизации
40 М6x20-8.8-flZnyc(flZnncL)-480h DIN 933 101863321 М6x20-8.8-flZnyc(flZnncL)-480h DIN 933
Номер позиции: 40
Кол-во позиций: 5
Начало, дата: 01.05.2021
Окончание, дата: -
101863321
5 01.05.2021 Болт с шестигранной головкой
Корзина будет доступна
после авторизации
45 М8x25-8.8-flZnyc(flZnncL)-480h DIN 933 101863325 М8x25-8.8-flZnyc(flZnncL)-480h DIN 933
Номер позиции: 45
Кол-во позиций: 1
Начало, дата: 01.05.2021
Окончание, дата: -
101863325
1 01.05.2021 Болт с шестигранной головкой
Корзина будет доступна
после авторизации
50 M6-8-flZnyc(flZnncL)-480h 101864040 M6-8-flZnyc(flZnncL)-480h
Номер позиции: 50
Кол-во позиций: 5
Начало, дата: 01.05.2021
Окончание, дата: -
101864040
5 01.05.2021 Гайка шестигранная DIN 934
Корзина будет доступна
после авторизации
53 M10-8-zinc plated ISO 7042 100636948 M10-8-zinc plated ISO 7042
Номер позиции: 53
Кол-во позиций: 2
Начало, дата: 01.05.2021
Окончание, дата: -
100636948
2 01.05.2021 Гайка шестигранная
Корзина будет доступна
после авторизации
55 8 WGR 1518 182 101421711 8 WGR 1518 182
Номер позиции: 55
Кол-во позиций: 1
Начало, дата: 01.05.2021
Окончание, дата: -
101421711
1 01.05.2021 Шайба
Корзина будет доступна
после авторизации
60 6,4-200 HV-flZnyc(flZnncL)-480h 101864047 6,4-200 HV-flZnyc(flZnncL)-480h
Номер позиции: 60
Кол-во позиций: 5
Начало, дата: 01.05.2021
Окончание, дата: -
101864047
5 01.05.2021 Шайба DIN 125-A
Корзина будет доступна
после авторизации
63 10,5-200 HV-flZnyc(flZnncL)-480h 101866739 10,5-200 HV-flZnyc(flZnncL)-480h
Номер позиции: 63
Кол-во позиций: 2
Начало, дата: 01.05.2021
Окончание, дата: -
101866739
2 01.05.2021 Шайба DIN 125-A
Корзина будет доступна
после авторизации
65 6,4-100HV-flZnyc(flZnncL)-480h 101968051 6,4-100HV-flZnyc(flZnncL)-480h
Номер позиции: 65
Кол-во позиций: 5
Начало, дата: 01.05.2021
Окончание, дата: -
101968051
5 01.05.2021 Шайба DIN 9021
Корзина будет доступна
после авторизации
80 ОТ-19.01.04.000 101634623 ОТ-19.01.04.000
Номер позиции: 80
Кол-во позиций: 1
Начало, дата: 01.05.2021
Окончание, дата: -
101634623
1 01.05.2021
Для выбора подходящей к вашей технике детали введите в поиск код продукта или свяжитесь с дилером
Улитка
Корзина будет доступна
после авторизации
80 9003040120 102924855 9003040120
Номер позиции: 80
Кол-во позиций: 1
Начало, дата: 01.05.2021
Окончание, дата: -
102924855
1 01.05.2021
Для выбора подходящей к вашей технике детали введите в поиск код продукта или свяжитесь с дилером
Корпус
Корзина будет доступна
после авторизации
Запрос на смену дилера
Сообщение для дилера
Заявка на ремонт