Список узлов

RSM 161

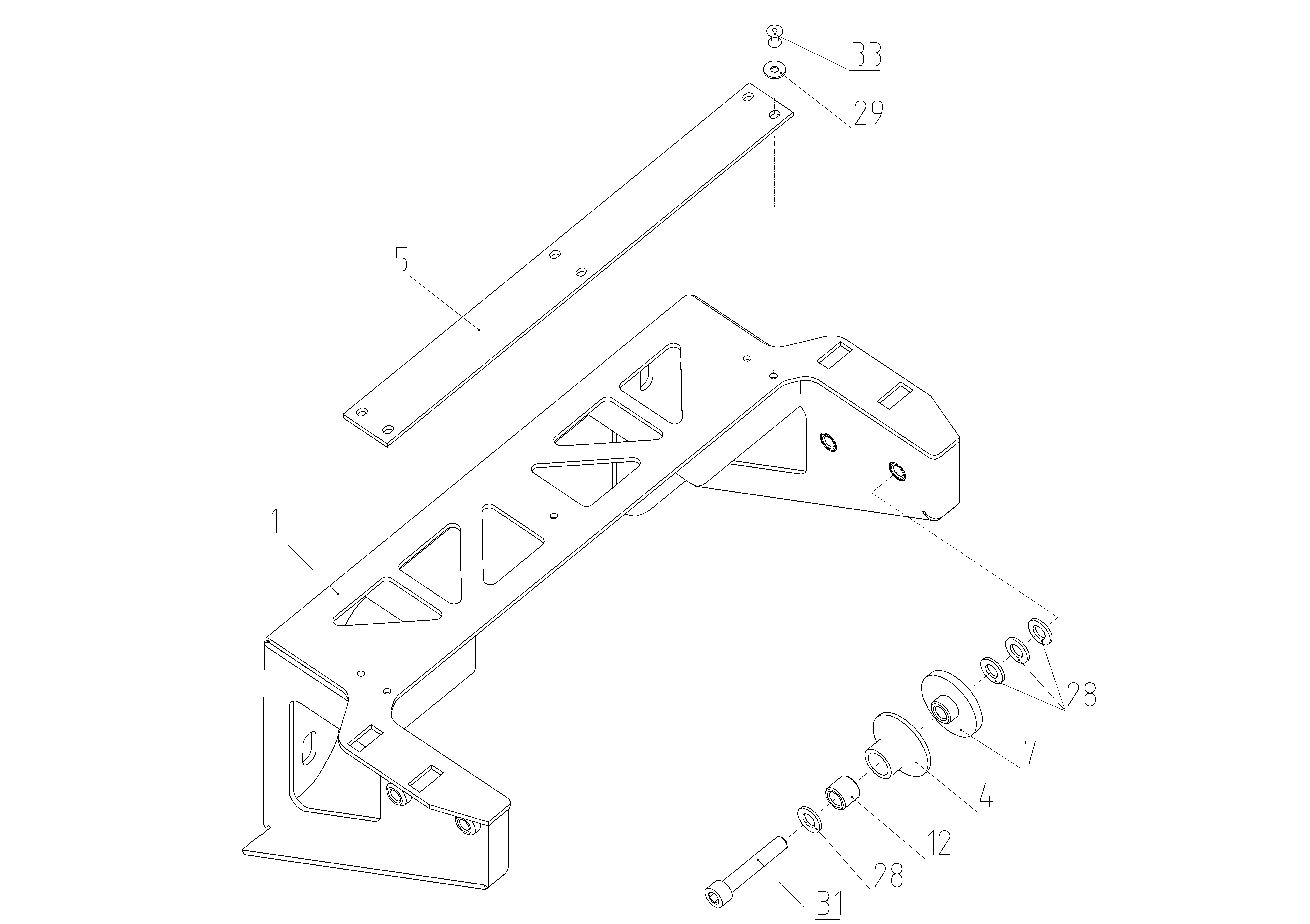
RSM 161 - Опора

Мост задний 161.02.00.000Ф
Камера наклонная 161.03.00.000Ф
Мост передний 161.04.00.000Ф
Установка моторная 161.05.00.000Ф
Место рабочее 161.06.00.000Ф
Площадка 161.07.00.000Ф
Гидрооборудование 161.09.00.000Ф
Электрооборудование 161.10.00.000Ф
Очистка 161.11.00.000Ф
Измельчитель-разбрасыватель 161.14.00.000Ф
Блок молотильный 161.15.00.000Ф
Каркас 161.30.00.000Ф
Панель правая 161.30.03.000Ф
Устройство домолачивающее 161.30.07.000Ф
Бункер 161.45.00.000Ф
Устройства транспортирующие 161.50.00.000Ф
Капоты 161.56.00.000Ф
Дополнительное оборудование 161.77.00.000Ф

Поиск по деталям узла Детали узла

Сроки доставки и цены будут отображаться после авторизации

Цены и корзина будут доступны после авторизации

Поз. Код Чертежный номер Кол-во позиций Начало, дата Окончание, дата Наименование
1 161.58.31.170 101911885 161.58.31.170
Номер позиции: 1
Кол-во позиций: 1
Начало, дата: 02.11.2015
Окончание, дата: -
101911885
1 02.11.2015 Кронштейн
Корзина будет доступна
после авторизации
4 161.58.31.005 102054508 161.58.31.005
Номер позиции: 4
Кол-во позиций: 4
Начало, дата: 02.11.2015
Окончание, дата: -
102054508
4 02.11.2015 Ролик
Корзина будет доступна
после авторизации
5 161.58.31.008 102372494 161.58.31.008
Номер позиции: 5
Кол-во позиций: 1
Начало, дата: 02.01.2017
Окончание, дата: 01.06.2017
102372494
1 02.01.2017 01.06.2017
Для выбора подходящей к вашей технике детали введите в поиск код продукта или свяжитесь с дилером
Отлив
Корзина будет доступна
после авторизации
5 161.58.31.008A 102464664 161.58.31.008A
Номер позиции: 5
Кол-во позиций: 1
Начало, дата: 01.06.2017
Окончание, дата: -
102464664
1 01.06.2017
Для выбора подходящей к вашей технике детали введите в поиск код продукта или свяжитесь с дилером
Отлив
Корзина будет доступна
после авторизации
7 161.58.31.445 102070717 161.58.31.445
Номер позиции: 7
Кол-во позиций: 4
Начало, дата: 02.11.2015
Окончание, дата: -
102070717
4 02.11.2015 Втулка
Корзина будет доступна
после авторизации
12 161.58.31.606 102054511 161.58.31.606
Номер позиции: 12
Кол-во позиций: 4
Начало, дата: 02.11.2015
Окончание, дата: -
102054511
4 02.11.2015 Втулка
Корзина будет доступна
после авторизации
28 С10.01.019 100108064 С10.01.019
Номер позиции: 28
Кол-во позиций: 16
Начало, дата: 01.01.2016
Окончание, дата: -
100108064
16 01.01.2016 Шайба ГОСТ 11371-78
Корзина будет доступна
после авторизации
29 C 5х1,4.01.019 100096117 C 5х1,4.01.019
Номер позиции: 29
Кол-во позиций: 5
Начало, дата: 02.01.2017
Окончание, дата: -
100096117
5 02.01.2017
Для выбора подходящей к вашей технике детали введите в поиск код продукта или свяжитесь с дилером
Шайба ГОСТ 6958-78
Корзина будет доступна
после авторизации
29 5,3-100HV-zinc plated 101702738 5,3-100HV-zinc plated
Номер позиции: 29
Кол-во позиций: 5
Начало, дата: 02.01.2017
Окончание, дата: -
101702738
5 02.01.2017
Для выбора подходящей к вашей технике детали введите в поиск код продукта или свяжитесь с дилером
Шайба DIN 9021
Корзина будет доступна
после авторизации
31 М10x60-10.9- flZnyc(flZnncL)-480h 102070770 М10x60-10.9- flZnyc(flZnncL)-480h
Номер позиции: 31
Кол-во позиций: 4
Начало, дата: 02.11.2015
Окончание, дата: -
102070770
4 02.11.2015 Винт с цилиндрической головкой DIN 912
Корзина будет доступна
после авторизации
33 01260005014 101540341 01260005014
Номер позиции: 33
Кол-во позиций: 5
Начало, дата: 02.01.2017
Окончание, дата: -
101540341
5 02.01.2017 Заклепка вытяжная
Корзина будет доступна
после авторизации
Запрос на смену дилера
Сообщение для дилера
Заявка на ремонт