Список узлов

RSM 161

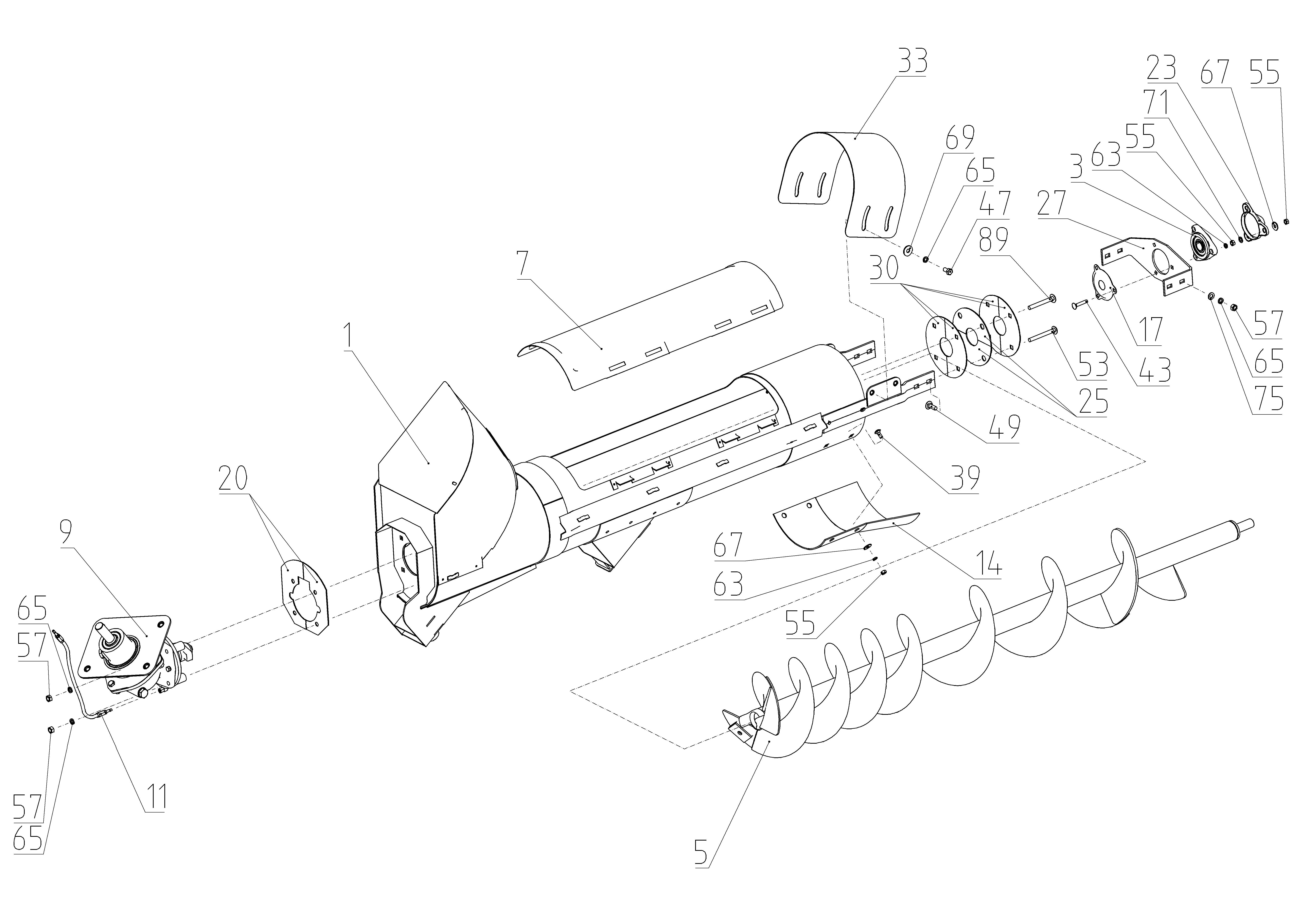
RSM 161 - Шнек загрузочный

Мост задний 161.02.00.000Ф
Камера наклонная 161.03.00.000Ф
Мост передний 161.04.00.000Ф
Установка моторная 161.05.00.000Ф
Место рабочее 161.06.00.000Ф
Площадка 161.07.00.000Ф
Гидрооборудование 161.09.00.000Ф
Электрооборудование 161.10.00.000Ф
Очистка 161.11.00.000Ф
Измельчитель-разбрасыватель 161.14.00.000Ф
Блок молотильный 161.15.00.000Ф
Каркас 161.30.00.000Ф
Бункер 161.45.00.000Ф
Основание 161.45.01.000Ф
Строение верхнее 161.45.02.000Ф
Устройства транспортирующие 161.50.00.000Ф
Капоты 161.56.00.000Ф
Дополнительное оборудование 161.77.00.000Ф

Поиск по деталям узла Детали узла

Сроки доставки и цены будут отображаться после авторизации

Цены и корзина будут доступны после авторизации

Поз. Код Чертежный номер Кол-во позиций Начало, дата Окончание, дата Наименование
1 161.47.01.010 102533943 161.47.01.010
Номер позиции: 1
Кол-во позиций: 1
Начало, дата: 01.05.2019
Окончание, дата: -
102533943
1 01.05.2019 Кожух шнека
Корзина будет доступна
после авторизации
3 Н.027.01.030 101916878 Н.027.01.030
Номер позиции: 3
Кол-во позиций: 1
Начало, дата: 01.05.2019
Окончание, дата: -
101916878
1 01.05.2019 Опора
5 161.47.02.020 102582792 161.47.02.020
Номер позиции: 5
Кол-во позиций: 1
Начало, дата: 01.05.2019
Окончание, дата: -
102582792
1 01.05.2019 Шнек
Корзина будет доступна
после авторизации
7 142.47.02.060А 101391277 142.47.02.060А
Номер позиции: 7
Кол-во позиций: 1
Начало, дата: 01.05.2019
Окончание, дата: -
101391277
1 01.05.2019 Крышка
Корзина будет доступна
после авторизации
9 181.47.02.040A 102846956 181.47.02.040A
Номер позиции: 9
Кол-во позиций: 1
Начало, дата: 01.05.2019
Окончание, дата: -
102846956
1 01.05.2019 Редуктор
14 181.47.02.270 101709431 181.47.02.270
Номер позиции: 14
Кол-во позиций: 1
Начало, дата: 01.05.2019
Окончание, дата: -
101709431
1 01.05.2019 Накладка
Корзина будет доступна
после авторизации
17 А54-43758 100405240 А54-43758
Номер позиции: 17
Кол-во позиций: 1
Начало, дата: 01.05.2019
Окончание, дата: -
100405240
1 01.05.2019 Крышка
Корзина будет доступна
после авторизации
20 181.47.02.403 100725294 181.47.02.403
Номер позиции: 20
Кол-во позиций: 2
Начало, дата: 01.05.2019
Окончание, дата: -
100725294
2 01.05.2019 Пластина
Корзина будет доступна
после авторизации
23 РСМ-10.01.47.011 100153387 РСМ-10.01.47.011
Номер позиции: 23
Кол-во позиций: 1
Начало, дата: 01.05.2019
Окончание, дата: -
100153387
1 01.05.2019 Колпачок
Корзина будет доступна
после авторизации
25 142.47.02.003 101425258 142.47.02.003
Номер позиции: 25
Кол-во позиций: 2
Начало, дата: 01.05.2019
Окончание, дата: -
101425258
2 01.05.2019 Уплотнение
Корзина будет доступна
после авторизации
27 142.47.02.439 101390872 142.47.02.439
Номер позиции: 27
Кол-во позиций: 1
Начало, дата: 01.05.2019
Окончание, дата: 01.11.2022
101390872
1 01.05.2019 01.11.2022
Для выбора подходящей к вашей технике детали введите в поиск код продукта или свяжитесь с дилером
Накладка
Корзина будет доступна
после авторизации
27 142.47.02.439А 103532559 142.47.02.439А
Номер позиции: 27
Кол-во позиций: 1
Начало, дата: 01.11.2022
Окончание, дата: -
103532559
1 01.11.2022
Для выбора подходящей к вашей технике детали введите в поиск код продукта или свяжитесь с дилером
Накладка
Корзина будет доступна
после авторизации
30 142.47.02.445А 102212376 142.47.02.445А
Номер позиции: 30
Кол-во позиций: 4
Начало, дата: 01.05.2019
Окончание, дата: -
102212376
4 01.05.2019 Диск
Корзина будет доступна
после авторизации
33 181.47.02.455 101708815 181.47.02.455
Номер позиции: 33
Кол-во позиций: 1
Начало, дата: 01.05.2019
Окончание, дата: -
101708815
1 01.05.2019 Кожух
Корзина будет доступна
после авторизации
39 М8х20.46.019 100127836 М8х20.46.019
Номер позиции: 39
Кол-во позиций: 4
Начало, дата: 01.05.2019
Окончание, дата: -
100127836
4 01.05.2019
Для выбора подходящей к вашей технике детали введите в поиск код продукта или свяжитесь с дилером
Болт ГОСТ 7802-81
Корзина будет доступна
после авторизации
39 М8x20-8.8-zinc plated DIN 603 101513651 М8x20-8.8-zinc plated DIN 603
Номер позиции: 39
Кол-во позиций: 4
Начало, дата: 01.05.2019
Окончание, дата: -
101513651
4 01.05.2019
Для выбора подходящей к вашей технике детали введите в поиск код продукта или свяжитесь с дилером
Болт с полукруглой низкой головкой
Корзина будет доступна
после авторизации
39 М8x20.8.8-zinc plated 101831929 М8x20.8.8-zinc plated
Номер позиции: 39
Кол-во позиций: 1
Начало, дата: 01.05.2019
Окончание, дата: -
101831929
1 01.05.2019
Для выбора подходящей к вашей технике детали введите в поиск код продукта или свяжитесь с дилером
Винт с полукруглой низкой головкой DIN 603
Корзина будет доступна
после авторизации
43 М8х45.46.019 100181771 М8х45.46.019
Номер позиции: 43
Кол-во позиций: 3
Начало, дата: 01.05.2019
Окончание, дата: -
100181771
3 01.05.2019
Для выбора подходящей к вашей технике детали введите в поиск код продукта или свяжитесь с дилером
Болт ГОСТ 7802-81
Корзина будет доступна
после авторизации
43 М8x45-8.8-zinc plated DIN 603 101701256 М8x45-8.8-zinc plated DIN 603
Номер позиции: 43
Кол-во позиций: 3
Начало, дата: 01.05.2019
Окончание, дата: -
101701256
3 01.05.2019
Для выбора подходящей к вашей технике детали введите в поиск код продукта или свяжитесь с дилером
Болт с полукруглой низкой головкой
Корзина будет доступна
после авторизации
47 М10-6gx20.88.35.019 100719503 М10-6gx20.88.35.019
Номер позиции: 47
Кол-во позиций: 4
Начало, дата: 01.05.2019
Окончание, дата: -
100719503
4 01.05.2019 Болт ГОСТ 7798-70
Корзина будет доступна
после авторизации
49 М10х30.46.019 100169205 М10х30.46.019
Номер позиции: 49
Кол-во позиций: 4
Начало, дата: 01.05.2019
Окончание, дата: -
100169205
4 01.05.2019
Для выбора подходящей к вашей технике детали введите в поиск код продукта или свяжитесь с дилером
Болт ГОСТ 7802-81
Корзина будет доступна
после авторизации
49 М10x30-8.8-zinc plated DIN 603 101701572 М10x30-8.8-zinc plated DIN 603
Номер позиции: 49
Кол-во позиций: 4
Начало, дата: 01.05.2019
Окончание, дата: -
101701572
4 01.05.2019
Для выбора подходящей к вашей технике детали введите в поиск код продукта или свяжитесь с дилером
Болт с полукруглой низкой головкой
Корзина будет доступна
после авторизации
53 М10х90.46.019 100175990 М10х90.46.019
Номер позиции: 53
Кол-во позиций: 2
Начало, дата: 01.05.2019
Окончание, дата: -
100175990
2 01.05.2019
Для выбора подходящей к вашей технике детали введите в поиск код продукта или свяжитесь с дилером
Болт ГОСТ 7802-81
Корзина будет доступна
после авторизации
53 М10x90-8.8-zinc plated DIN 603 101790835 М10x90-8.8-zinc plated DIN 603
Номер позиции: 53
Кол-во позиций: 2
Начало, дата: 01.05.2019
Окончание, дата: -
101790835
2 01.05.2019
Для выбора подходящей к вашей технике детали введите в поиск код продукта или свяжитесь с дилером
Болт с полукруглой низкой головкой
Корзина будет доступна
после авторизации
55 М8-6Н.6.019 ГОСТ 5915-70 100475836 М8-6Н.6.019 ГОСТ 5915-70
Номер позиции: 55
Кол-во позиций: 10
Начало, дата: 01.05.2019
Окончание, дата: -
100475836
10 01.05.2019
Для выбора подходящей к вашей технике детали введите в поиск код продукта или свяжитесь с дилером
Гайка
Корзина будет доступна
после авторизации
55 M8-8-zinc plated DIN 934 101701173 M8-8-zinc plated DIN 934
Номер позиции: 55
Кол-во позиций: 1
Начало, дата: 01.05.2019
Окончание, дата: -
101701173
1 01.05.2019
Для выбора подходящей к вашей технике детали введите в поиск код продукта или свяжитесь с дилером
Гайка шестигранная
Корзина будет доступна
после авторизации
57 М10-6Н.6.019 100007663 М10-6Н.6.019
Номер позиции: 57
Кол-во позиций: 8
Начало, дата: 01.05.2019
Окончание, дата: -
100007663
8 01.05.2019
Для выбора подходящей к вашей технике детали введите в поиск код продукта или свяжитесь с дилером
Гайка ГОСТ 5915-70
Корзина будет доступна
после авторизации
57 M10-8-zinc plated DIN 934 101701171 M10-8-zinc plated DIN 934
Номер позиции: 57
Кол-во позиций: 8
Начало, дата: 01.05.2019
Окончание, дата: -
101701171
8 01.05.2019
Для выбора подходящей к вашей технике детали введите в поиск код продукта или свяжитесь с дилером
Гайка шестигранная
Корзина будет доступна
после авторизации
57 M10-6-zinc plated 101701172 M10-6-zinc plated
Номер позиции: 57
Кол-во позиций: 10
Начало, дата: 01.05.2019
Окончание, дата: -
101701172
10 01.05.2019
Для выбора подходящей к вашей технике детали введите в поиск код продукта или свяжитесь с дилером
Гайка шестигранная DIN 934
Корзина будет доступна
после авторизации
63 8Т 65Г 019 100008163 8Т 65Г 019
Номер позиции: 63
Кол-во позиций: 7
Начало, дата: 01.05.2019
Окончание, дата: -
100008163
7 01.05.2019 Шайба ГОСТ 6402-70
Корзина будет доступна
после авторизации
65 10Т 65Г 019 100008164 10Т 65Г 019
Номер позиции: 65
Кол-во позиций: 12
Начало, дата: 01.05.2019
Окончание, дата: -
100008164
12 01.05.2019 Шайба ГОСТ 6402-70
Корзина будет доступна
после авторизации
67 С 8.01.019 100016593 С 8.01.019
Номер позиции: 67
Кол-во позиций: 7
Начало, дата: 01.05.2019
Окончание, дата: -
100016593
7 01.05.2019
Для выбора подходящей к вашей технике детали введите в поиск код продукта или свяжитесь с дилером
Шайба ГОСТ 6958-78
Корзина будет доступна
после авторизации
67 8,4-100HV-zinc plated 101701729 8,4-100HV-zinc plated
Номер позиции: 67
Кол-во позиций: 1
Начало, дата: 01.05.2019
Окончание, дата: -
101701729
1 01.05.2019
Для выбора подходящей к вашей технике детали введите в поиск код продукта или свяжитесь с дилером
Шайба DIN 9021
Корзина будет доступна
после авторизации
69 С 10.01.019 100105380 С 10.01.019
Номер позиции: 69
Кол-во позиций: 4
Начало, дата: 01.05.2019
Окончание, дата: -
100105380
4 01.05.2019
Для выбора подходящей к вашей технике детали введите в поиск код продукта или свяжитесь с дилером
Шайба ГОСТ 6958-78
Корзина будет доступна
после авторизации
69 10,5-100 HV-zinc plated 101703235 10,5-100 HV-zinc plated
Номер позиции: 69
Кол-во позиций: 2
Начало, дата: 01.05.2019
Окончание, дата: -
101703235
2 01.05.2019
Для выбора подходящей к вашей технике детали введите в поиск код продукта или свяжитесь с дилером
Шайба DIN 9021
Корзина будет доступна
после авторизации
71 С.8.01.019 100118630 С.8.01.019
Номер позиции: 71
Кол-во позиций: 3
Начало, дата: 01.05.2019
Окончание, дата: -
100118630
3 01.05.2019
Для выбора подходящей к вашей технике детали введите в поиск код продукта или свяжитесь с дилером
Шайба ГОСТ 11371-78
Корзина будет доступна
после авторизации
71 8,4-200 HV-zinc plated DIN 125-A 101704614 8,4-200 HV-zinc plated DIN 125-A
Номер позиции: 71
Кол-во позиций: 3
Начало, дата: 01.05.2019
Окончание, дата: -
101704614
3 01.05.2019
Для выбора подходящей к вашей технике детали введите в поиск код продукта или свяжитесь с дилером
Шайба
Корзина будет доступна
после авторизации
75 С10.01.019 100108064 С10.01.019
Номер позиции: 75
Кол-во позиций: 4
Начало, дата: 01.05.2019
Окончание, дата: -
100108064
4 01.05.2019
Для выбора подходящей к вашей технике детали введите в поиск код продукта или свяжитесь с дилером
Шайба ГОСТ 11371-78
Корзина будет доступна
после авторизации
75 10,5-200 HV-zinc plated DIN 125-A 101704487 10,5-200 HV-zinc plated DIN 125-A
Номер позиции: 75
Кол-во позиций: 4
Начало, дата: 01.05.2019
Окончание, дата: -
101704487
4 01.05.2019
Для выбора подходящей к вашей технике детали введите в поиск код продукта или свяжитесь с дилером
Шайба
Корзина будет доступна
после авторизации
89 М10x85-8.8-zinc plated DIN 603 101644677 М10x85-8.8-zinc plated DIN 603
Номер позиции: 89
Кол-во позиций: 2
Начало, дата: 01.05.2019
Окончание, дата: -
101644677
2 01.05.2019 Болт с полукруглой низкой головкой
Корзина будет доступна
после авторизации
Запрос на смену дилера
Сообщение для дилера
Заявка на ремонт