Список узлов

Ростсельмаш 2375 до 2018 года

Ростсельмаш 2375 до 2018 года - Установка грузов передних

Приводы LT.07.000
Приспособления и аксессуары LT.10.000
Колесные диски, одинарные и двойные 01A01
Тройные колесные диски только для усиленных мостов 01A02
Внутреннее колесо 01A03
Спаренные колеса 01A04
Установка грузов передних 01B01
Установка грузов задних 01B02
Установка грузов средних 01B03
Комплект очитски грязи 01C01
Трехточечная навеска в сборе 05C01
Гидрооборудование трехточечной навески 05C02
Подъемные рычаги 05F01
Комплект привода гидромотора сеялки 05H01
Комплект интенсивного потока 05K01
Комплект запуска двигателя в холодное время 09C02
Комплект инструмента со смазкой 09TLK01
Комплект сигнализации движения назад (автоматическая трансмиссия) 14BE10
Комплект сигнализации движения назад (механическая трансмиссия) 14BE20
Прицепное устройство с инструментальным ящиком 15F02
Прицепное устройство в сборе 15F03
Знак тихоходного транспортного средства 16A03
Быстрозахватное устройство 17A01
Аксессуары установки дилером 17B02
Комплект автоматического рулевого управления и сопутствующие изделия 9ASK01
Комплект усиленного прицепного устройства 9ATT13a
Комплект конвертации гидрооборудования с закрытым центром 9COK01
Комплекты установки дилером / 3-х точечные навески и ВОМ 9DIA00
Комплекты переднего и заднего блокируемого дифференциала 9DLK01
Фильтры и ремни QSM-11 (2335-2375) 9FBK09
Комплект захвата для скреперной машины 9HTS11
Комплект захвата для скреперной машины 9HTS12
Вилка прицепа 9ISS01
Комплект уменьшения потока 9KSV01
Комплект моторизованного управления потоком 9MFC01
Быстрозахватное устройство 4 категории 9QAH01
Радио 9RADIO
Комплект солнцезащитной шторки 9SBK01
Комплект буксировочного троса 9TLE10
Комплект монитора рабочих характеристик 9TPM01
Прицепное устройство LT.10.001

Поиск по деталям узла Детали узла

Сроки доставки и цены будут отображаться после авторизации

Цены и корзина будут доступны после авторизации

Поз. Код Чертежный номер Кол-во позиций Начало, дата Окончание, дата Наименование
1 86027841 101576645 86027841
Номер позиции: 1
Кол-во позиций: 1
Начало, дата: -
Окончание, дата: -
101576645
1
Для выбора подходящей к вашей технике детали введите в поиск код продукта или свяжитесь с дилером
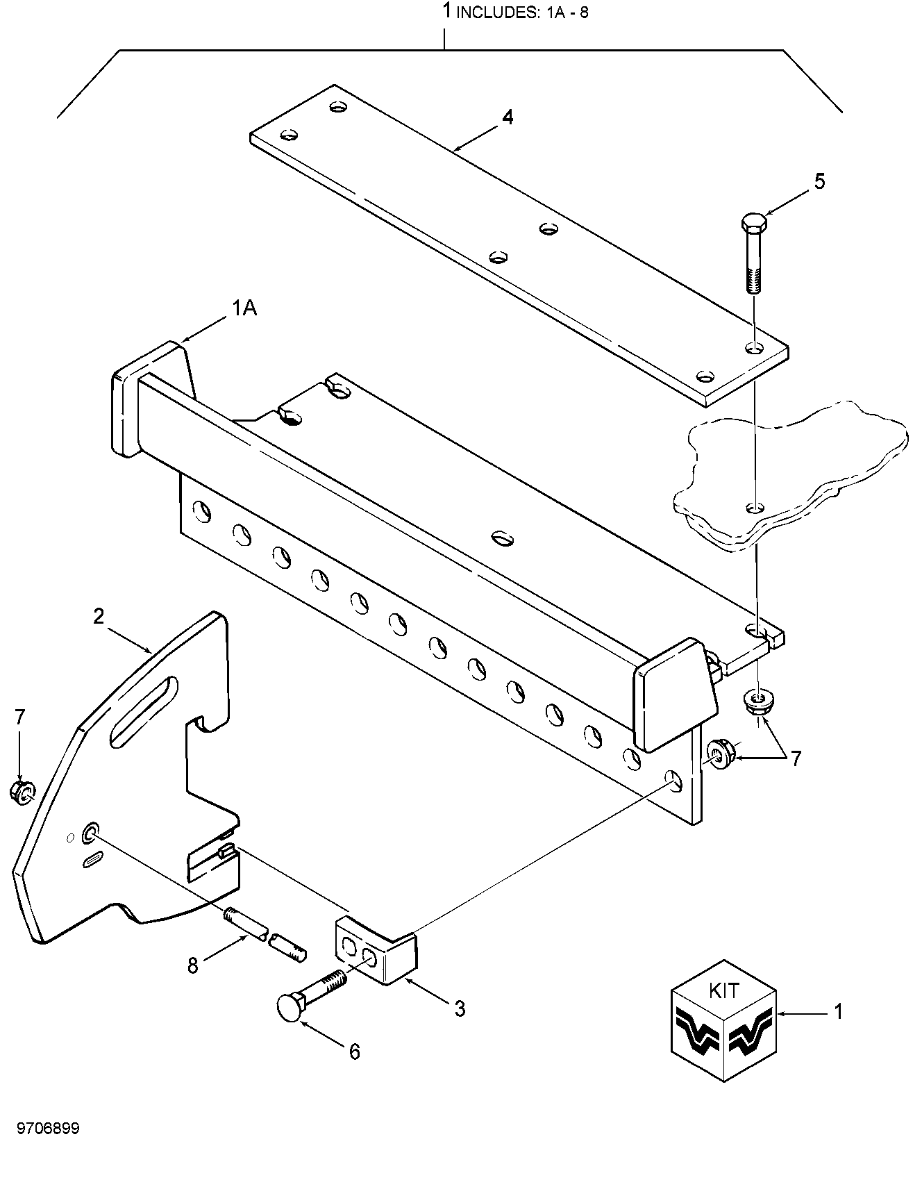
ПРОТИВОВЕС - ПАКЕТ, ПЕРЕДНИЙ, 1300КГ, УСТАНАВЛИВАЕТСЯ НА ЗАВОДЕ
Корзина будет доступна
после авторизации
1 86027842 101576646 86027842
Номер позиции: 1
Кол-во позиций: 1
Начало, дата: -
Окончание, дата: -
101576646
1
Для выбора подходящей к вашей технике детали введите в поиск код продукта или свяжитесь с дилером
КОМПЛЕКТ (№616) - ПЕРЕДНИЕ ПРОТИВОВЕСЫ, УПАКОВКА (КРАСНЫЕ) 39 x 30кг
Корзина будет доступна
после авторизации
1 86017060 101576647 86017060
Номер позиции: 1
Кол-во позиций: 1
Начало, дата: -
Окончание, дата: -
101576647
1
Для выбора подходящей к вашей технике детали введите в поиск код продукта или свяжитесь с дилером
КРОНШТЕЙН В МЕТАЛЛИЧЕСКОЙ ОПЛЕТКЕ - ПЕРЕДНИЙ (СИНИЙ)
Корзина будет доступна
после авторизации
1 86027846 101576648 86027846
Номер позиции: 1
Кол-во позиций: 1
Начало, дата: -
Окончание, дата: -
101576648
1
Для выбора подходящей к вашей технике детали введите в поиск код продукта или свяжитесь с дилером
КРОНШТЕЙН - ПЕРЕДНИЙ ПРОТИВОВЕС сварная крнструкция (КРАСНЫЙ)
Корзина будет доступна
после авторизации
2 86027848 102331553 86027848
Номер позиции: 2
Кол-во позиций: 39
Начало, дата: -
Окончание, дата: -
102331553
39 Противовес 30 кг (красный)
Корзина будет доступна
после авторизации
3 86027847 102334410 86027847
Номер позиции: 3
Кол-во позиций: 2
Начало, дата: -
Окончание, дата: -
102334410
2 Кронштейн фиксатор переднего/заднего противовеса (красный)
Корзина будет доступна
после авторизации
4 9704011 101576649 9704011
Номер позиции: 4
Кол-во позиций: 1
Начало, дата: -
Окончание, дата: -
101576649
1 ПЛАСТИНА - СТАЛЬ, УСИЛЕНИЕ, ОПОРА ПРОТИВОВЕСОВ
Корзина будет доступна
после авторизации
5 382101 102331576 382101
Номер позиции: 5
Кол-во позиций: 5
Начало, дата: -
Окончание, дата: -
102331576
5 Болт с шестигранной головкой - M20 x 2,5 x 80 мм, Cl-8.8 Pl
Корзина будет доступна
после авторизации
6 44027 101572508 44027
Номер позиции: 6
Кол-во позиций: 2
Начало, дата: -
Окончание, дата: -
101572508
2 Винт с шестигранной головкой и фланцем - M20 x 90 мм, Cl-8.8
Корзина будет доступна
после авторизации
8 86014404 101572506 86014404
Номер позиции: 8
Кол-во позиций: 1
Начало, дата: -
Окончание, дата: -
101572506
1 Стержень стяжной - 1102 мм, противовесы 40 х 30 кг
Корзина будет доступна
после авторизации
Запрос на смену дилера
Сообщение для дилера
Заявка на ремонт