Список узлов

Ростсельмаш 2375 до 2018 года

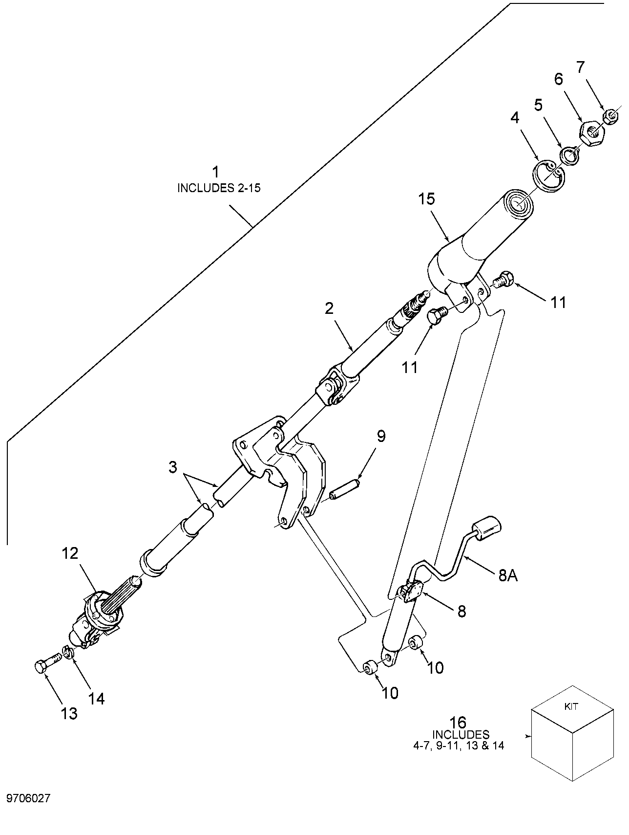
Ростсельмаш 2375 до 2018 года - Рулевая колонка в сборе

Приводы LT.07.000
Приспособления и аксессуары LT.10.000

Поиск по деталям узла Детали узла

Сроки доставки и цены будут отображаться после авторизации

Цены и корзина будут доступны после авторизации

Поз. Код Чертежный номер Кол-во позиций Начало, дата Окончание, дата Наименование
1 86002528 101575563 86002528
Номер позиции: 1
Кол-во позиций: 1
Начало, дата: -
Окончание, дата: -
101575563
1 КОЛОНКА РУЛЕВОГО УПРАВЛЕНИЯ В СБОРЕ L4WD
Корзина будет доступна
после авторизации
2 86502832 101575573 86502832
Номер позиции: 2
Кол-во позиций: 1
Начало, дата: -
Окончание, дата: -
101575573
1 КОМПЛЕКТ - ВАЛ В СБОРЕ, РУЛЕВАЯ КОЛОНКА L4WD
Корзина будет доступна
после авторизации
3 86000889 101575574 86000889
Номер позиции: 3
Кол-во позиций: 1
Начало, дата: -
Окончание, дата: -
101575574
1 Вал, Нижний
Корзина будет доступна
после авторизации
7 9670023 102331748 9670023
Номер позиции: 7
Кол-во позиций: 1
Начало, дата: -
Окончание, дата: -
102331748
1 Гайка с нейлоновой вставкой М8
Корзина будет доступна
после авторизации
8 86502831 100902266 86502831
Номер позиции: 8
Кол-во позиций: 1
Начало, дата: -
Окончание, дата: -
100902266
1
Для выбора подходящей к вашей технике детали введите в поиск код продукта или свяжитесь с дилером
Пружина газовая
Корзина будет доступна
после авторизации
8 86020096 101575575 86020096
Номер позиции: 8
Кол-во позиций: 1
Начало, дата: -
Окончание, дата: -
101575575
1
Для выбора подходящей к вашей технике детали введите в поиск код продукта или свяжитесь с дилером
КОМПЛЕКТ- РЫЧАГ НАКЛОНА, колонка рулевого управления L4WD
Корзина будет доступна
после авторизации
9 NSS 101571308 NSS
Номер позиции: 9
Кол-во позиций: 1
Начало, дата: -
Окончание, дата: -
101571308
1 ОТДЕЛЬНО НЕ ПРОДАЕТСЯ
Корзина будет доступна
после авторизации
12 86002352 100886182 86002352
Номер позиции: 12
Кол-во позиций: 1
Начало, дата: -
Окончание, дата: -
100886182
1
Для выбора подходящей к вашей технике детали введите в поиск код продукта или свяжитесь с дилером
КОМПЛЕКТ - АНКЕРНЫЙ БОЛТ (9-ШЛИЦЕВОЙ), ВАЛ РУЛЕВОГО УПРАВЛЕНИЯ В СБОРЕ
Корзина будет доступна
после авторизации
12 86034434 100903399 86034434
Номер позиции: 12
Кол-во позиций: 1
Начало, дата: -
Окончание, дата: -
100903399
1
Для выбора подходящей к вашей технике детали введите в поиск код продукта или свяжитесь с дилером
КОМПЛЕКТ - АНКЕРНЫЙ БОЛТ (6-ШЛИЦЕВОЙ), ВАЛ РУЛЕВОГО УПРАВЛЕНИЯ В СБОРЕ
Корзина будет доступна
после авторизации
15 86000849 101575576 86000849
Номер позиции: 15
Кол-во позиций: 1
Начало, дата: -
Окончание, дата: -
101575576
1 ПАТРУБОК и Подшипник
Корзина будет доступна
после авторизации
16 86502838 101575577 86502838
Номер позиции: 16
Кол-во позиций: 1
Начало, дата: -
Окончание, дата: -
101575577
1 КОМПЛЕКТ - РЕМОНТНЫЙ НАБОР, КОЛОНКА РУЛЕВОГО УПРАВЛЕНИЯ В СБОРЕ
Корзина будет доступна
после авторизации
Запрос на смену дилера
Сообщение для дилера
Заявка на ремонт