Список узлов

Косилка самоходная универсальная КСУ-2

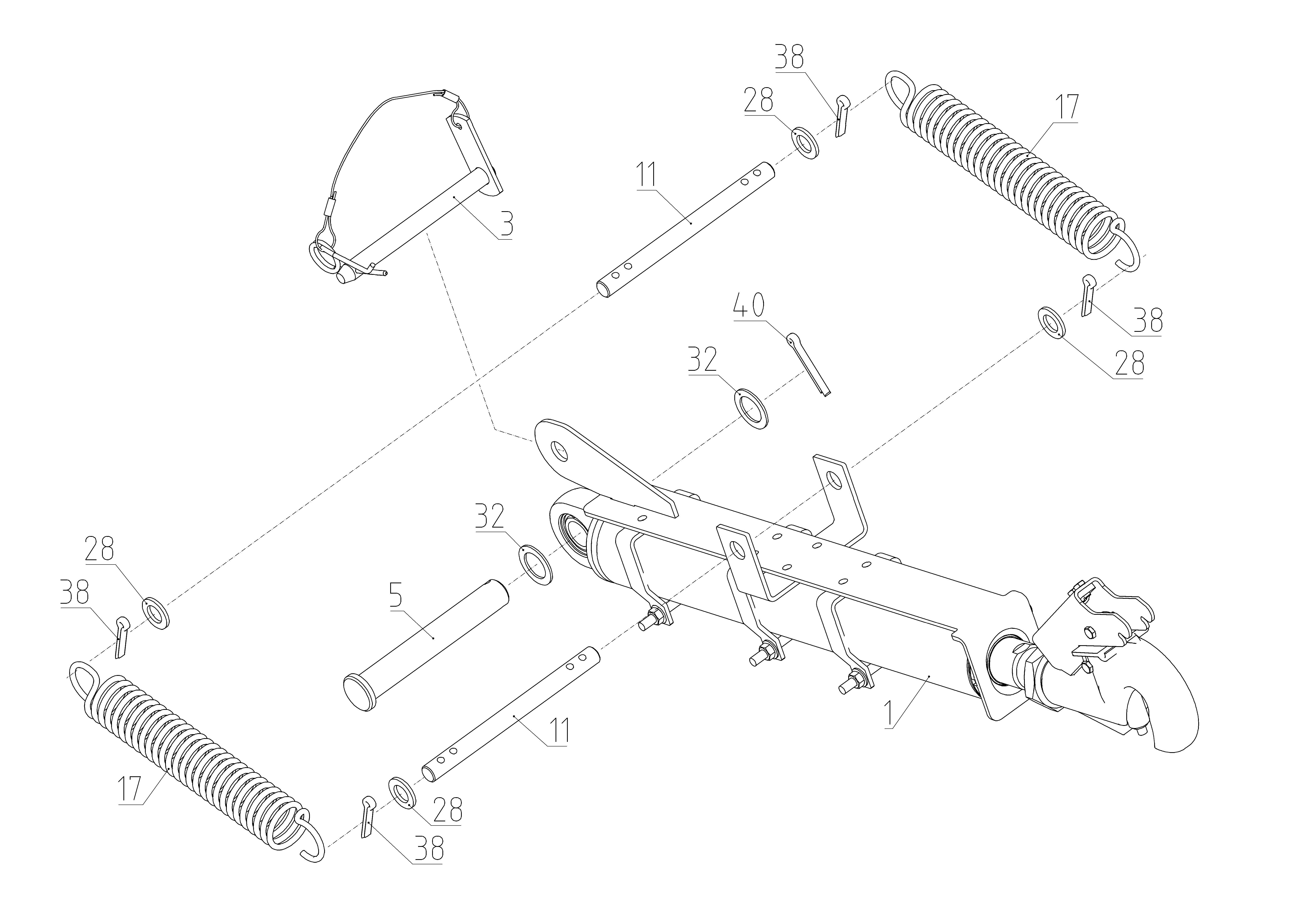
Косилка самоходная универсальная КСУ-2 - Установка гидроцилиндра механизма навески

Навесная система КСУ-2.03.00.000Ф
Установка моторная КСУ-2.05.00.000Ф
Рабочее место КСУ-2.06.00.000Ф
Гидрооборудование КСУ-2.09.00.000Ф
Гидросистема объемного привода ходовой части КСУ-2.09.03.000Ф

Поиск по деталям узла Детали узла

Сроки доставки и цены будут отображаться после авторизации

Цены и корзина будут доступны после авторизации

Поз. Код Чертежный номер Кол-во позиций Начало, дата Окончание, дата Наименование
1 КСУ-2.31.02.320 103484025 КСУ-2.31.02.320
Номер позиции: 1
Кол-во позиций: 1
Начало, дата: 01.04.2022
Окончание, дата: -
103484025
1 01.04.2022 Гидроцилиндр
3 081.27.00.690 100509086 081.27.00.690
Номер позиции: 3
Кол-во позиций: 1
Начало, дата: 01.04.2022
Окончание, дата: -
100509086
1 01.04.2022 Фиксатор
Корзина будет доступна
после авторизации
5 КСУ-2.31.00.611-03 103080926 КСУ-2.31.00.611-03
Номер позиции: 5
Кол-во позиций: 1
Начало, дата: 01.04.2022
Окончание, дата: -
103080926
1 01.04.2022 Ось
Корзина будет доступна
после авторизации
11 КСУ-2.31.00.642 103081426 КСУ-2.31.00.642
Номер позиции: 11
Кол-во позиций: 2
Начало, дата: 01.04.2022
Окончание, дата: -
103081426
2 01.04.2022 Ось
Корзина будет доступна
после авторизации
17 2650.19.00.646 102825212 2650.19.00.646
Номер позиции: 17
Кол-во позиций: 2
Начало, дата: 01.04.2022
Окончание, дата: -
102825212
2 01.04.2022 Пружина
Корзина будет доступна
после авторизации
28 17-200 HV-zinc plated 101705949 17-200 HV-zinc plated
Номер позиции: 28
Кол-во позиций: 4
Начало, дата: 01.04.2022
Окончание, дата: -
101705949
4 01.04.2022
Для выбора подходящей к вашей технике детали введите в поиск код продукта или свяжитесь с дилером
Шайба DIN 125-A
Корзина будет доступна
после авторизации
28 С.16.01.019 ГОСТ 11371-78 102766688 С.16.01.019 ГОСТ 11371-78
Номер позиции: 28
Кол-во позиций: 4
Начало, дата: 01.04.2022
Окончание, дата: -
102766688
4 01.04.2022
Для выбора подходящей к вашей технике детали введите в поиск код продукта или свяжитесь с дилером
Шайба
Корзина будет доступна
после авторизации
32 C 24х2.01.019 100127699 C 24х2.01.019
Номер позиции: 32
Кол-во позиций: 2
Начало, дата: 01.04.2022
Окончание, дата: -
100127699
2 01.04.2022
Для выбора подходящей к вашей технике детали введите в поиск код продукта или свяжитесь с дилером
Шайба ГОСТ 10450-78
Корзина будет доступна
после авторизации
32 25x36x2-zinc plated 101978037 25x36x2-zinc plated
Номер позиции: 32
Кол-во позиций: 2
Начало, дата: 01.04.2022
Окончание, дата: -
101978037
2 01.04.2022
Для выбора подходящей к вашей технике детали введите в поиск код продукта или свяжитесь с дилером
Шайба пригоночная DIN 988
Корзина будет доступна
после авторизации
38 6,3x36.019 100101912 6,3x36.019
Номер позиции: 38
Кол-во позиций: 4
Начало, дата: 01.04.2022
Окончание, дата: -
100101912
4 01.04.2022
Для выбора подходящей к вашей технике детали введите в поиск код продукта или свяжитесь с дилером
Шплинт ГОСТ 397-79
Корзина будет доступна
после авторизации
38 6,3x36-St-zinc plated 101708425 6,3x36-St-zinc plated
Номер позиции: 38
Кол-во позиций: 4
Начало, дата: 01.04.2022
Окончание, дата: -
101708425
4 01.04.2022
Для выбора подходящей к вашей технике детали введите в поиск код продукта или свяжитесь с дилером
Шплинт DIN 94
Корзина будет доступна
после авторизации
40 6,3x45.019 100102565 6,3x45.019
Номер позиции: 40
Кол-во позиций: 1
Начало, дата: 01.04.2022
Окончание, дата: -
100102565
1 01.04.2022
Для выбора подходящей к вашей технике детали введите в поиск код продукта или свяжитесь с дилером
Шплинт ГОСТ 397-79
Корзина будет доступна
после авторизации
40 6,3x45-St-zinc plated 101701242 6,3x45-St-zinc plated
Номер позиции: 40
Кол-во позиций: 1
Начало, дата: 01.04.2022
Окончание, дата: -
101701242
1 01.04.2022
Для выбора подходящей к вашей технике детали введите в поиск код продукта или свяжитесь с дилером
Шплинт DIN 94
Корзина будет доступна
после авторизации
Запрос на смену дилера
Сообщение для дилера
Заявка на ремонт