Список узлов

Комбайн кормоуборочный самоходный (РСМ-1403)

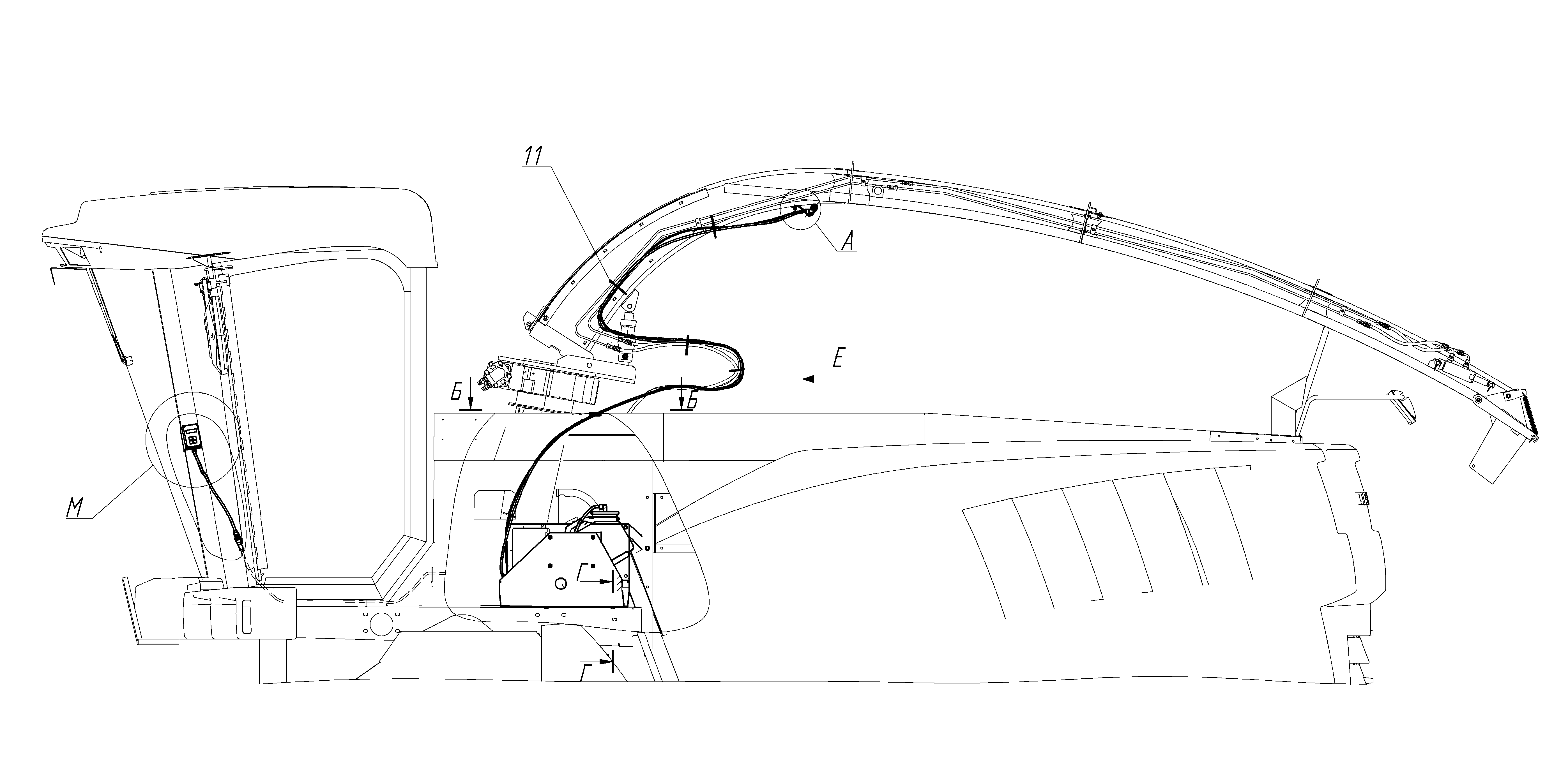
Комбайн кормоуборочный самоходный (РСМ-1403) - Система внесения консервантов

Мост ведущий 1403.04.00.000Ф
Установка моторная 1403.05.00.000Ф
Место рабочее 1403.06.00.000Ф
Комплекты 1403.62.00.000Ф
Система внесения консервантов

Для техники, произведенной с 01.03.2010

Поиск по деталям узла Детали узла

Сроки доставки и цены будут отображаться после авторизации

Цены и корзина будут доступны после авторизации

Поз. Код Чертежный номер Кол-во позиций Начало, дата Окончание, дата Наименование
11 РСМ-10.10.30.005-01 100020137 РСМ-10.10.30.005-01
Номер позиции: 11
Кол-во позиций: 9
Начало, дата: 01.03.2010
Окончание, дата: 16.05.2010
100020137
9 01.03.2010 16.05.2010
Для выбора подходящей к вашей технике детали введите в поиск код продукта или свяжитесь с дилером
Хомут
Корзина будет доступна
после авторизации
11 РСМ-10.10.30.005 100331091 РСМ-10.10.30.005
Номер позиции: 11
Кол-во позиций: 15
Начало, дата: 01.02.2011
Окончание, дата: -
100331091
15 01.02.2011
Для выбора подходящей к вашей технике детали введите в поиск код продукта или свяжитесь с дилером
Хомут
Корзина будет доступна
после авторизации
11 66-3,5х150 Ч 100698944 66-3,5х150 Ч
Номер позиции: 11
Кол-во позиций: 15
Начало, дата: 01.02.2011
Окончание, дата: -
100698944
15 01.02.2011
Для выбора подходящей к вашей технике детали введите в поиск код продукта или свяжитесь с дилером
Хомут ТУ Nylon66-070-001607-2006
Корзина будет доступна
после авторизации
Запрос на смену дилера
Сообщение для дилера
Заявка на ремонт