Список узлов

Комбайн кормоуборочный самоходный (РСМ-1403)

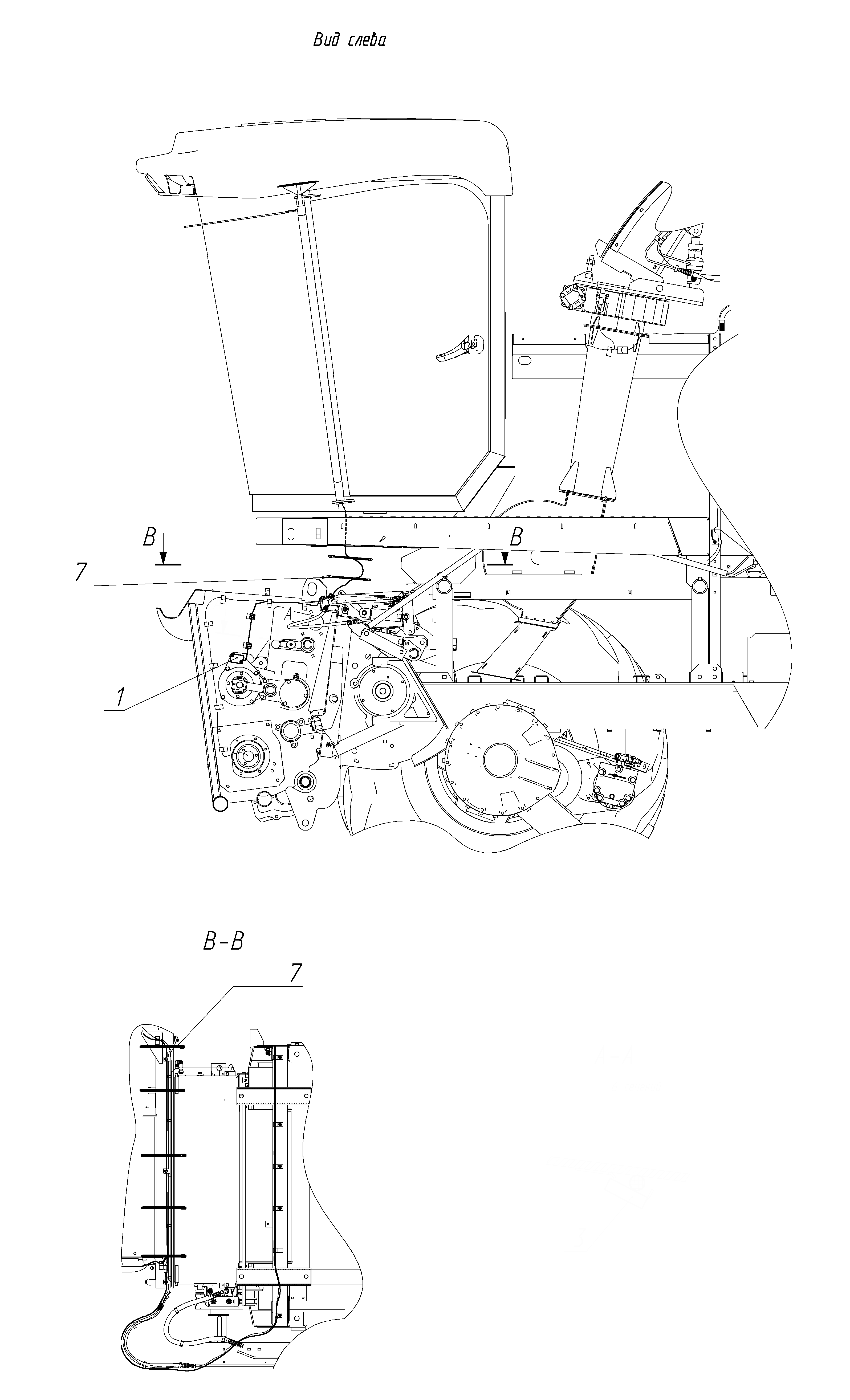
Комбайн кормоуборочный самоходный (РСМ-1403) - Камнедетектор

Мост ведущий 1403.04.00.000Ф
Установка моторная 1403.05.00.000Ф
Место рабочее 1403.06.00.000Ф
Комплекты 1403.62.00.000Ф

Поиск по деталям узла Детали узла

Сроки доставки и цены будут отображаться после авторизации

Цены и корзина будут доступны после авторизации

Поз. Код Чертежный номер Кол-во позиций Начало, дата Окончание, дата Наименование
1 1401.00.30.100 101249989 1401.00.30.100
Номер позиции: 1
Кол-во позиций: 1
Начало, дата: 13.11.2009
Окончание, дата: -
101249989
1 13.11.2009 Установка датчиков удара
7 66-3,5х150 Ч 100698944 66-3,5х150 Ч
Номер позиции: 7
Кол-во позиций: 15
Начало, дата: 02.04.2014
Окончание, дата: -
100698944
15 02.04.2014
Для выбора подходящей к вашей технике детали введите в поиск код продукта или свяжитесь с дилером
Хомут ТУ Nylon66-070-001607-2006
Корзина будет доступна
после авторизации
7 РСМ-10.10.10.30.005-01 101126988 РСМ-10.10.10.30.005-01
Номер позиции: 7
Кол-во позиций: 7
Начало, дата: 02.04.2014
Окончание, дата: -
101126988
7 02.04.2014
Для выбора подходящей к вашей технике детали введите в поиск код продукта или свяжитесь с дилером
Хомут
Корзина будет доступна
после авторизации
Запрос на смену дилера
Сообщение для дилера
Заявка на ремонт