Список узлов

Комбайн кормоуборочный самоходный (РСМ-1403)

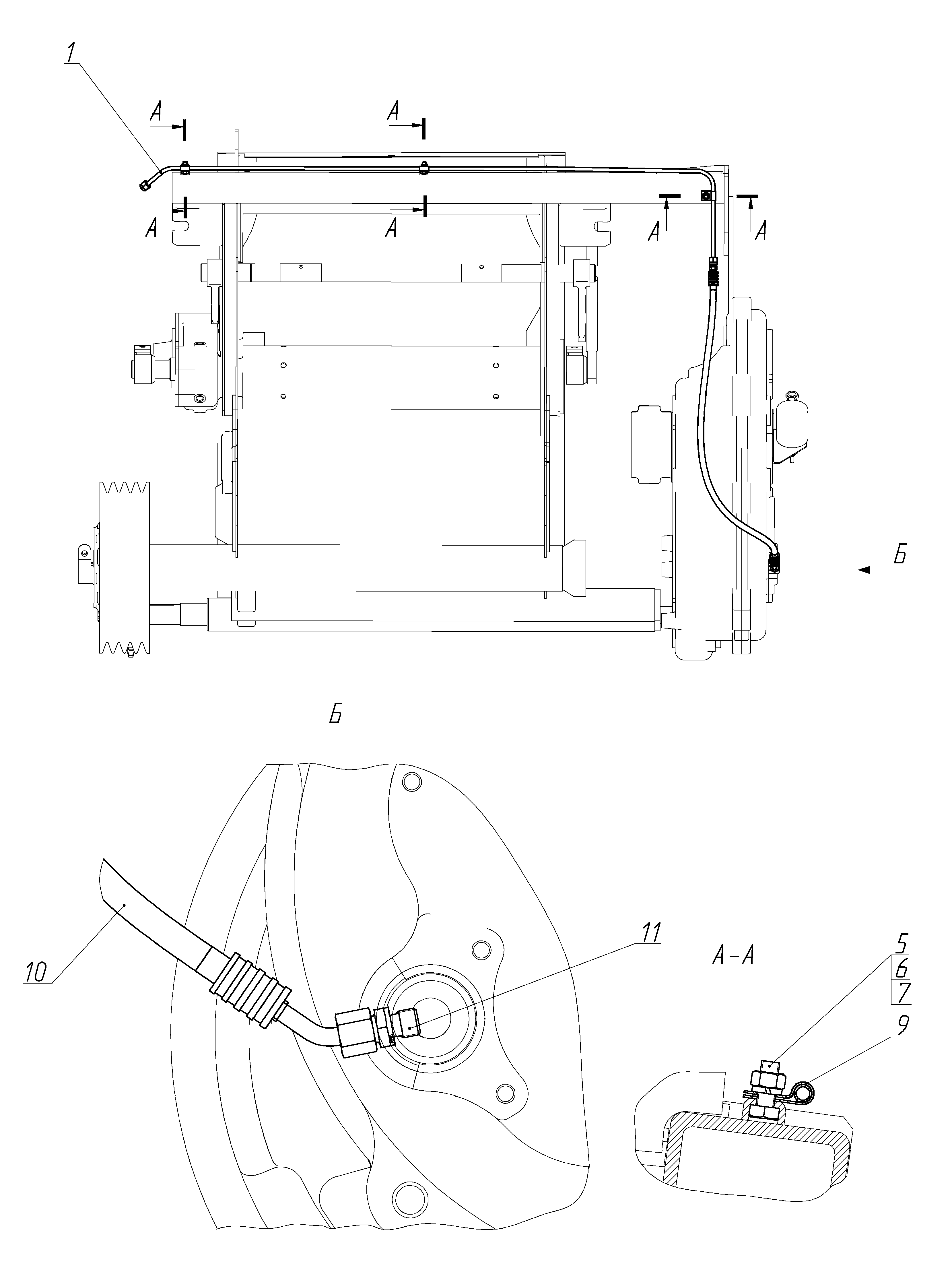
Комбайн кормоуборочный самоходный (РСМ-1403) - Гидрооборудование аппарата питающего

Мост ведущий 1403.04.00.000Ф
Установка моторная 1403.05.00.000Ф
Место рабочее 1403.06.00.000Ф
Комплекты 1403.62.00.000Ф

Поиск по деталям узла Детали узла

Сроки доставки и цены будут отображаться после авторизации

Цены и корзина будут доступны после авторизации

Поз. Код Чертежный номер Кол-во позиций Начало, дата Окончание, дата Наименование
1 1401.09.23.010 100830619 1401.09.23.010
Номер позиции: 1
Кол-во позиций: 1
Начало, дата: 20.08.2008
Окончание, дата: 02.01.2017
100830619
1 20.08.2008 02.01.2017
Для выбора подходящей к вашей технике детали введите в поиск код продукта или свяжитесь с дилером
Трубопровод
Корзина будет доступна
после авторизации
1 1401.09.23.020 102420620 1401.09.23.020
Номер позиции: 1
Кол-во позиций: 1
Начало, дата: 02.01.2017
Окончание, дата: -
102420620
1 02.01.2017
Для выбора подходящей к вашей технике детали введите в поиск код продукта или свяжитесь с дилером
Трубопровод
Корзина будет доступна
после авторизации
5 AS M8x25 101730124 AS M8x25
Номер позиции: 5
Кол-во позиций: 3
Начало, дата: 01.04.2014
Окончание, дата: 02.01.2017
101730124
3 01.04.2014 02.01.2017
Для выбора подходящей к вашей технике детали введите в поиск код продукта или свяжитесь с дилером
Болт DIN 931/933-8.8-W3(1130021690)
Корзина будет доступна
после авторизации
5 М8x25-8.8-flZnyc(flZnncL)-480h DIN 933 101863325 М8x25-8.8-flZnyc(flZnncL)-480h DIN 933
Номер позиции: 5
Кол-во позиций: 3
Начало, дата: 02.01.2017
Окончание, дата: -
101863325
3 02.01.2017
Для выбора подходящей к вашей технике детали введите в поиск код продукта или свяжитесь с дилером
Болт с шестигранной головкой
Корзина будет доступна
после авторизации
6 М8-6Н.6.019 ГОСТ 5915-70 100475836 М8-6Н.6.019 ГОСТ 5915-70
Номер позиции: 6
Кол-во позиций: 3
Начало, дата: 20.08.2008
Окончание, дата: 01.04.2014
100475836
3 20.08.2008 01.04.2014
Для выбора подходящей к вашей технике детали введите в поиск код продукта или свяжитесь с дилером
Гайка
Корзина будет доступна
после авторизации
6 LBBUHUE1/1DSPM8U5/16W3(1130022886) 101472341 LBBUHUE1/1DSPM8U5/16W3(1130022886)
Номер позиции: 6
Кол-во позиций: 3
Начало, дата: 01.04.2014
Окончание, дата: -
101472341
3 01.04.2014
Для выбора подходящей к вашей технике детали введите в поиск код продукта или свяжитесь с дилером
Втулка
Корзина будет доступна
после авторизации
6 M8-8-zinc plated DIN 934 101701173 M8-8-zinc plated DIN 934
Номер позиции: 6
Кол-во позиций: 1
Начало, дата: 20.08.2008
Окончание, дата: 01.04.2014
101701173
1 20.08.2008 01.04.2014
Для выбора подходящей к вашей технике детали введите в поиск код продукта или свяжитесь с дилером
Гайка шестигранная
Корзина будет доступна
после авторизации
7 8Т 65Г 019 100008163 8Т 65Г 019
Номер позиции: 7
Кол-во позиций: 3
Начало, дата: 20.08.2008
Окончание, дата: 01.04.2014
100008163
3 20.08.2008 01.04.2014
Для выбора подходящей к вашей технике детали введите в поиск код продукта или свяжитесь с дилером
Шайба ГОСТ 6402-70
Корзина будет доступна
после авторизации
7 LBBU108SAM8U5/16(1130023472) 101480968 LBBU108SAM8U5/16(1130023472)
Номер позиции: 7
Кол-во позиций: 3
Начало, дата: 01.04.2014
Окончание, дата: -
101480968
3 01.04.2014
Для выбора подходящей к вашей технике детали введите в поиск код продукта или свяжитесь с дилером
Корпус зажима
Корзина будет доступна
после авторизации
9 РСМ-10.09.01.405 100114665 РСМ-10.09.01.405
Номер позиции: 9
Кол-во позиций: 3
Начало, дата: 20.08.2008
Окончание, дата: 01.04.2014
100114665
3 20.08.2008 01.04.2014
Для выбора подходящей к вашей технике детали введите в поиск код продукта или свяжитесь с дилером
Скоба 8.16.9,0 ОСТ 23.2.121-84
Корзина будет доступна
после авторизации
9 LBBU-DP1 M8-U5/16W3(1130022183) 101472340 LBBU-DP1 M8-U5/16W3(1130022183)
Номер позиции: 9
Кол-во позиций: 3
Начало, дата: 01.04.2014
Окончание, дата: -
101472340
3 01.04.2014
Для выбора подходящей к вашей технике детали введите в поиск код продукта или свяжитесь с дилером
Накладка
Корзина будет доступна
после авторизации
10 1SN 6/760 DKO(ш) 14х1,5 8 (45) 100818885 1SN 6/760 DKO(ш) 14х1,5 8 (45)
Номер позиции: 10
Кол-во позиций: 1
Начало, дата: 20.08.2008
Окончание, дата: 01.12.2011
100818885
1 20.08.2008 01.12.2011
Для выбора подходящей к вашей технике детали введите в поиск код продукта или свяжитесь с дилером
Рукав высокого давления
Корзина будет доступна
после авторизации
10 6.А7L.Б2.760.1SN 101519009 6.А7L.Б2.760.1SN
Номер позиции: 10
Кол-во позиций: 1
Начало, дата: 01.12.2011
Окончание, дата: -
101519009
1 01.12.2011
Для выбора подходящей к вашей технике детали введите в поиск код продукта или свяжитесь с дилером
Рукав высокого давления
Корзина будет доступна
после авторизации
11 GE08LMEDOMDCF 100715070 GE08LMEDOMDCF
Номер позиции: 11
Кол-во позиций: 1
Начало, дата: 20.08.2008
Окончание, дата: -
100715070
1 20.08.2008 Штуцер ввертной
Корзина будет доступна
после авторизации
Запрос на смену дилера
Сообщение для дилера
Заявка на ремонт