Список узлов

Комбайн кормоуборочный самоходный (РСМ-1403)

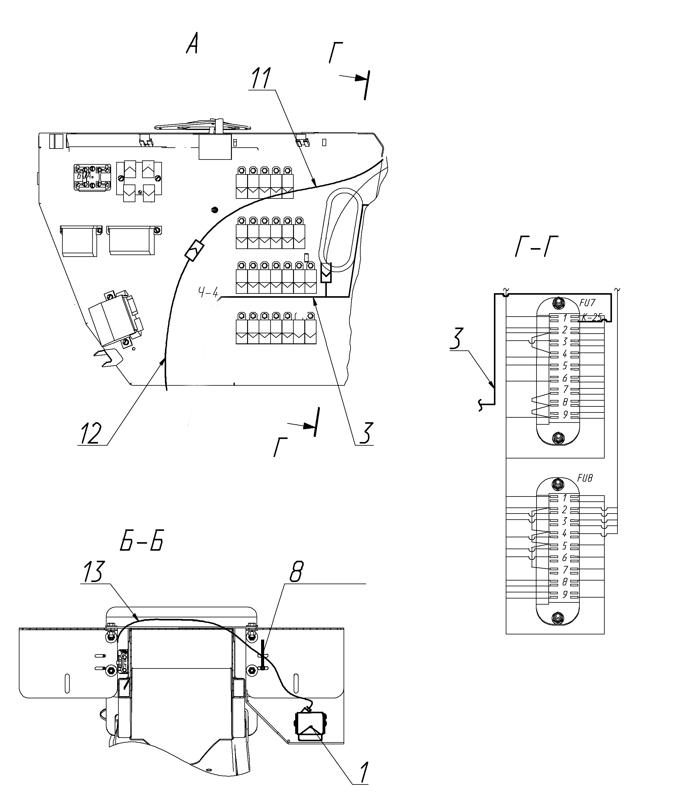
Комбайн кормоуборочный самоходный (РСМ-1403) - Система видеоконтроля

Мост ведущий 1403.04.00.000Ф
Установка моторная 1403.05.00.000Ф
Место рабочее 1403.06.00.000Ф
Комплекты 1403.62.00.000Ф
Система видеоконтроля

Для техники, произведенной с 06.11.2015

Поиск по деталям узла Детали узла

Сроки доставки и цены будут отображаться после авторизации

Цены и корзина будут доступны после авторизации

Поз. Код Чертежный номер Кол-во позиций Начало, дата Окончание, дата Наименование
1 MKS2 102181383 MKS2
Номер позиции: 1
Кол-во позиций: 2
Начало, дата: 06.11.2015
Окончание, дата: -
102181383
2 06.11.2015 Кабель
Корзина будет доступна
после авторизации
3 142.10.55.100А 101386358 142.10.55.100А
Номер позиции: 3
Кол-во позиций: 1
Начало, дата: 10.01.2011
Окончание, дата: 06.11.2015
101386358
1 10.01.2011 06.11.2015 Жгут монитора
Корзина будет доступна
после авторизации
8 3,6х200 101880458 3,6х200
Номер позиции: 8
Кол-во позиций: 32
Начало, дата: 02.02.2015
Окончание, дата: -
101880458
32 02.02.2015 Хомут пластиковый
Корзина будет доступна
после авторизации
11 MKW2 101255582 MKW2
Номер позиции: 11
Кол-во позиций: 1
Начало, дата: 02.05.2011
Окончание, дата: 06.11.2015
101255582
1 02.05.2011 06.11.2015 Кабель
Корзина будет доступна
после авторизации
12 MKWW 3,5 101255583 MKWW 3,5
Номер позиции: 12
Кол-во позиций: 1
Начало, дата: 13.11.2009
Окончание, дата: 06.11.2015
101255583
1 13.11.2009 06.11.2015 Удлинитель
Корзина будет доступна
после авторизации
13 MKWW 5 101255584 MKWW 5
Номер позиции: 13
Кол-во позиций: 1
Начало, дата: 13.11.2009
Окончание, дата: 06.11.2015
101255584
1 13.11.2009 06.11.2015
Для выбора подходящей к вашей технике детали введите в поиск код продукта или свяжитесь с дилером
Удлинитель
Корзина будет доступна
после авторизации
13 MC6090D-4 102178620 MC6090D-4
Номер позиции: 13
Кол-во позиций: 1
Начало, дата: 06.11.2015
Окончание, дата: -
102178620
1 06.11.2015
Для выбора подходящей к вашей технике детали введите в поиск код продукта или свяжитесь с дилером
Камера
Корзина будет доступна
после авторизации
Запрос на смену дилера
Сообщение для дилера
Заявка на ремонт