Список узлов

Комбайн кормоуборочный самоходный (РСМ-1403)

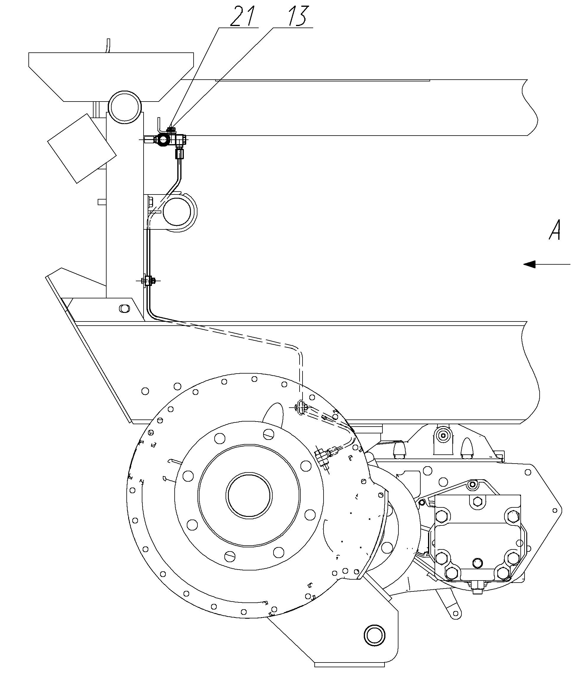
Комбайн кормоуборочный самоходный (РСМ-1403) - Коммуникации тормозные

Мост ведущий 1403.04.00.000Ф
Мостокомплект 1403.04.01.000Ф
Балка моста 1403.04.02.000Ф
Установка моторная 1403.05.00.000Ф
Место рабочее 1403.06.00.000Ф
Комплекты 1403.62.00.000Ф
Коммуникации тормозные

Для техники, произведенной с 01.08.2010

Поиск по деталям узла Детали узла

Сроки доставки и цены будут отображаться после авторизации

Цены и корзина будут доступны после авторизации

Поз. Код Чертежный номер Кол-во позиций Начало, дата Окончание, дата Наименование
13 М8-6gx16.88.35.019 ГОСТ 7798-70 100093941 М8-6gx16.88.35.019 ГОСТ 7798-70
Номер позиции: 13
Кол-во позиций: 1
Начало, дата: 01.08.2010
Окончание, дата: 19.03.2015
100093941
1 01.08.2010 19.03.2015
Для выбора подходящей к вашей технике детали введите в поиск код продукта или свяжитесь с дилером
Болт
Корзина будет доступна
после авторизации
13 М8x16-8.8-zinc plated 101701222 М8x16-8.8-zinc plated
Номер позиции: 13
Кол-во позиций: 1
Начало, дата: 01.08.2010
Окончание, дата: 19.03.2015
101701222
1 01.08.2010 19.03.2015
Для выбора подходящей к вашей технике детали введите в поиск код продукта или свяжитесь с дилером
Болт с шестигранной головкой DIN 933
Корзина будет доступна
после авторизации
13 М8x16-8.8-flZnyc(flZnncL)-480h DIN 933 101863322 М8x16-8.8-flZnyc(flZnncL)-480h DIN 933
Номер позиции: 13
Кол-во позиций: 1
Начало, дата: 02.02.2015
Окончание, дата: -
101863322
1 02.02.2015
Для выбора подходящей к вашей технике детали введите в поиск код продукта или свяжитесь с дилером
Болт с шестигранной головкой
Корзина будет доступна
после авторизации
21 8Т 65Г 019 100008163 8Т 65Г 019
Номер позиции: 21
Кол-во позиций: 1
Начало, дата: 01.08.2010
Окончание, дата: -
100008163
1 01.08.2010 Шайба ГОСТ 6402-70
Корзина будет доступна
после авторизации
Запрос на смену дилера
Сообщение для дилера
Заявка на ремонт