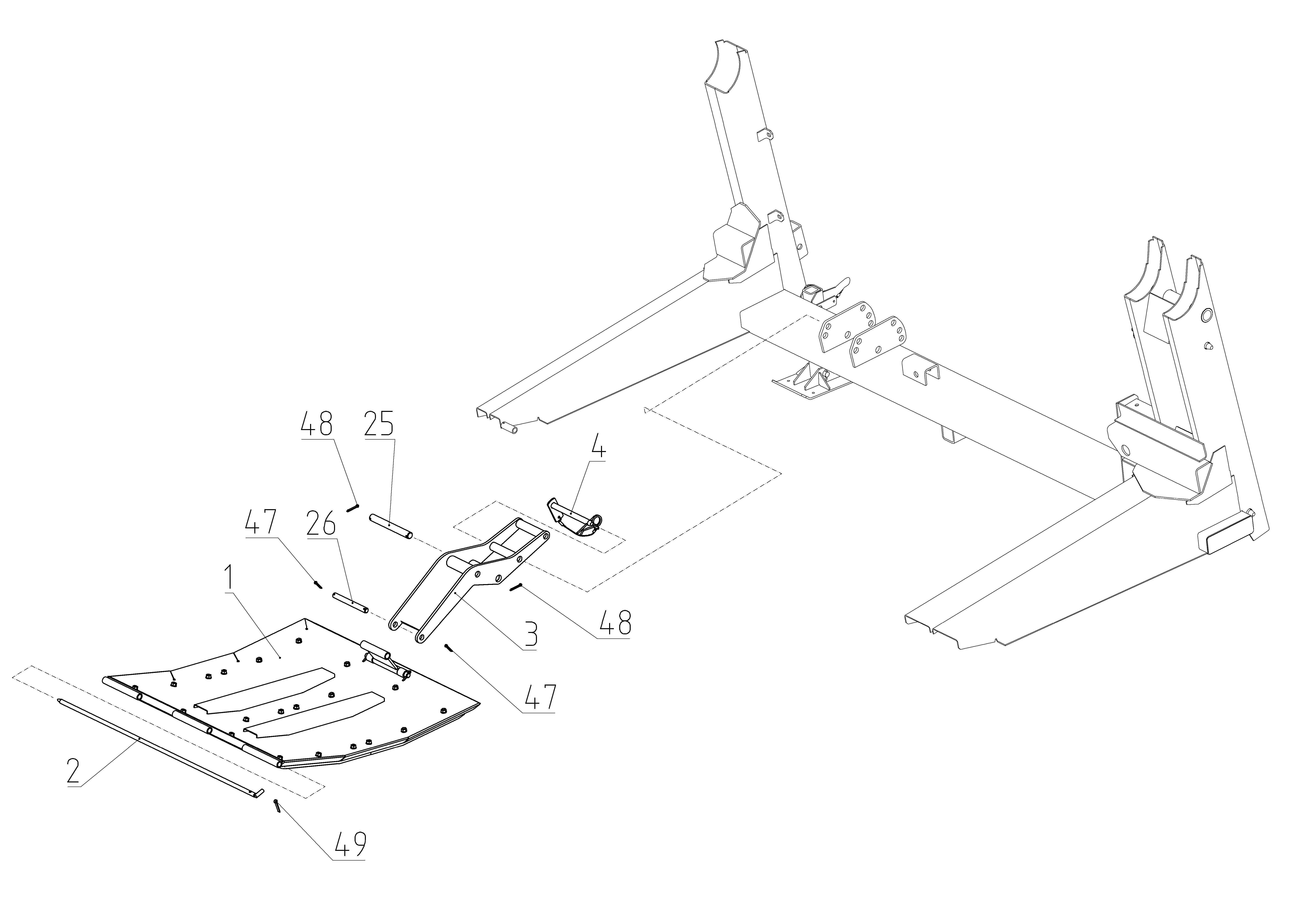
Список узлов

Косилка валковая транспортерная КВТ 9-18 "Draper Flow 900"

Косилка валковая транспортерная КВТ 9-18 "Draper Flow 900" - Башмаки

Мотовило 9-18.03.000Ф
Гидрооборудование жатки 9-18.09.000Ф
Дополнительное оборудование 9-18.17.000Ф

Поиск по деталям узла Детали узла

Сроки доставки и цены будут отображаться после авторизации

Цены и корзина будут доступны после авторизации

Поз. Код Чертежный номер Кол-во позиций Начало, дата Окончание, дата Наименование
1 9-18.00.100 100636100 9-18.00.100
Номер позиции: 1
Кол-во позиций: 2
Начало, дата: 01.01.2010
Окончание, дата: 15.04.2011
100636100
2 01.01.2010 15.04.2011
Для выбора подходящей к вашей технике детали введите в поиск код продукта или свяжитесь с дилером
Башмак
1 9-18.00.100А 101393003 9-18.00.100А
Номер позиции: 1
Кол-во позиций: 2
Начало, дата: 01.03.2011
Окончание, дата: -
101393003
2 01.03.2011
Для выбора подходящей к вашей технике детали введите в поиск код продукта или свяжитесь с дилером
Башмак
2 9-18.00.670 101265066 9-18.00.670
Номер позиции: 2
Кол-во позиций: 2
Начало, дата: 01.01.2010
Окончание, дата: -
101265066
2 01.01.2010 Ось
Корзина будет доступна
после авторизации
3 9-18.00.120 100635808 9-18.00.120
Номер позиции: 3
Кол-во позиций: 2
Начало, дата: 01.01.2010
Окончание, дата: -
100635808
2 01.01.2010 Рычаг
Корзина будет доступна
после авторизации
4 081.27.00.690 100509086 081.27.00.690
Номер позиции: 4
Кол-во позиций: 2
Начало, дата: 01.01.2010
Окончание, дата: -
100509086
2 01.01.2010 Фиксатор
Корзина будет доступна
после авторизации
25 081.27.00.608 100355713 081.27.00.608
Номер позиции: 25
Кол-во позиций: 2
Начало, дата: 01.01.2010
Окончание, дата: -
100355713
2 01.01.2010 Ось
Корзина будет доступна
после авторизации
26 9-18.00.601 100635777 9-18.00.601
Номер позиции: 26
Кол-во позиций: 2
Начало, дата: 01.01.2010
Окончание, дата: -
100635777
2 01.01.2010 Ось
Корзина будет доступна
после авторизации
47 4x25.019 100095780 4x25.019
Номер позиции: 47
Кол-во позиций: 4
Начало, дата: 01.01.2010
Окончание, дата: -
100095780
4 01.01.2010 Шплинт ГОСТ 397-79
Корзина будет доступна
после авторизации
48 4x32.019 100101910 4x32.019
Номер позиции: 48
Кол-во позиций: 4
Начало, дата: 01.01.2010
Окончание, дата: -
100101910
4 01.01.2010
Для выбора подходящей к вашей технике детали введите в поиск код продукта или свяжитесь с дилером
Шплинт ГОСТ 397-79
Корзина будет доступна
после авторизации
48 4x32-St-zinc plated 101702730 4x32-St-zinc plated
Номер позиции: 48
Кол-во позиций: 1
Начало, дата: 01.01.2010
Окончание, дата: -
101702730
1 01.01.2010
Для выбора подходящей к вашей технике детали введите в поиск код продукта или свяжитесь с дилером
Шплинт DIN 94
Корзина будет доступна
после авторизации
49 5x32.019 100097825 5x32.019
Номер позиции: 49
Кол-во позиций: 2
Начало, дата: 01.01.2010
Окончание, дата: -
100097825
2 01.01.2010 Шплинт ГОСТ 397-79
Корзина будет доступна
после авторизации
Запрос на смену дилера
Сообщение для дилера
Заявка на ремонт