Список узлов

Косилка валковая транспортерная КВТ 9-18 "Draper Flow 900"

Косилка валковая транспортерная КВТ 9-18 "Draper Flow 900" - Гидрооборудование жатки

Мотовило 9-18.03.000Ф
Гидрооборудование жатки 9-18.09.000Ф
Гидроцилиндр 081.27.09.520
Гидроцилиндр 081.27.09.530
Гидроцилиндр 9-18.09.200
Гидромотор 9-18.09.130
Гидромотор 9-18.09.760
Гидромотор 9-18.09.760
Привод режущего аппарата Pro-Drive 85MHv GK ASM04 75055.05
Дополнительное оборудование 9-18.17.000Ф
Гидрооборудование жатки

Для техники, произведенной с 01.12.2011

Поиск по деталям узла Детали узла

Сроки доставки и цены будут отображаться после авторизации

Цены и корзина будут доступны после авторизации

Поз. Код Чертежный номер Кол-во позиций Начало, дата Окончание, дата Наименование
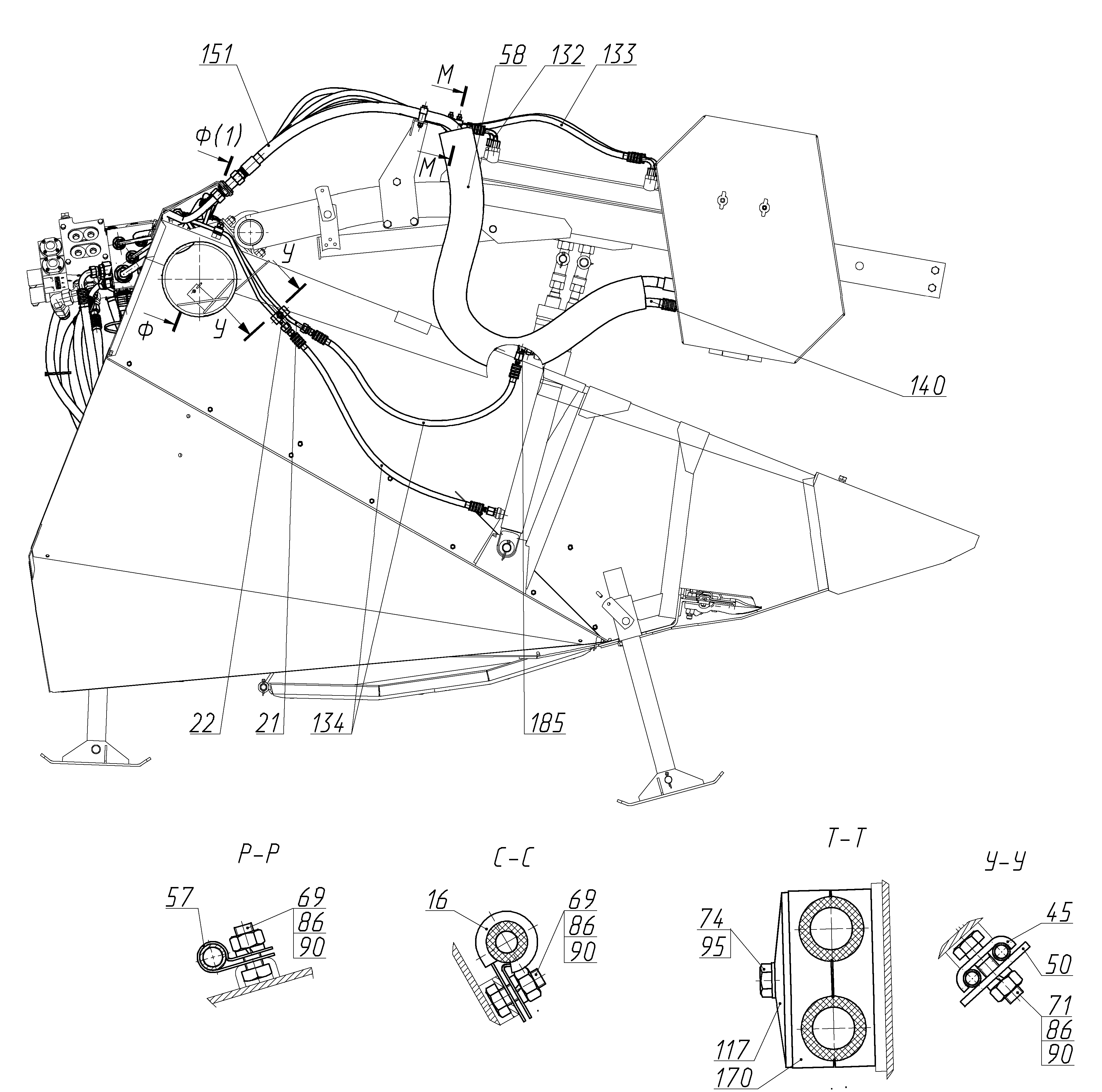
16 9-18.09.770 100972539 9-18.09.770
Номер позиции: 16
Кол-во позиций: 1
Начало, дата: 30.12.2009
Окончание, дата: -
100972539
1 30.12.2009 Скоба
Корзина будет доступна
после авторизации
21 9-18.09.910 100963805 9-18.09.910
Номер позиции: 21
Кол-во позиций: 1
Начало, дата: 30.12.2009
Окончание, дата: -
100963805
1 30.12.2009 Трубопровод
Корзина будет доступна
после авторизации
22 9-18.09.920 100966602 9-18.09.920
Номер позиции: 22
Кол-во позиций: 1
Начало, дата: 30.12.2009
Окончание, дата: -
100966602
1 30.12.2009 Трубопровод
Корзина будет доступна
после авторизации
45 РСМ-10.09.01.404А 100030379 РСМ-10.09.01.404А
Номер позиции: 45
Кол-во позиций: 18
Начало, дата: 30.12.2009
Окончание, дата: -
100030379
18 30.12.2009 Скоба
Корзина будет доступна
после авторизации
50 РСМ-10.09.05.507 100054159 РСМ-10.09.05.507
Номер позиции: 50
Кол-во позиций: 9
Начало, дата: 30.12.2009
Окончание, дата: -
100054159
9 30.12.2009 Планка
Корзина будет доступна
после авторизации
57 54-51452-09 100019809 54-51452-09
Номер позиции: 57
Кол-во позиций: 2
Начало, дата: 30.12.2009
Окончание, дата: -
100019809
2 30.12.2009 Скоба
Корзина будет доступна
после авторизации
58 101.09.81.003 100791421 101.09.81.003
Номер позиции: 58
Кол-во позиций: 1
Начало, дата: 01.12.2011
Окончание, дата: -
100791421
1 01.12.2011 Спираль защитная
Корзина будет доступна
после авторизации
69 М8-6gx20.88.35.019 100094226 М8-6gx20.88.35.019
Номер позиции: 69
Кол-во позиций: 8
Начало, дата: 30.12.2009
Окончание, дата: -
100094226
8 30.12.2009
Для выбора подходящей к вашей технике детали введите в поиск код продукта или свяжитесь с дилером
Болт ГОСТ 7798-70
Корзина будет доступна
после авторизации
69 М8x20-8.8-zinc plated DIN 933 101701221 М8x20-8.8-zinc plated DIN 933
Номер позиции: 69
Кол-во позиций: 1
Начало, дата: 30.12.2009
Окончание, дата: -
101701221
1 30.12.2009
Для выбора подходящей к вашей технике детали введите в поиск код продукта или свяжитесь с дилером
Болт с шестигранной головкой
Корзина будет доступна
после авторизации
71 М8-6gx30.88.35.019 ГОСТ 7798-70 100455635 М8-6gx30.88.35.019 ГОСТ 7798-70
Номер позиции: 71
Кол-во позиций: 9
Начало, дата: 30.12.2009
Окончание, дата: -
100455635
9 30.12.2009
Для выбора подходящей к вашей технике детали введите в поиск код продукта или свяжитесь с дилером
Болт
Корзина будет доступна
после авторизации
71 М8x30-8.8-zinc plated DIN 933 101701309 М8x30-8.8-zinc plated DIN 933
Номер позиции: 71
Кол-во позиций: 9
Начало, дата: 30.12.2009
Окончание, дата: -
101701309
9 30.12.2009
Для выбора подходящей к вашей технике детали введите в поиск код продукта или свяжитесь с дилером
Болт с шестигранной головкой
Корзина будет доступна
после авторизации
74 М8-6gx50.88.35.019 100100799 М8-6gx50.88.35.019
Номер позиции: 74
Кол-во позиций: 3
Начало, дата: 01.11.2011
Окончание, дата: -
100100799
3 01.11.2011
Для выбора подходящей к вашей технике детали введите в поиск код продукта или свяжитесь с дилером
Болт ГОСТ 7798-70
Корзина будет доступна
после авторизации
74 М8x50-8.8-zinc plated 101701257 М8x50-8.8-zinc plated
Номер позиции: 74
Кол-во позиций: 3
Начало, дата: 01.11.2011
Окончание, дата: -
101701257
3 01.11.2011
Для выбора подходящей к вашей технике детали введите в поиск код продукта или свяжитесь с дилером
Болт с шестигранной головкой DIN 931
Корзина будет доступна
после авторизации
86 М8-6Н.6.019 ГОСТ 5915-70 100475836 М8-6Н.6.019 ГОСТ 5915-70
Номер позиции: 86
Кол-во позиций: 52
Начало, дата: 01.03.2011
Окончание, дата: -
100475836
52 01.03.2011
Для выбора подходящей к вашей технике детали введите в поиск код продукта или свяжитесь с дилером
Гайка
Корзина будет доступна
после авторизации
86 M8-8-zinc plated DIN 934 101701173 M8-8-zinc plated DIN 934
Номер позиции: 86
Кол-во позиций: 1
Начало, дата: 01.03.2011
Окончание, дата: -
101701173
1 01.03.2011
Для выбора подходящей к вашей технике детали введите в поиск код продукта или свяжитесь с дилером
Гайка шестигранная
Корзина будет доступна
после авторизации
90 8Т 65Г 019 100008163 8Т 65Г 019
Номер позиции: 90
Кол-во позиций: 52
Начало, дата: 01.03.2011
Окончание, дата: -
100008163
52 01.03.2011 Шайба ГОСТ 6402-70
Корзина будет доступна
после авторизации
95 C.18х1,4.01.019 100109176 C.18х1,4.01.019
Номер позиции: 95
Кол-во позиций: 4
Начало, дата: 30.12.2009
Окончание, дата: -
100109176
4 30.12.2009 Шайба ГОСТ 11371-78
Корзина будет доступна
после авторизации
117 GD 4D W3 100791348 GD 4D W3
Номер позиции: 117
Кол-во позиций: 3
Начало, дата: 30.12.2009
Окончание, дата: -
100791348
3 30.12.2009 Накладка
Корзина будет доступна
после авторизации
132 6.А2L.А3L.610.1SN 101093482 6.А2L.А3L.610.1SN
Номер позиции: 132
Кол-во позиций: 2
Начало, дата: 30.12.2009
Окончание, дата: -
101093482
2 30.12.2009 Рукав высокого давления
Корзина будет доступна
после авторизации
133 6.A2L.A3L.1010.1SN 101134864 6.A2L.A3L.1010.1SN
Номер позиции: 133
Кол-во позиций: 2
Начало, дата: 30.12.2009
Окончание, дата: -
101134864
2 30.12.2009 Рукав высокого давления
Корзина будет доступна
после авторизации
134 6.А2L.Б2.610.1SN 101022564 6.А2L.Б2.610.1SN
Номер позиции: 134
Кол-во позиций: 2
Начало, дата: 30.12.2009
Окончание, дата: -
101022564
2 30.12.2009 Рукав высокого давления
Корзина будет доступна
после авторизации
140 10.А2L.А3L.510.2SN 101137509 10.А2L.А3L.510.2SN
Номер позиции: 140
Кол-во позиций: 2
Начало, дата: 30.12.2009
Окончание, дата: -
101137509
2 30.12.2009 Рукав высокого давления
Корзина будет доступна
после авторизации
151 12.А2L.А2L.1560.2SN 101538974 12.А2L.А2L.1560.2SN
Номер позиции: 151
Кол-во позиций: 1
Начало, дата: 01.12.2011
Окончание, дата: -
101538974
1 01.12.2011
Для выбора подходящей к вашей технике детали введите в поиск код продукта или свяжитесь с дилером
Рукав высокого давления
Корзина будет доступна
после авторизации
151 12.А2L.A3L.1560.2SN 103702474 12.А2L.A3L.1560.2SN
Номер позиции: 151
Кол-во позиций: 1
Начало, дата: 30.12.2009
Окончание, дата: 01.12.2011
103702474
1 30.12.2009 01.12.2011
Для выбора подходящей к вашей технике детали введите в поиск код продукта или свяжитесь с дилером
РВД ТУ 4791-001-00166887-2002
Корзина будет доступна
после авторизации
170 428/28 РАН 100839277 428/28 РАН
Номер позиции: 170
Кол-во позиций: 3
Начало, дата: 30.12.2009
Окончание, дата: -
100839277
3 30.12.2009 Скоба
Корзина будет доступна
после авторизации
185 EW08LOMDCF 100745735 EW08LOMDCF
Номер позиции: 185
Кол-во позиций: 2
Начало, дата: 30.12.2009
Окончание, дата: -
100745735
2 30.12.2009 Угольник
Корзина будет доступна
после авторизации
Запрос на смену дилера
Сообщение для дилера
Заявка на ремонт