TORUM 785
Список узлов
TORUM 785
TORUM 785 - Система пневматическая
Камера наклонная
TORUM-785.03.00.000Ф
Транспортер наклонной камеры
TORUM-785.03.05.000Ф
Мост передний
TORUM-785.04.00.000Ф
Мостокомплект
TORUM-785.04.01.000Ф
Рабочая тормозная система
TORUM-785.04.04.000Ф
Механизм управления кор. диапазонов
TORUM-785.04.06.000Ф
Установка моторная
TORUM-785.05.00.000Ф
Двигатель OM 460 LA 210232 QPRJ/013939
D458.991-000/0783
Двигатель OM 460 LA 217287 QPRJ/021391
D458.991-000/0973
Система питания топливом
TORUM-785.05.01.000Ф
Система питания воздухом
TORUM-785.05.02.000Ф
Система охлаждения
TORUM-785.05.03.000Ф
Вентилятор
181.05.28.350
Вентилятор
181.05.51.350
Установка бачка расширительного
181.05.28.970
Установка бачка расширительного
181.05.28.970
Шланг
181.05.28.110
Шланг
181.05.28.120
Подмоторная рама
TORUM-785.05.05.000Ф
Пневмосистема
TORUM-785.05.06.000Ф
Кабина
TORUM-785.06.00.000Ф
Пульт управления
TORUM-785.06.06.000Ф
Площадка входа
TORUM-785.07.00.000Ф
Каркас площадки входа
TORUM-785.07.01.000Ф
Гидрооборудование
TORUM-785.09.00.000Ф
Основная гидросистема
TORUM-785.09.01.000Ф
Блок гидравлический
181.09.31.910
Гидробак
181.09.22.330
Гидроблок аккумуляторов
181.09.61.530
Гидрооборудование бункера
181.09.46.400
Гидрооборудование бункера
181.09.46.500
Гидрооборудование площадки входа
181.09.17.300
Гидроцилиндр
142.09.23.030
Гидроцилиндр
161.09.03.090
Гидроцилиндр
181.09.11.510
Клапан
101.09.01.810
Панель
181.09.01.950
Блок гидравлический
181.09.61.130
Фильтр в сборе
ЗФГМ32-М
Система гидростатической трансмиссии
TORUM-785.09.03.000Ф
Гидросистема низкого давления
TORUM-785.09.04.000Ф
Гидросистема привода ротора
TORUM-785.09.05.000Ф
Гидросистема охлаждения РОМ
TORUM-785.09.08.000Ф
Электрооборудование
TORUM-785.10.00.000Ф
Коммуникации электрические бункера
181.10.48.000
Коммуникации электрические бункера
181.10.48.000
Коммуникации электрические бункера
181.10.48.000-01
Коммуникации электрические бункера
181.10.48.000-01
Коммуникации электрические шасси
181.10.23.000
Коммуникации электрические шасси
181.10.24.000
Коммуникации электрические ящика аккумуляторного
181.10.22.100
Коммуникации электрические ящика аккумуляторного
181.10.22.400
Установка светосигнальных приборов
181.10.20.000
Электрооборудование
181.10.03.000
Электрооборудование
181.10.03.000
Электрооборудование
181.10.03.000-06
Электрооборудование
181.10.03.000-09
Провод генератора
181.10.38.150А
Провод стартера
181.10.38.170
Провод массы генератора
181.10.38.190А
Провод массы
181.10.38.320
Провод предохранителя
181.10.38.020А
Провод предохранителя
181.10.38.030А
Провод подогревателя
181.10.38.040А
Провод генератора
181.10.38.160А
Комплект датчика ИЮТЛ.305622.002 ТУ
ДИЗЭ-01
Электрооборудование
181.10.04.000-02
Очистка
TORUM-785.11.00.000Ф
Каркас очистки
TORUM-785.11.01.000Ф
Крышка
181.21.00.540
Крышка
181.21.00.560
Крышка
181.21.00.570
Крышка
181.21.00.920
Установка крыши
181.00.22.100
Установка крыши
181.00.22.100A
Установка крыши
181.00.22.100A
Установка крыши
181.00.22.100A-02
Установка щитка
181.41.00.520
Щит
181.21.00.520
Щит
181.21.00.930-01
Установка воздуховодов
181.41.00.900
Решето верхнее
TORUM-785.11.03.000Ф
Вентилятор
TORUM-785.11.04.000Ф
Блок шнеков
TORUM-785.11.05.000Ф
Устройство домолачивающее
TORUM-785.11.08.000Ф
Дека стационарная
TORUM-785.11.12.000Ф
Измельчитель
TORUM-785.14.00.000Ф
Устройство молотильно-сепарирующее
TORUM-785.15.00.000Ф
Каркас ротора
TORUM-785.15.01.000Ф
Бункер
TORUM-785.45.00.000Ф
Основание бункера
TORUM-785.45.01.000Ф
Основание
181.49.18.020
Основание
181.49.18.030
Основание
181.49.18.030-01
Основание
181.49.18.030-01
Электромеханизм
161.46.00.400
Электромеханизм
181.46.00.400
Вибродно
181.46.04.010
Дно
181.46.04.060
Упор
181.58.30.270
Строение верхнее бункера
TORUM-785.45.02.000Ф
Устройства транспортирующие
TORUM-785.50.00.000Ф
Капоты
TORUM-785.56.00.000Ф
Капоты (верхняя часть)
TORUM-785.56.04.000Ф
Комплекты
TORUM-785.62.00.000Ф
Оборудование дополнительное
TORUM-785.77.00.000Ф
Автоматическая централизованная система смазки. Комплект составных частей.
181.00.89.000
Автоматическая централизованная система смазки. Комплект составных частей.
181.00.90.000
Высокоточный датчик уровня топлива
181.10.56.000
Ножи измельчителя
181.14.02.500
Приспособление для уборки риса и кукурузы к комбайну TORUM. Комплект сменных частей
181.01.11.000
Гребенка ножевая
181.01.01.110
Гребенка ножевая
181.01.01.110
Гребенка ножевая
181.01.01.110-01
Гребенка ножевая
181.01.01.110-01
Гребенка ножевая
181.01.01.110-02
Гребенка ножевая
181.01.01.110-02
Гребенка ножевая
181.01.01.110-03
Гребенка ножевая
181.01.01.110-03
Дека сменная
181.01.03.260
Дека сменная
181.01.03.260
Цепь
181.21.12.260
Цепь
181.28.05.570
Цепь
181.28.05.570
Дека сменная
181.71.16.600
Дека сменная
181.71.16.600
Дека сменная
181.71.16.650
Дека сменная
181.71.16.650
Гребенка
181.71.16.700
Гребенка
181.71.16.700
Приспособление для уборки риса к комбайну TORUM. Комплект сменных частей
181.01.12.000
Система автовождения
181.10.61.100
Система автовождения
181.10.61.100А
Система видеоконтроля
181.10.55.100
Система мониторинга урожайности
181.10.61.200
Система оценки влажности зерна
181.10.61.400
Система оценки влажности зерна
181.10.61.400
Система оценки возврата на домолот
181.10.50.500
Система оценки возврата на домолот
181.10.50.500
Система пожаротушения
181.00.34.000
Системы мониторинга урожайности и автовождения
181.10.61.000
Сузитель
181.14.10.300
Приспособление к камере наклонной комбайна TORUM для уборки кукурузы. Комплект сменных частей.
181.03.07.000
Упор противооткатный. Комплект составных частей.
142.00.15.500
Система идентификации навесного и прицепного оборудования
181.10.61.700-01
Система идентификации навесного и прицепного оборудования
181.10.61.700-02
Система идентификации оператора
181.10.61.600-01
Система идентификации оператора
181.10.61.600-02
Система идентификации транспортного средства для сельскохозяйственной техники
181.10.61.500-01
Система идентификации транспортного средства для сельскохозяйственной техники
181.10.61.500-02
Система компенсации продольного уклона 4D
181.10.62.200
Система компенсации продольного уклона 4D
181.10.62.200
Система мониторинга урожайности
181.10.61.200А
Система мониторинга урожайности
181.10.61.200А
Системы мониторинга урожайности и автовождения
181.10.61.000А
Монтажный комплект картирования урожайности
181.10.82.000
Комплект датчика ИЮТЛ.305622.002 ТУ
ДИЗЭ-01
Система переоборудования для уборки риса к комбайну TORUM
181.01.17.000
Комплект гусеничного хода для работы на переувлажненных почвах
181.02.21.000
Комплект гусеничного хода
TR_SET_F_RSM_762mm
Правая сторона ПГХ
6080159
Система видеоконтроля
181.10.55.600
Набор монтажный системы автовождения
181.10.66.000
Выберите узел для просмотра
Поиск по деталям узла Детали узла
Сроки доставки и цены будут отображаться после авторизации
Цены и корзина будут доступны после авторизации
| Поз. | Код | Чертежный номер | Кол-во позиций | Начало, дата | Окончание, дата | Наименование | ||||
|---|---|---|---|---|---|---|---|---|---|---|
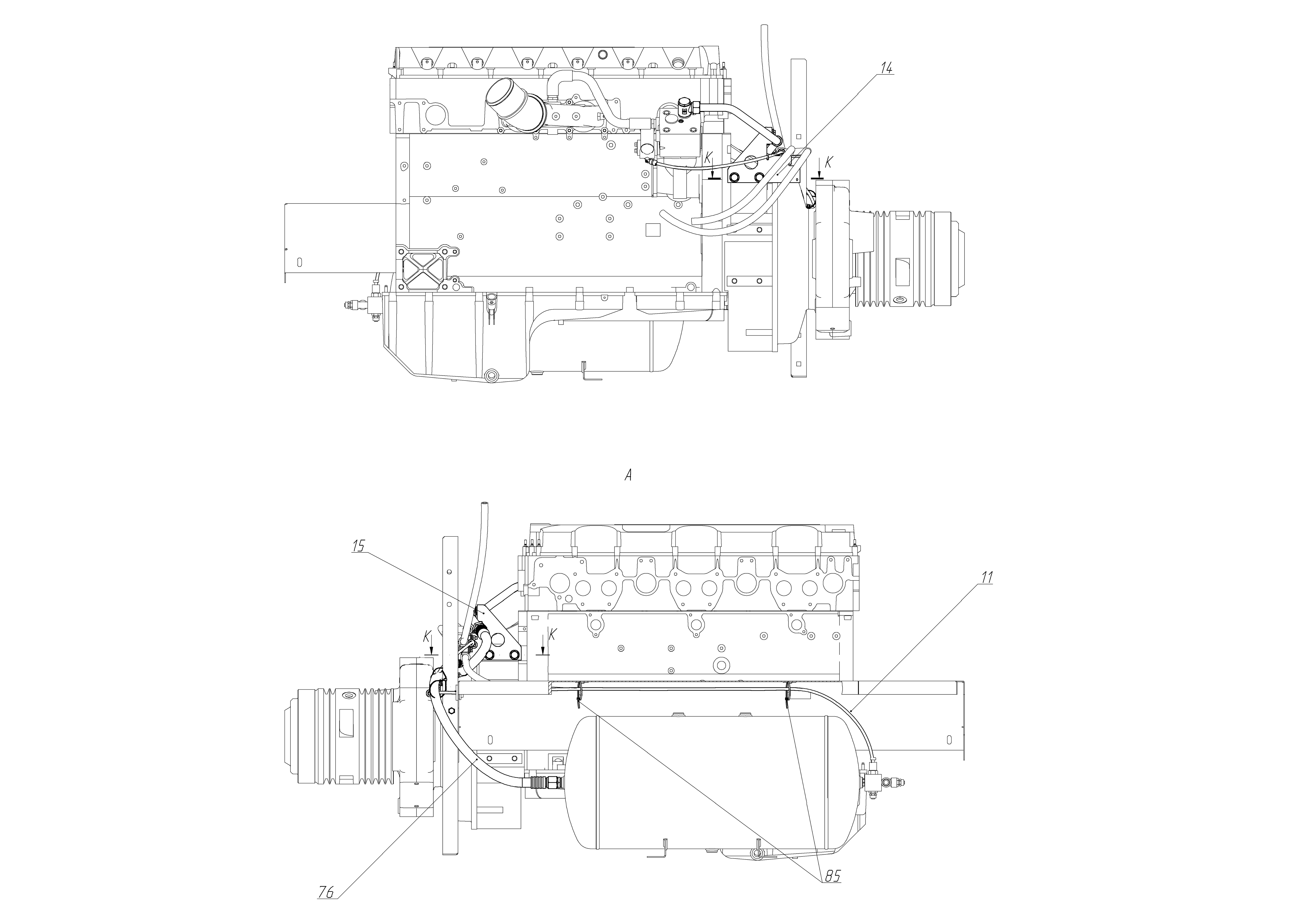
| 11 | 181.05.31.009 | 102127479 | 181.05.31.009 |
Номер позиции:
11
Кол-во позиций:
1
Начало, дата:
01.05.2016
Окончание, дата:
-
102127479 |
1 | 01.05.2016 | Трубка |
Корзина будет доступна
после авторизации |
||
| 14 | 181.05.31.415 | 102127494 | 181.05.31.415 |
Номер позиции:
14
Кол-во позиций:
1
Начало, дата:
01.05.2016
Окончание, дата:
-
102127494 |
1 | 01.05.2016 | Кронштейн |
Корзина будет доступна
после авторизации |
||
| 15 | 181.05.31.415-01 | 102127493 | 181.05.31.415-01 |
Номер позиции:
15
Кол-во позиций:
1
Начало, дата:
01.05.2016
Окончание, дата:
-
102127493 |
1 | 01.05.2016 | Кронштейн |
Корзина будет доступна
после авторизации |
||
| 76 | 1SN 20/2410 DKO(г)30x2 22 DKO(ш)30x2 22 | 102001182 | 1SN 20/2410 DKO(г)30x2 22 DKO(ш)30x2 22 |
Номер позиции:
76
Кол-во позиций:
1
Начало, дата:
01.05.2016
Окончание, дата:
-
102001182 |
1 | 01.05.2016 | РВД ТУ 4791-001-00166887-2002 |
Корзина будет доступна
после авторизации |
||
| 85 | 3,6х200 | 101880458 | 3,6х200 |
Номер позиции:
85
Кол-во позиций:
4
Начало, дата:
01.05.2016
Окончание, дата:
-
101880458 |
4 | 01.05.2016 | Хомут пластиковый |
Корзина будет доступна
после авторизации |
Позиция добавлена в корзину
Замещение
Замещение